MVIIF Parts list-Mechanical20101207 - 第163页
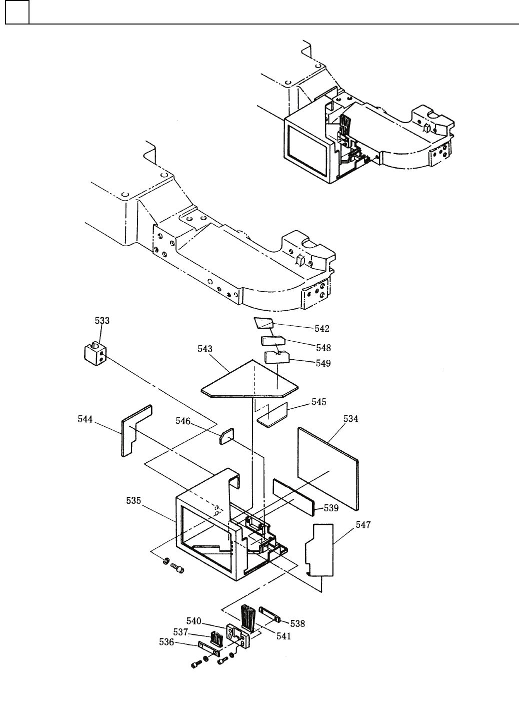
イラスト No. REF No. PART No. PART NAME REMAR KS Q'TY 15 カッタ部 (受皿検出取付部) CUTTER SECT .(SAUCER CHECK ER FASTENING ) 部 品 名 品 番 個数 備 考 1 1045225500 CUTTER UNIT カッターユニット 501 1 1042777514 BRACKET ブラケット 502 1 1042777515 BRACK…

カッタ部(受皿検出取付部)
CUTTER SECT.(SAUCER CHECKER FASTENING)
15
F10452-25-500
M145

イラスト
No.
REF
No.
PART No.
PART NAME
REMARKS
Q'TY
15
カッタ部(受皿検出取付部)
CUTTER SECT.(SAUCER CHECKER FASTENING)
部 品 名 品 番 個数
備 考
1 1045225500
CUTTER UNIT カッターユニット
501
1
1042777514
BRACKET ブラケット
502
1
1042777515
BRACKET ブラケット
503 1 1045225503
TRAY トレイ
504 1 1042777522
SUPPORTER サポ
ーター
505
1
1042777523
SUPPORTER サポーター
N 1
4
XST5+10FT
TRUSS HEAD SCREW トラスコネジ M5X10,+,STEEL,T.T.C
N 2 1 N980C300EG55
GASKET カ
゙スケット
C-300-EG-5-5
M146
F10452-25-500

カッタ 部(不良排出ボックス部)
CUTTER SECT.(DUST BOX)
15
F10427-77-530-AI
M147