MVIIF Parts list-Mechanical20101207 - 第168页
基板認識部 P.C.B. RECO GNITION SECT. 17 F10427-24-000-AH M151

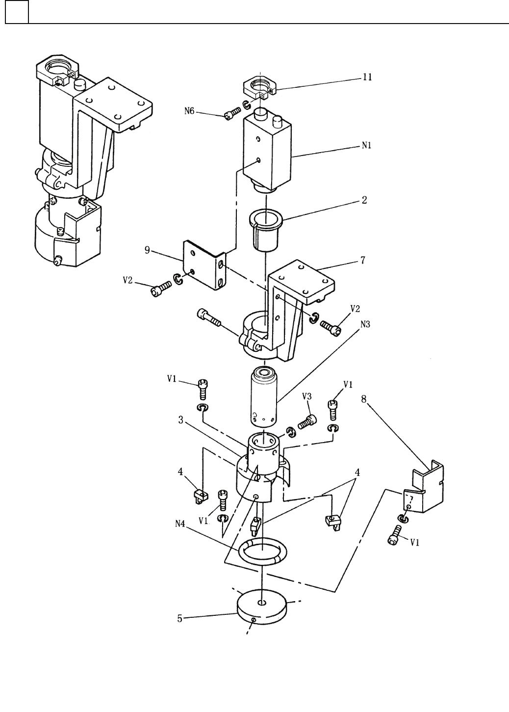
イラスト
No.
REF
No.
PART No.
PART NAME
REMARKS
Q'TY
16
集塵ボックス部
DUST COLLECTOR BOX SECT.
部 品 名 品 番 個数
備 考
1 1042723000
DUST COLLECTOR BOX UNIT シュウシ
゙ンボックスユニット
1
1
1042723001
TANK タンク
2
1
1022422122
PLATE プレート
3 1 1042723003
DUST BOX タ
゙ストボックス
4 1 1042723004
DOOR トヒ
゙ラ
5
1
102242212501
CASE(FILTER) ケース(フィルタ)
6
4
1022422126
BAR(FILTER) オサエ(フィルタ)
7 1 1022413221
DUCT タ
゙クト
8 1 1022422130
PLATE プレート
9
1
102242213101
FILTER フィルタ
10 1 102242213501
FLANGE フランジ
11 1 1022478040
SPACER スヘ
゚ーサ
12
1
1022478041
SPACER スペーサ
N 1
1
N980A432
DRAWER PULL トッテ A-43-2
N 2 1 N935U752
BLOWER ソウフウキ U75-2
N 3 6 XSS3+6FY
FLUSH HEAD SCREW サラコネシ
゙
M3X6,+,STEEL,Z.C.T
N 4
2
N980C72
CATCH CLIP キャッチクリップ C-7-2
N 5
1
N935DT65T
DUCT ダクト DT65,CLEAR
N 6 1 N9353X
BAND ホースバンド 3X
N 7 1 N935DT125H
DUCT タ
゙クト
DT125,GRAY
N 8
2
N9356X
BAND バンド 6X
N 9
4
XVE3B6FY
HEX. SOCKET HEAD CAP BOLT ロッカクアナツキボルト M3X6,STEEL,Z.C.T
N10 1 N986MBM1-164
SPONGE スホ
゚ンジ
MBM1X10X1200
M150
F10427-23-000-AD

基板認識部
P.C.B. RECOGNITION SECT.
17
F10427-24-000-AH
M151

イラスト
No.
REF
No.
PART No.
PART NAME
REMARKS
Q'TY
17
基板認識部
P.C.B. RECOGNITION SECT.
部 品 名 品 番 個数
備 考
1 1042724000
P.C.B.RECOGNITION SECT. キバ
ンニンシキユニット
2
1
101851700101
COLLAR カラー
3
1
1018517019
FLANGE フランジ
4 3 1018517021
HOOK フック
5 1 1018517020
PLATE プレート
7
1
104272400704
BRACKET ブラケット
8
1
1022117016
COVER カバー
9 1 104272400901
BRACKET フ
゙ラケット
11 1 1044357968
HOLDER ホルタ
゙
N 1
1
N940GPMF102K
CAMERA カメラ GP-MF102K
N 3 1 N94199YA
LENS レンズ 99YA
N 4 1 N942P947FUBL
FLUORESCENT LAMP ケイコウトウ P947-FUB-L
N 6
1
XVE25B16FP
HEX. SOCKET HEAD CAP BOLT ロッカクアナツキボルト M2.5X16,STEEL,P.C
V 1
5
XVE3B5FP
HEX. SOCKET HEAD CAP BOLT ロッカクアナツキボルト M3X5,STEEL,P.C
V 2 4 XVE4B6FP
HEX. SOCKET HEAD CAP BOLT ロッカクアナツキボルト M4X6,STEEL,P.C
V 3 4 XVE4B8FP
HEX. SOCKET HEAD CAP BOLT ロッカクアナツキホ
゙ルト
M4X8,STEEL,P.C
M152
F10427-24-000-AH