MVIIF Parts list-Mechanical20101207 - 第186页
大型部品検 出部 LARGEMOLD P ARTS CHECKER S ECT. 22 F10427-32-100-AB M169

イラスト
No.
REF
No.
PART No.
PART NAME
REMARKS
Q'TY
21
シャッタ浮き検出部
FLOAT OF SHUTTER CHECKER SECT.
部 品 名 品 番 個数
備 考
1 1042731000
FLOAT OF SHUTTER CHECKER シャッタウキケンシュツユニット
1
1
102243100102
FLANGE POST フランジポスト
2
1
104273100203
FLANGE POST フランジポスト
3 2 1042731003
SPRING ハ
゙ネ
N 1 2 N300AZ8469
SWITCH スイッチ AZ8469
M168
F10427-31-000-AB

大型部品検出部
LARGEMOLD PARTS CHECKER SECT.
22
F10427-32-100-AB
M169

イラスト
No.
REF
No.
PART No.
PART NAME
REMARKS
Q'TY
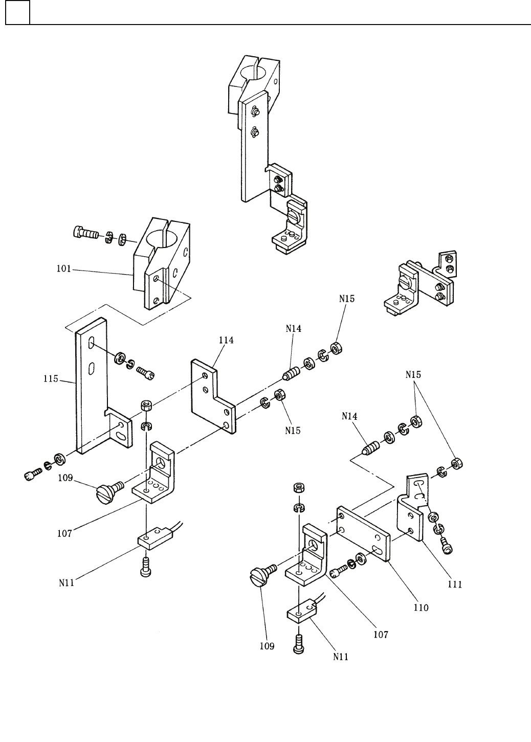
22
大型部品検出部
LARGEMOLD PARTS CHECKER SECT.
部 品 名 品 番 個数
備 考
N11 1 N310E3CS30T
SENSOR センサ E3C-S30T
N14
2
N984BST4
PLUNGER ボールプランジャ BST4
N15
4
XNG4AFP
HEXAGON NUT ロッカクナット M4,1-TYPE,STEEL,P.C
1 1042732100
LARGE-MOLD PARTS CHECKER UN オオカ
゙タブヒンケンシュツユニット
101 1 1042732001
BRACKET ブラケット
107
2
104273210702
BRACKET ブラケット
109
2
104273210901
PIN ピン
110 1 1042732110
BRACKET フ
゙ラケット
111 1 1042732111
BRACKET ブラケット
114
1
1042732114
BRACKET ブラケット
115 1 1042732115
BRACKET ブラケット
M170
F10427-32-100-AB