MVIIF Parts list-Mechanical20101207 - 第38页
X-Yテ ーブル部(テ ーブル部 ) X-Y TABLE S ECT.(TABLE SEC T.) 3 F10427-48-000-AK_A -5 M13

イラスト
No.
REF
No.
PART No.
PART NAME
REMARKS
Q'TY
3
X-Yテーブル部(ポジショナ部)
X-Y TABLE SECT.(POSITIONER SECT.)
部 品 名 品 番 個数
備 考
V10 4 XVE4B8FP
HEX. SOCKET HEAD CAP BOLT ロッカクアナツキホ
゙ルト
M4X8,STEEL,P.C
V11
4
XVE4B10FP
HEX. SOCKET HEAD CAP BOLT ロッカクアナツキボルト M4X10,STEEL,P.C
V15
4
XVE4B20FP
HEX. SOCKET HEAD CAP BOLT ロッカクアナツキボルト M4X20,STEEL,P.C
M14
F10427-48-000-AK_A-4

X-Yテーブル部(テーブル部)
X-Y TABLE SECT.(TABLE SECT.)
3
F10427-48-000-AK_A-5
M13

イラスト
No.
REF
No.
PART No.
PART NAME
REMARKS
Q'TY
3
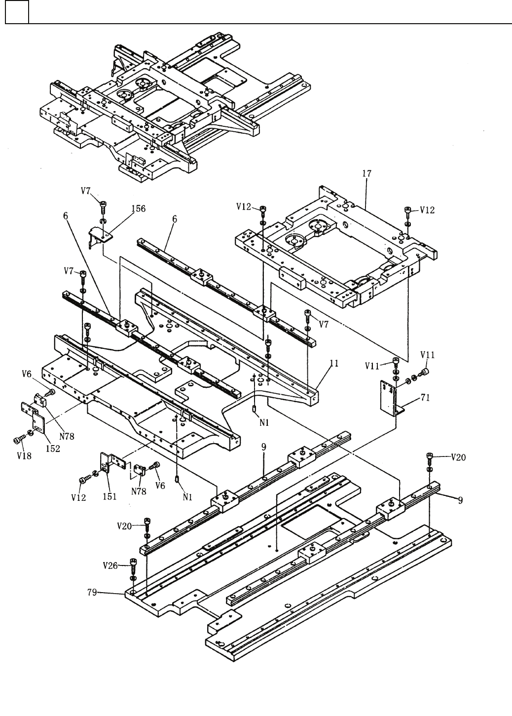
X-Yテーブル部(テーブル部)
X-Y TABLE SECT.(TABLE SECT.)
部 品 名 品 番 個数
備 考
6 2 102300451501
LINEAR MOTION UNIT(X) リニアモーションユニット
(X)
9
2
102300450202
LINEAR MOTION UNIT(Y) リニアモーションユニット(Y)
11
1
102664801105
TABLE(Y) テーブル(Y)
17 1 102664801704
TABLE(X) テーフ
゙ル(X)
71 1 102595407101
BRACKET ブラケット
79
1
1026648079
BASE(TABLE) ベース(テーブル)
151
1
1041048805
BRACKET ブラケット
152 1 1041048806
BRACKET フ
゙ラケット
156 1 1026671875
DOG FOR SENSOR センサト
゙グ
N 1
2
XPJ6A16FW
PARALLEL PIN ヘイコウピン 6X16,m6A,STEEL
N78 2 N300V2151C6
SWITCH スイッチ V-215-1C6
V 6 4 XVE3B15FP
HEX. SOCKET HEAD CAP BOLT ロッカクアナツキホ
゙ルト
M3X15,STEEL,P.C
V 7
24
XVE3B16FP
HEX. SOCKET HEAD CAP BOLT ロッカクアナツキボルト M3X16,STEEL,P.C
V11
4
XVE4B10FP
HEX. SOCKET HEAD CAP BOLT ロッカクアナツキボルト M4X10,STEEL,P.C
V12 18 XVE4B12FP
HEX. SOCKET HEAD CAP BOLT ロッカクアナツキボルト M4X12,STEEL,P.C
V18 4 XVE5B14FP
HEX. SOCKET HEAD CAP BOLT ロッカクアナツキホ
゙ルト
M5X14,STEEL,P.C
V20
30
XVE5B16FP
HEX. SOCKET HEAD CAP BOLT ロッカクアナツキボルト M5X16,STEEL,P.C
V26
8
XVE8B20FP
HEX. SOCKET HEAD CAP BOLT ロッカクアナツキボルト M8X20,STEEL,P.C
M14
F10427-48-000-AK_A-5