MVIIF Parts list-Mechanical20101207 - 第44页
X-Yテーブル部 (プリント基板サホ ゚ート昇降部 ) X-Y TABLE S ECT.(P.C.B.SUP PORT LIFT SE CT.) 3 F10427-48-000-AK_A -8 M13

イラスト
No.
REF
No.
PART No.
PART NAME
REMARKS
Q'TY
3
X-Yテーブル部(レール部2)
X-Y TABLE SECT.(RAIL SECT.-2)
部 品 名 品 番 個数
備 考
58 1 102664896201
RAIL レール
60
1
102664806001
RAIL レール
61
2
102380409301
PIN ピン
62 2 1023804090
SPRING ハ
゙ネ
63 2 1023804091
COLLAR カラー
65
1
102664896101
RAIL レール
75
1
1023804068
PULLEY プーリー
76 2 1026648076
BLOCK フ
゙ロック
83 2 102664808301
RAIL レール
101
1
1026648101
PIN ピン
102 1 1026648102
COLLAR カラー
105 1 1025854117
PIN ヒ
゚ン
106
1
1025854116
PIN ピン
107
1
1025854114
PIN ピン
108 1 1023804132
SPRING バネ
109 1 102585411501
PLATE フ
゚レート
110
1
102380409901
PLATE プレート
114
1
1023804125
ROLLER ローラ
115 1 1023804126
COLLAR カラー
127 1 102664812701
BRACKET フ
゙ラケット
129
1
102664812901
BRACKET ブラケット
130
1
1026648130
BRACKET ブラケット
149 1 102664892602
BRACKET フ
゙ラケット
150 1 102664892702
BRACKET フ
゙ラケット
165
5
102664896501
SPRING バネ
N12 2 N513SMA4G
BUSHING ブッシング SMA4G
N27 1 M4RA1G4L
MOTOR モータ M4RA1G4L
N29
1
M4GA6F
GEAR HEAD ギヤーヘッド M4GA6F
N48
1
XLCNMR104ZZ
BALL BEARING ボールベアリング MR104ZZ
N52 4 XVEN4M8FPZ
HEX. SOCKET BUTTON HEAD BOL ロッカクアナツキボタンボルト M4X8,STEEL,P.C
N55 2 XXE3D6FP
HEX. SOCKET SET SCREW ロッカクアナツキトメネシ
゙
M3X6,STEEL,P.C
N62
1
N310P914C
SENSOR フォトマイクロセンサ P914C
N63
1
N310P914A
SENSOR フォトマイクロセンサ P914A
N69 2 XXE3D8FP
HEX. SOCKET SET SCREW ロッカクアナツキトメネジ M3X8,STEEL,P.C
N84 5 N986YYYY-490
SCREW ネジ(ゴクテイトウロッカクアナツキ
)
SP4X8BN1206-1.0
N88
1
N648MB011000
PULLEY(TENSION) プーリー(テンション) MB011000
N89
2
N648MB012000
PULLEY プーリー MB012000
N91 1 N641F1304
BELT ヘ
゙ルト
F-0 4.5WX1304
V 2 4 XVE3B5FP
HEX. SOCKET HEAD CAP BOLT ロッカクアナツキホ
゙ルト
M3X5,STEEL,P.C
V 5
12
XVE3B10FP
HEX. SOCKET HEAD CAP BOLT ロッカクアナツキボルト M3X10,STEEL,P.C
V 8 2 XVE4B5FP
HEX. SOCKET HEAD CAP BOLT ロッカクアナツキボルト M4X5,STEEL,P.C
V10 2 XVE4B8FP
HEX. SOCKET HEAD CAP BOLT ロッカクアナツキホ
゙ルト
M4X8,STEEL,P.C
M14
F10427-48-000-AK_A-7

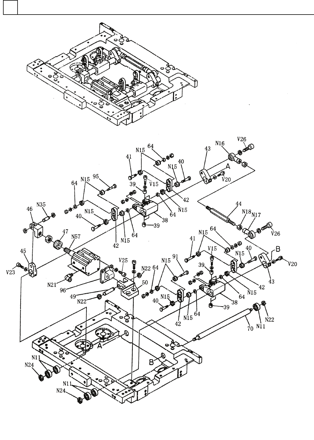
X-Yテーブル部(プリント基板サポート昇降部)
X-Y TABLE SECT.(P.C.B.SUPPORT LIFT SECT.)
3
F10427-48-000-AK_A-8
M13

イラスト
No.
REF
No.
PART No.
PART NAME
REMARKS
Q'TY
3
X-Yテーブル部(プリント基板サポート昇降部)
X-Y TABLE SECT.(P.C.B.SUPPORT LIFT SECT.)
部 品 名 品 番 個数
備 考
38 2 102664803801
LEVER レハ
゙ー
39
4
1999503001
COTTER コッタ
40
4
1023004538
PIN ピン
41 2 1023004540
PIN ヒ
゚ン
42 4 1023004539
LINK リンク
43
2
102300454202
LEVER レバー
44
1
1026640044
BAR バー
45 1 102300454403
LEVER レハ
゙ー
46 1 1026640046
BLOCK ブロック
47
1
1026640047
STOPPER ストッパー
49 1 1026640049
PIN ピン
50 1 1026640050
BLOCK フ
゙ロック
64
8
1023004564
COLLAR カラー
70
2
102664007002
SHAFT シャフト
91 1 1023804154
PIN ピン
95 1 1023004541
PIN ヒ
゚ン
96
1
102664009601
JOINT ジョイント
N11
6
XLC6900ZZ
BALL BEARING ボールベアリング 6900ZZ
N15 16 XLCNF686ZZ
BALL BEARING ボールベアリング F686ZZ
N16 1 N533PHS8
ROD END ロット
゙エンド
PHS8
N17
1
N533PHS8L
ROD END ロッドエンド PHS8L
N18
1
XNGN8DFPL
HEXAGON NUT ロッカクナット M8,1-TYPE,STEEL,P.C (L.H.T
N21 2 N431PL401M
FITTING ツキ
゙テ
PL4-01M
N22 4 XUB10FP
RETAINING RING C-TYPE C カ
゙タジクヨウトメワ
10,STEEL,P.C
N24
2
XNRNFU00SUS
LOCK-NUT ロックナット FU00SUS
N35 1 N401CDS02
PIN ピン CD-S02
N57 1 N403SSDL-123
CYLINDER シリンタ
゙
SSD-L-40-25-T0H-D-N
V15
4
XVE4B20FP
HEX. SOCKET HEAD CAP BOLT ロッカクアナツキボルト M4X20,STEEL,P.C
V20
2
XVE5B16FP
HEX. SOCKET HEAD CAP BOLT ロッカクアナツキボルト M5X16,STEEL,P.C
V23 1 XVE6B16FP
HEX. SOCKET HEAD CAP BOLT ロッカクアナツキボルト M6X16,STEEL,P.C
V25 4 XVE6B20FP
HEX. SOCKET HEAD CAP BOLT ロッカクアナツキホ
゙ルト
M6X20,STEEL,P.C
V26
2
XVE8B20FP
HEX. SOCKET HEAD CAP BOLT ロッカクアナツキボルト M8X20,STEEL,P.C
M14
F10427-48-000-AK_A-8