MVIIF Parts list-Mechanical20101207 - 第47页
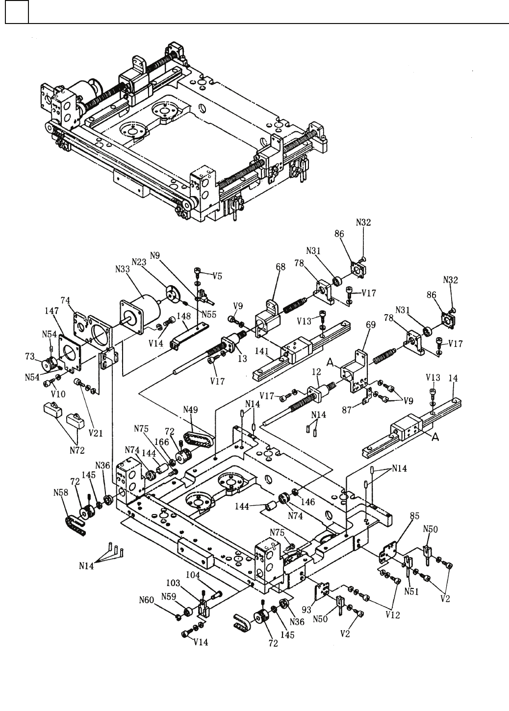
イラスト No. REF No. PART No. PART NAME REMAR KS Q'TY 3 X-Yテーブル 部(自動幅寄部 ) X-Y TABLE S ECT.(AUTO POSI TION CONTROL SECT.) 部 品 名 品 番 個数 備 考 12 1 102664801203 BALL SCREW ボ ールネジ 13 1 104274801301 BALL SCREW ボールネジ 14 1 …

X-Yテーブル部(自動幅寄部)
X-Y TABLE SECT.(AUTO POSITION CONTROL SECT.)
3
F10427-48-000-AK_A-9
M13

イラスト
No.
REF
No.
PART No.
PART NAME
REMARKS
Q'TY
3
X-Yテーブル部(自動幅寄部)
X-Y TABLE SECT.(AUTO POSITION CONTROL SECT.)
部 品 名 品 番 個数
備 考
12 1 102664801203
BALL SCREW ボ
ールネジ
13
1
104274801301
BALL SCREW ボールネジ
14
1
102664001403
LINEAR MOTION UNIT リニアモーションユニット
68 1 102664806802
HOUSING ハウシ
゙ング
69 1 102664806901
HOUSING ハウシ
゙ング
72
3
102664807201
PULLEY プーリー
73
1
102664807301
PULLEY プーリー
74 1 102664807404
BRACKET フ
゙ラケット
78 2 1026648078
BRACKET ブラケット
85
1
102664808502
PLATE プレート
86 2 1023004611
PLATE プレート
87 1 102664808703
SLIT スリット
93
1
102664809302
PLATE プレート
103
2
102664810301
PLATE プレート
104 2 102664810402
PIN ピン
141 1 102664814101
LINEAR MOTION UNIT リニアモーションユニット
144
2
102664890301
COLLAR カラー
145
2
102664890401
COLLAR カラー
146 1 102664814601
COLLAR カラー
147 1 1026648147
PLATE フ
゚レート
148
1
1026648148
BRACKET ブラケット
166
1
1042748166
COLLAR カラー
N 9 1 N310P921B1
SENSOR センサ P921B-1
N14 9 XPJ4A10FW
PARALLEL PIN ヘイコウヒ
゚ン
4X10,m6A,STEEL
N23
1
N648MPF4-022
FLANGE フランジ MPF-40-D6.35
N31 2 XLC698ZZ
BALL BEARING ボールベアリング 698ZZ
N32 8 N986YYYY-159
BOLT ロッカクアナツキサラホ
゙ルト
M3X8
N33
1
N606PH26601B
MOTOR モータ PH266-01B
N36
2
XLCN688ZZ
BALL BEARING ボールベアリング 688ZZ
N49 1 N6411503M6
BELT(TIMING) ベルト(タイミング) 150-3M-6
N50 2 N310P914B1
SENSOR センサ P914B-1
N51
1
N310P9141
SENSOR センサ P914-1
N54
4
XXE4D8FP
HEX. SOCKET SET SCREW ロッカクアナツキトメネジ M4X8,STEEL,P.C
N55 1 XXE3D6FP
HEX. SOCKET SET SCREW ロッカクアナツキトメネジ M3X6,STEEL,P.C
N58 1 N6418583GT6
BELT(TIMING) ベルト(タイミンク
゙)
858-3GT-6
N59
2
N531NART6R
ROLLER FOLLOWER ローラフォロア NART6R
N60
2
XUC4FP
RETAINING RING E-TYPE E ガタトメワ 4,STEEL,P.C
N72 2 M0PC3917
CAP FOR CAPACITOR コンテ
゙ンサキャップ
MOPC3917
N74 2 XLLNSF80-038
BALL BEARING ボールヘ
゙アリング
SF802DB/GNP4
N75
4
XST3+6FY
TRUSS HEAD SCREW トラスコネジ M3X6,+,STEEL,Z.C.T
V 2 3 XVE3B5FP
HEX. SOCKET HEAD CAP BOLT ロッカクアナツキボルト M3X5,STEEL,P.C
V 5 2 XVE3B10FP
HEX. SOCKET HEAD CAP BOLT ロッカクアナツキホ
゙ルト
M3X10,STEEL,P.C
V 9
10
XVE4B6FP
HEX. SOCKET HEAD CAP BOLT ロッカクアナツキボルト M4X6,STEEL,P.C
V10
2
XVE4B8FP
HEX. SOCKET HEAD CAP BOLT ロッカクアナツキボルト M4X8,STEEL,P.C
V12 4 XVE4B12FP
HEX. SOCKET HEAD CAP BOLT ロッカクアナツキボルト M4X12,STEEL,P.C
V13 10 XVE4B14FP
HEX. SOCKET HEAD CAP BOLT ロッカクアナツキホ
゙ルト
M4X14,STEEL,P.C
V14
8
XVE4B16FP
HEX. SOCKET HEAD CAP BOLT ロッカクアナツキボルト M4X16,STEEL,P.C
V17
8
XVE5B12FP
HEX. SOCKET HEAD CAP BOLT ロッカクアナツキボルト M5X12,STEEL,P.C
V21 3 XVE5B18FP
HEX. SOCKET HEAD CAP BOLT ロッカクアナツキボルト M5X18,STEEL,P.C
M14
F10427-48-000-AK_A-9

X-Yテーブル部(配線配管部)
X-Y TABLE SECT.(WIRING AND PIPING SECT.)
3
F10427-48-200-AH-1
M31