MVIIF Parts list-Mechanical20101207 - 第74页
メイン駆動部 (1) MAIN DRIVIN G SECT.(1) 5 F10427-08-500-AH_A -1 M57

イラスト
No.
REF
No.
PART No.
PART NAME
REMARKS
Q'TY
4
ローダ・アンローダ(プーリ部)
LOADER & UNLOADER(PULLEY SECT.)
部 品 名 品 番 個数
備 考
1 1099705960
PULLEY UNIT プ
ーリーユニット
BELT T=0.7
N 1
8
N648MB015000
PULLEY(TENSION) プーリー(テンション) MB015000
M56
F10997-05-960

メイン駆動部(1)
MAIN DRIVING SECT.(1)
5
F10427-08-500-AH_A-1
M57

イラスト
No.
REF
No.
PART No.
PART NAME
REMARKS
Q'TY
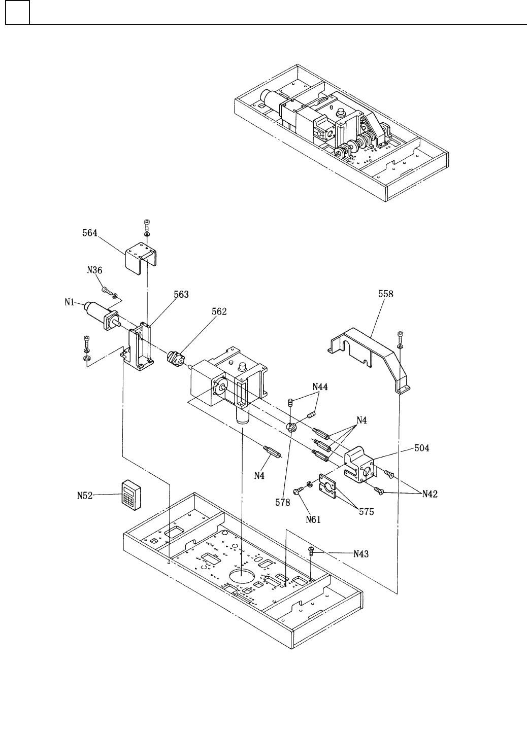
5
メイン駆動部(1)
MAIN DRIVING SECT.(1)
部 品 名 品 番 個数
備 考
1 1042708500
MAIN DRIVING UNIT メインクト
゙ウユニット
504
1
102810800408
COVER カバー
558
1
104270805803
COVER(BELT) カバー(ベルト)
562 1 1042708062
COUPLING カッフ
゚リング
563 1 104270806302
BRACKET(MOTOR) ブラケット
(モータ)
564
1
1042708064
COVER カバー
575
1
1042708075
COVER カバー
578 1 1042708078
GEAR キ
゙ヤー
N 1 1 MDM402D2C
MOTOR モータ MDM402D2C
N 4
4
N986LSBG-404
SCREW ロッカクタイプシチュウ LSBG10-110-M6-N5
N36 8 XVE12B35FP
HEX. SOCKET HEAD CAP BOLT ロッカクアナツキボルト M12X35,STEEL,P.C
N42 4 XSS5+12FY
FLUSH HEAD SCREW サラコネシ
゙
M5X12,+,STEEL,Z.C.T
N43
6
XST4+8FY
TRUSS HEAD SCREW トラスコネジ M4X8,+,STEEL,Z.C.T
N44
2
XXE6C10FP
HEX. SOCKET SET SCREW ロッカクアナツキトメネジ M6X10,STEEL,P.C
N52 1 N1P610CT2
TIMING CONTROLLER W/ENCODER ヒカリサイクルタイマ P610-CT-2
N61 4 XST4+8FZ
TRUSS HEAD SCREW トラスコネシ
゙
M4X8,+,STEEL,Z.B.P
M58
F10427-08-500-AH_A-1