MVIIF Parts list-Mechanical20101207 - 第85页
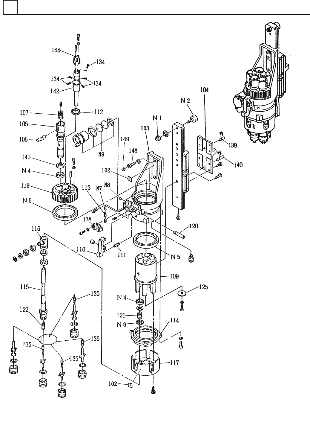
イラスト No. REF No. PART No. PART NAME REMAR KS Q'TY 6 主軸部 MAIN AXIS S ECT. 部 品 名 品 番 個数 備 考 1 1042709000 MAIN AXIS UNI T シュシ ゙クユニット 1 1 104270900104 REDUCTION GEA R ゲンソクキ 3 1 104270900303 CAM カム 4 1 104270900404 SLID…

主軸部
MAIN AXIS SECT.
6
F10427-09-000-AJ
M67

イラスト
No.
REF
No.
PART No.
PART NAME
REMARKS
Q'TY
6
主軸部
MAIN AXIS SECT.
部 品 名 品 番 個数
備 考
1 1042709000
MAIN AXIS UNIT シュシ
゙クユニット
1
1
104270900104
REDUCTION GEAR ゲンソクキ
3
1
104270900303
CAM カム
4 1 104270900404
SLIDE RETAINER スライト
゙リテーナー
5 1 104270900507
SLIDER スライタ
゙
6
1
104270900604
SLIDE RETAINER スライドリテーナー
7
1
104270900707
SLIDER スライダ
8 1 104270900802
SLIDE RETAINER スライト
゙リテーナー
9 1 104270900904
ADAPTOR アダ
プタ
10
1
104270901003
CONNECTOR コネクタ
11 12 104270901102
CLAMP PIECE クランプビース
12 1 1042777871
PIPE ハ
゚イプ
13
1
1042709013
BRACKET ブラケット
14
1
104270901401
TUBE(FLAT) チューブ(フラット)
15 12 1042709015
TUBE チューブ
N 3 1 XLBN6817VV
BALL BEARING ボールヘ
゙アリング
6817VV
N 5
12
N986MS415
PARALLEL PIN ヘイコウピン MS4-15
N 6
24
N431P0C4M6M
FITTING ツギテ POC4-M6M
N10 4 XWB12BFP
SPRING WASHER バネザガネ 12,2-TYPE,STEEL,P.C
N11 2 XVE12B60FP
HEX. SOCKET HEAD CAP BOLT ロッカクアナツキホ
゙ルト
M12X60,STEEL,P.C
N12
2
XVE12B45FP
HEX. SOCKET HEAD CAP BOLT ロッカクアナツキボルト M12X45,STEEL,P.C
N13
8
XVE8B20FP
HEX. SOCKET HEAD CAP BOLT ロッカクアナツキボルト M8X20,STEEL,P.C
N14 8 XVE8B25FP
HEX. SOCKET HEAD CAP BOLT ロッカクアナツキホ
゙ルト
M8X25,STEEL,P.C
N15 24 XVE5B55FP
HEX. SOCKET HEAD CAP BOLT ロッカクアナツキホ
゙ルト
M5X55,STEEL,P.C
N16
6
XVE4B10FP
HEX. SOCKET HEAD CAP BOLT ロッカクアナツキボルト M4X10,STEEL,P.C
N17 2 XVE4B30FP
HEX. SOCKET HEAD CAP BOLT ロッカクアナツキボルト M4X30,STEEL,P.C
N18 4 XVE3B10FP
HEX. SOCKET HEAD CAP BOLT ロッカクアナツキホ
゙ルト
M3X10,STEEL,P.C
N24
2
N433MSWZ18
PLUG プラグ MSWZ18
N25
1
N986SWM1675
SPRING バネ SWM16-75
N26 1 N986SWL1670
SPRING バネ SWL16-70
N27 1 N431106421
FITTING ツキ
゙テ
106421
N28
2
N431106252
FITTING ツギテ 106252
N29
2
N431106254
SLEEVE スリーブ 106254
N30 1 N431106082
FITTING ツギテ 106082
N31 1 N560N016-064
GREASE NIPPLE グリースニッフ
゚ル
No.106 PT1/8 SS400
N32
1
N431106147
CONNECTOR コネクタ 106147
N33
1
N560N011-015
GREASE NIPPLE グリースニップル No.112 M6.0X1.0SS41
N34 2 XXE4C4FP
HEX. SOCKET SET SCREW ロッカクアナツキトメネシ
゙
M4X4,STEEL,P.C
N35 4 N986YYYY-792
BOLT ボ
ルト
M4X10
M68
F10427-09-000-AJ

ノズル部
NOZZLE SECT.
7
F10427-10-100-BC-1
M69