MVIIF Parts list-Mechanical20101207 - 第98页
部品供給部( 共通部1) FEEDER CARR IAGE SECT.(COM MON SECT.-1) 9 F10266-50-500-AN-1 M81

イラスト
No.
REF
No.
PART No.
PART NAME
REMARKS
Q'TY
8
バルブ制御部
VALVE CONTROL SECT.
部 品 名 品 番 個数
備 考
N79 12 N413MDV2-079
VALVE ハ
゙ルブ
MDV234-RL7C
N80
3
XPL15A20WFW
SPRING PIN スプリングピン 1.5X20,STEEL
N81
4
XVE2B6FT
HEX. SOCKET HEAD CAP BOLT ロッカクアナツキボルト M2X6,STEEL,T.T.C
N82 4 XWA2BFP
SPRING WASHER ハ
゙ネザガネ
2,2-TYPE,STEEL,P.C
M78
F10427-11-100-AJ-2

部品供給部(共通部1)
FEEDER CARRIAGE SECT.(COMMON SECT.-1)
9
F10266-50-500-AN-1
M81

イラスト
No.
REF
No.
PART No.
PART NAME
REMARKS
Q'TY
9
部品供給部(共通部1)
FEEDER CARRIAGE SECT.(COMMON SECT.-1)
部 品 名 品 番 個数
備 考
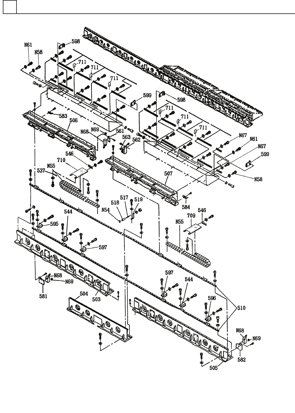
1 1026650500
FEEDER CARRIAGE UNIT ブヒンキョウキュウユニット
503
1
102585050304
RIGHT FRAME フレーム(RIGHT)
504
1
102585000403
FRAME フレーム
505 1 102585050504
LEFT FRAME フレーム
(LEFT)
506 1 102665050602
FRAME(MOVING) フレーム(
イドウ)
507
1
102665050702
FRAME(MOVING) フレーム(イドウ)
510
2
1023050010
LINEAR MOTION UNIT リニアモーションユニット
517 1 1021040015
SHAFT シャフト
518 1 1021040016
ROLLER ローラ
519
1
102104001704
BRACKET ブラケット
537 1 102305003702
DOG FOR SENSOR センサドグ
544 2 1022407030
BRACKET フ
゙ラケット
546
2
1026650046
BRACKET(CONNECTOR) ブラケット(コネクタ)
561
1
1026671831
BRACKET ブラケット
562 1 1026671832
BRACKET ブラケット
563 1 1023801108
DOG FOR SENSOR センサト
゙グ
581
1
1026671801
BRACKET ブラケット
582
1
102667180201
PLATE プレート
583 1 1026671803
DOG FOR SENSOR センサドグ
584 1 1026671804
DOG FOR SENSOR センサト
゙グ
595
1
1026650595
BRACKET ブラケット
596
1
1026650596
BRACKET ブラケット
597 2 1026650597
BRACKET フ
゙ラケット
598 2 102665059801
BRACKET フ
゙ラケット
599
2
102665059901
BRACKET ブラケット
709 1 1045250082
BRACKET ブラケット
710 1 1045250083
BRACKET フ
゙ラケット
711
6
1044350072
PLATE プレート
N54
1
XUB10FP
RETAINING RING C-TYPE C ガタジクヨウトメワ 10,STEEL,P.C
N55 2 N98625.2-145
FLEXIBLE DUCT フレキシブルダクト 25.2-055-2300-200.1
N58 8 XVEN6M12FPZ
HEX. SOCKET BUTTON HEAD BOL ロッカクアナツキホ
゙タンボルト
M6X12,STEEL,P.C
N61
12
XVEN4M8FYZ
HEX. SOCKET BUTTON HEAD BOL ロッカクアナツキボタンボルト M4X8,STEEL,Z.C.T
N67
56
XVEN4M15FPZ
HEX. SOCKET BUTTON HEAD BOL ロッカクアナツキボタンボルト M4X15,STEEL,P.C
N68 3 N300D4B2111N
SWITCH スイッチ D4B-2111N
N69 3 N300SC1M
CONNECTOR コネクタ SC-1M
M82
F10266-50-500-AN-1