Assemblys barcode_20211123_071417 - 第17页
Assemblys barcode Page 17 / 21 23.11.2021 Pos. Item no. Description Part marking 00519884-01 MOUNTING KIT PCB-BARCODE MECH. SC SX1/2 2 03078742-02 ASSEMBLY MECHANICS BC SC SX1/2 3 03071840-02 ASSEMBLY INNER BARCODE ADJUS…

Assemblys barcode
Page 16 / 21 23.11.2021

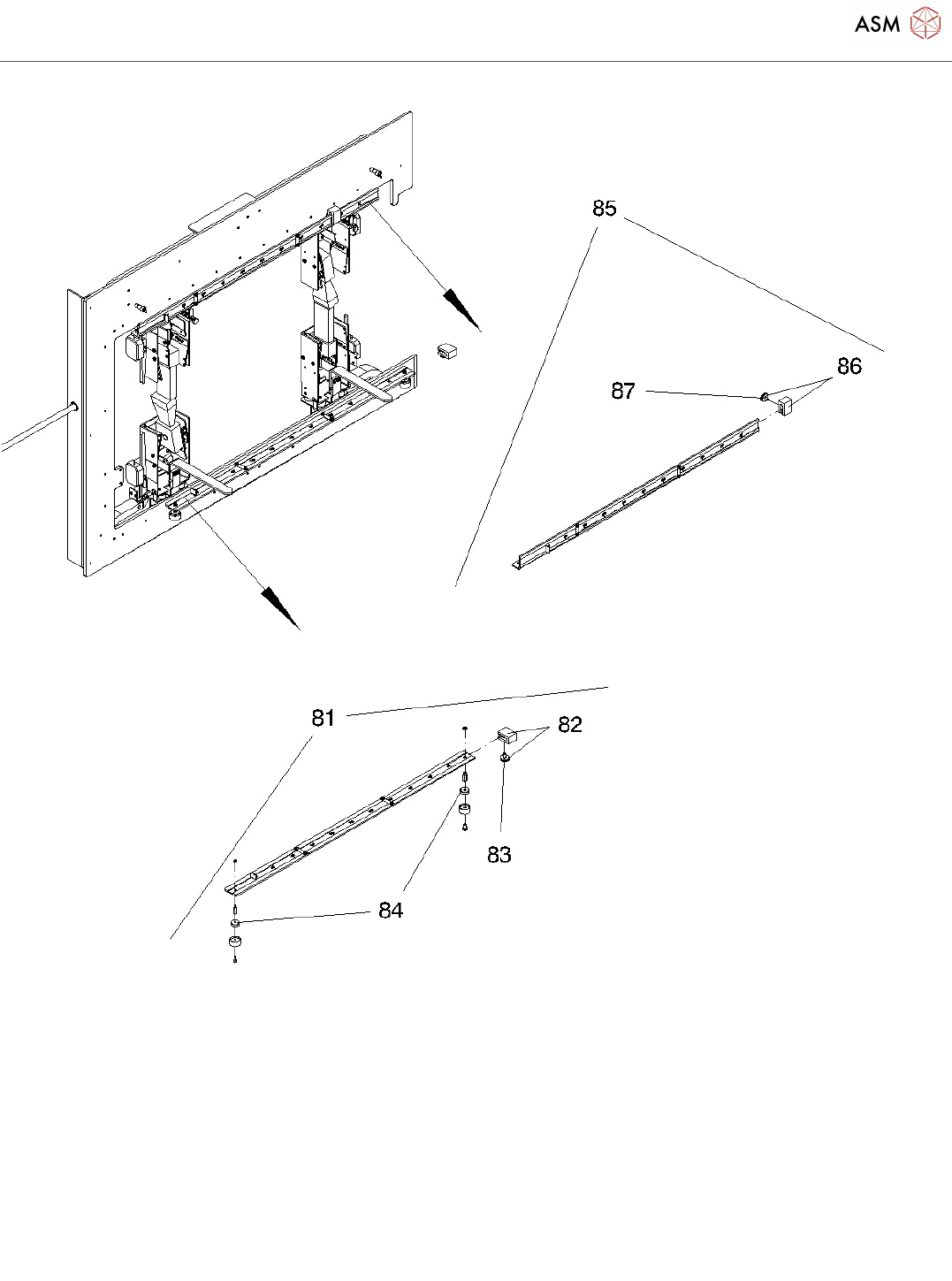
Assemblys barcode
Page 17 / 21 23.11.2021
Pos. Item no. Description Part marking
00519884-01 MOUNTING KIT PCB-BARCODE
MECH. SC SX1/2
2 03078742-02 ASSEMBLY MECHANICS BC SC
SX1/2
3 03071840-02 ASSEMBLY INNER BARCODE
ADJUSTMENT
4 03042553-01 ISO 4762 - M 4 X 12-A2-70 Spare Part
5 03078736-02 BARCODE ADJUSTMENT COGNEX
BELOW/RIGHT
6 03082295-02 FIXATION BRACKET COGNEX 2
7 03045201-01 DIN EN ISO 7380-M4 X 8-A2-70
8 03078321-01 HOLDER
9 03008162-01 ISO 4032 - M3-A2-70 STANDARD PARTS
10 03066810-01 ISO 7092 - 4 - 200 HV - A2 STANDARD PARTS
11 03045200-01 DIN EN ISO 7380-M4 X 6-A2-70 STANDARD PARTS
12 03078311-01 BARCODE ADJUSTMENT COGNEX
TOP/RIGHT
13 03072781-03 FIXATION BRACKET COGNEX
14 03045201-01 DIN EN ISO 7380-M4 X 8-A2-70
15 03078321-01 HOLDER
16 03008162-01 ISO 4032 - M3-A2-70 STANDARD PARTS
17 03072726-01 ADJUSTING ARM CPL.
18 03063004-01 KNURLED KNOB F. HEX.SOC.HEAD
CAP SREW M3
19 03078730-01 COGNEX WITH HOLDER, MIRRORED
20 03042552-01 ISO 4762 - M 4 X 10-A2-70 STANDARD PARTS
21 03071321-01 FLAT CLAW MAGNET D16, CENTER
DRILL, 75N
22 00305778-01 SLOTTED COUNTERSUNK HEAD
SCREW
23 03007733-01 ISO 4762 - M 3 X 6-8.8,ZINC
PLATED
STANDARD PARTS
24 03077716-02 COGNEX WITH BRACKET
25 03042552-01 ISO 4762 - M 4 X 10-A2-70 STANDARD PARTS
26 03071321-01 FLAT CLAW MAGNET D16, CENTER
DRILL, 75N
27 00305778-01 SLOTTED COUNTERSUNK HEAD
SCREW
28 03007733-01 ISO 4762 - M 3 X 6-8.8,ZINC STANDARD PARTS

Assemblys barcode
Page 18 / 21 23.11.2021
Pos. Item no. Description Part marking
PLATED
29 03084617-01 RULER BOTTOM SC/DC
30 03084645-01 HOLDER CPL.
31 03057467-01 DIN 653 - M4 X 8-5.8 STANDARD PARTS
32 03071321-01 FLAT CLAW MAGNET D16, CENTER
DRILL, 75N
33 03084762-01 RULER TOP SC/DC
34 03084645-01 HOLDER CPL.
35 03057467-01 DIN 653 - M4 X 8-5.8 STANDARD PARTS
36 03084879-01 E-CHAIN SERIES 07 B16 R38 / 23
PIECES
00805140-01 CABLE TIE W=2.4MM L=92MM
TYB-23M
Spare Part
03057342-01 EXTENSION BOARD FOR OPTIONS
TSP-400E
Retrofit Kit
00519885-01 MOUNTING KIT PCB-BARCODE
MECH. DC SX1/2
40 03077594-03 ASSEMBLY MECHANICS BC DC
SX1/2
41 03071840-02 ASSEMBLY INNER BARCODE
ADJUSTMENT
42 03042553-01 ISO 4762 - M 4 X 12-A2-70 Spare Part
43 03078736-02 BARCODE ADJUSTMENT COGNEX
BELOW/RIGHT
44 03082295-02 FIXATION BRACKET COGNEX 2
45 03045201-01 DIN EN ISO 7380-M4 X 8-A2-70
46 03078321-01 HOLDER
47 03008162-01 ISO 4032 - M3-A2-70 STANDARD PARTS
48 03066810-01 ISO 7092 - 4 - 200 HV - A2 STANDARD PARTS
49 03045200-01 DIN EN ISO 7380-M4 X 6-A2-70 STANDARD PARTS
50 03078311-01 BARCODE ADJUSTMENT COGNEX
TOP/RIGHT
51 03072781-03 FIXATION BRACKET COGNEX
52 03045201-01 DIN EN ISO 7380-M4 X 8-A2-70
53 03078321-01 HOLDER
54 03008162-01 ISO 4032 - M3-A2-70 STANDARD PARTS
55 03072726-01 ADJUSTING ARM CPL.
56 03063004-01 KNURLED KNOB F. HEX.SOC.HEAD