P-295-004e.pdf - 第159页

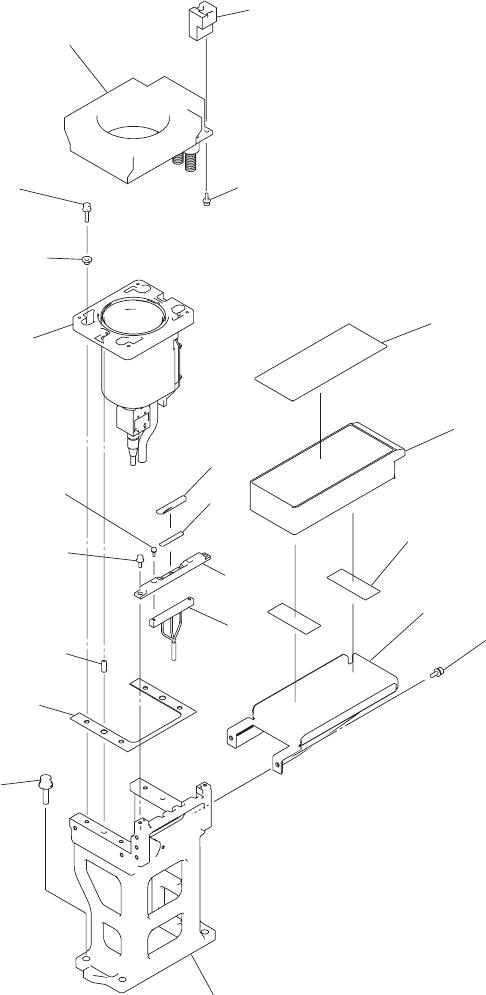
0801-002 1 2 3 22 55 ・ 62 ・ 58 4 5 14 51 ・ 59 52 ・ 60 ・ 56 21 23 9 54 ・ 61 ・ 57 BLOCK4 32 10 内が本体対応箇所です。 31 The explanation in brackets is for the locations to be treated in the main machine. 13 8 7 D-1 illust-4 架台上全体 OV…

100%1 / 168
0801-002
2
3
4
22
5
21
9
52
60
56
23
10
7
6
13
8
1
54
.
.
.
.
.
.
.
.
.
.
.
61
57
52
60
56
51
59
55
62
58
53
61
57
14
BLOCK1
D-1 illust-3
架台上全体
OVERALL
UPPERFRAME
Fig. D-1
部品認識カメラ
1,4
Recognition Camera 1,4
(G -S051-04,Case:Block4) (G -S051-04,Case:Block4)
0801-002
1
2
3
22
55
62
58
4
5
14
51
59
52
60
56
21
23
9
54
61
57
BLOCK4
32
10
内が本体対応箇所です。
31
The explanation in brackets is for the locations to be treated in the main machine.
13
8
7
D-1 illust-4
架台上全体
OVERALL
UPPERFRAME
Fig. D-1
部品認識カメラ
1,4
Recognition Camera 1,4
(G -S051-04,Case:Block4) (G -S051-04,Case:Block4)
1004-004
Key No. PART No. PART NAME Q’ty REMARKS New Code
NOTE
D-1
D-1 list-1
1 6301565538 BASE 2 845D--100-101 210A2857
2 6301572499 SPACER 2 845D--100-102 211E1084
3 6300842708 PIN,LOCATE 4 845D--100-103 216E0832
4 6301281650 PLATE 2 845D--100-104 211D9700
5 6301360652 PLATE 2 845D--100-105 211DA514
6 6301579733 BRACKET 2 1 845D--100-106 211FC562
7 6301242484 MECH PARTS(MAGNETIC TAPE) 4 845D--100-107 226J1873
8 6301242538 BOX 2 845D--100-108 211B0951
9 6300703665 ACCESSORY,P.C.B 8 845D--100-109 23L10051
10 6301576848 BLOCK 2 845D--100-110 211G5378
13 6301271989 SHEET 2 845D--100-113 211H0308
14 6301571584 BLOCK 2 845D--100-114 211G5353
21 6301558127 ASSY,SCOPE UNIT 2 B61(1),B61(4)
845D--100-201 0Z100028
22 6301246598 LIGHTING UNIT 2 845D--100-202 4Z110137
23 6301427331 LIGHTING UNIT 2 845D--100-203 4Z110184
31 6301432922 STAY 1
803D-A210170-A001
211J1357
32 6301408125 BLOCK 1
803D-A210170-A002
211G4348
33 6301335940 PLATE 1
803D-A210170-A003
211DA233
34 6301378503 SHAFT 1
803D-A210170-A004
213A1218
35 6301336091 SHAFT 1
803D-A210170-A005
213A1165
36 6301263533 PIN,LOCATE 1
803D-A210170-A006
216E1478
37 6300364156 SET SCREW 1
803D-A210170-A007
221C0051
51 6300007510 BOLT,HEX-SCT 4 M3X8 845D--100-501 221A0006
52 6300007633 BOLT,HEX-SCT 8 M4X12 845D--100-502 221A0018
53 6300007756 BOLT,HEX-SCT 4 M5X12 845D--100-503 221A0030
54 6300007770 BOLT,HEX-SCT 8 M5X20 845D--100-504 221A0032
55 6300008036 BOLT,HEX-SCT 8 M8X30 845D--100-505 221A0058
56 4111414008 WASHER V 4X9X0.8 8 845D--100-506 221H0315
57 4111414107 WASHER V 5X10X1 12 845D--100-507 221H0318
58 4111414503 WASHER V 8X17X1.6 8 845D--100-508 221H0323
59 4111412806 WASHER SPR 3 4 845D--100-509 221H0281
60 4111412905 WASHER SPR 4 8 845D--100-510 221H0284
61 4111416705 WASHER SPR 5 12 845D--100-511 221H0287
62 4111413100 WASHER SPR 8 8 845D--100-512 221H0291
GXH-3PH
G -S051-04