Machine protection D1i_20211122_064435

Machine protection D1i Page 1 / 15 22.11.2021

100%1 / 15
Machine protection D1i
Page 1 / 15 22.11.2021
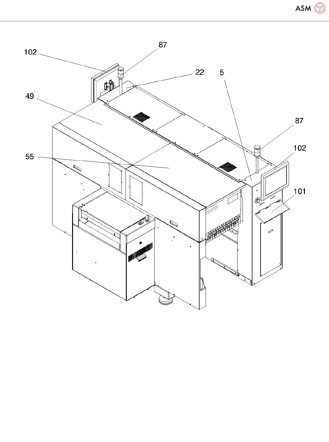
Machine protection D1i
Page 2 / 15 22.11.2021
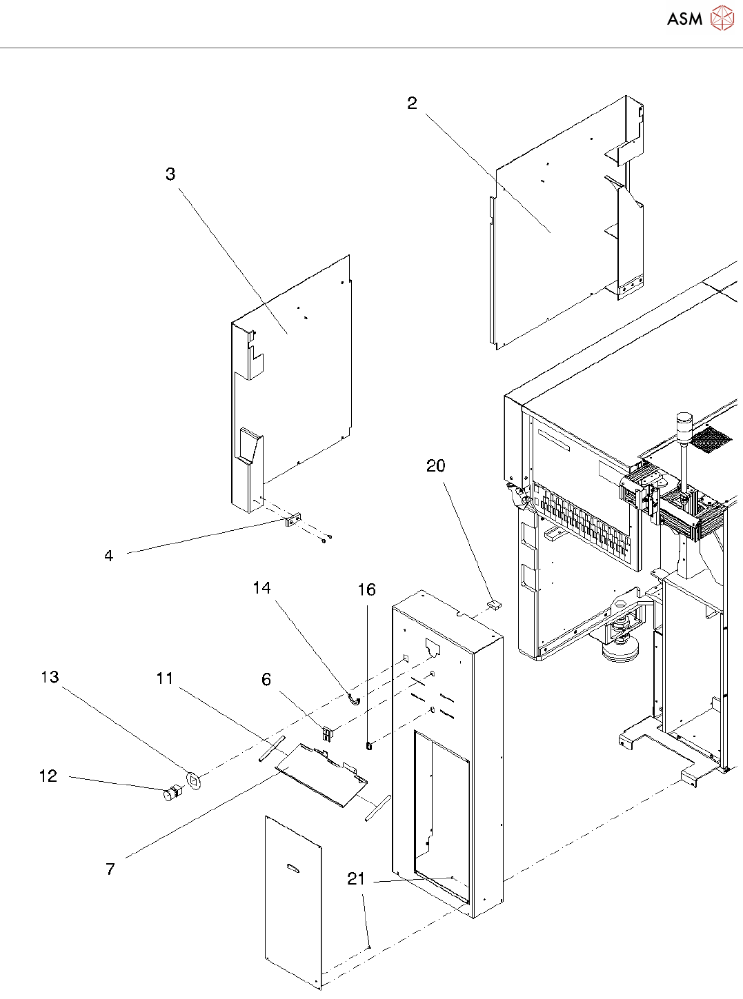
Machine protection D1i
Page 3 / 15 22.11.2021