Adatper for feeder modules to X-series_20211118_074859
Adatper for feeder modules to X-series Page 1 / 3 18.11.2021

Adatper for feeder modules to X-series
Page 1 / 3 18.11.2021

Adatper for feeder modules to X-series
Page 2 / 3 18.11.2021

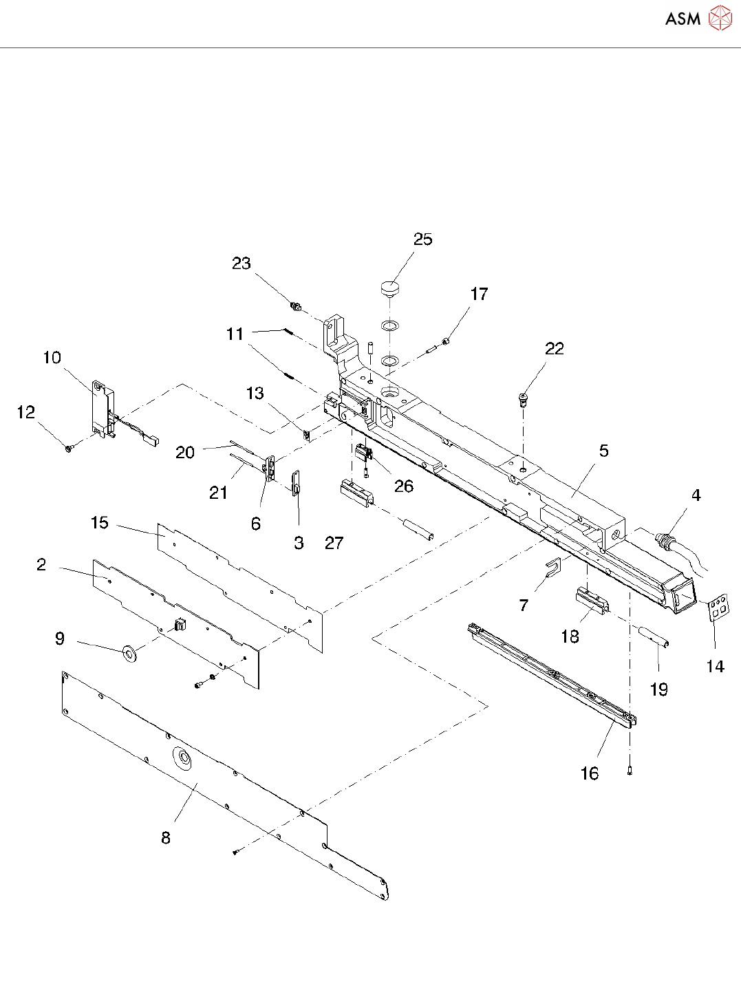
Adatper for feeder modules to X-series
Page 3 / 3 18.11.2021
Pos. Item no. Description Part marking
1 00141305-02 ADAPTER FOR FEEDER MODULES
TO X-SERIES
03059069-02 FEEDER ADAPTER X-SERIES
2 03050293-03 PCB/ CONTROL BOARD X-ADAPTER SPARE PART
3 03013678S03 PCB/EDIF SECONDARY IRDA BOARD Spare Part
4 03050805-01 CABLE/ SOCKET X-ADAPTER SPARE PART
5 03059075-02 BASE UNIT
03052358-02 ADAPTER PLATE 16.5MM (BE-
HEIGHT 1.9-16MM)
6 03040626-01 MOUNT F. IRDA BOARD
7 03059078-01 MOUNTING PLATE SPARE PART
8 03059284-01 COVER
9 03054044-01 GASKET RING SPARE PART
10 03011739S03 ENERGY-DATA INTERFACE CPL. /X-
SERIES
SPARE PART
11 03012683-01 COMPRESSION SPRING D-027 SPARE PART
12 03050957-01 SHOULDER BOLT DIA4X3.15 M3 SPARE PART
13 03022426-01 CABLE FIXING SPARE PART
14 03054550-01 MEMBRANE KEYBOARD X-ADAPTER SPARE PART
15 03054042-01 INSULATING FOIL PCB
16 03003994S01 SLIDE GUIDE /REAR L200 SPARE PART
17 03005196-01 ROLL, LOCKING X-SERIES SPARE PART
18 03058808S01 SLIDING GUIDE SPARE PART
19 03019604S01 SLIDING FOIL X-FEEDER SPARE PART
20 03021026-01 LWL SECORDARY TOP / EDIF X-
SERIE
21 03021016-01 LWL SECORDARY BOTTOM / EDIF X-
SERIE
22 00301776-02 SPERICAL CAP SPARE PART
23 03056332-02 STOP PIN / X-ADAPTER
25 03056569-01 FLAT PICK-UP MAGNET D20
NOMINAL ATHESIVE STRENGTH 20N
26 03012425-01 FRONT SLIDER GUIDE L17 SPARE PART
27 03032819S01 CABLE /IRDA - EDIF SECONDARY SPARE PART
03070834-01 BACKING PLATE / X-ADAPTER
03054515-01 RETAINING ANGLE
Powered by TCPDF (www.tcpdf.org)