Nozzle changer for P - 第4页
Nozzle changer for P&P head Page 4 / 4 19.11.2021 Pos. Item no. Description Part marking 1 00116421S03 ADDITIONAL NOZZLE CHANGER FOR IC HEAD Spare Part 00325303-01 IC VACUUM PIPETTE MAGAZINE 3 00318002S01 IC VACUUM N…

Nozzle changer for P&P head
Page 2 / 4 19.11.2021

Nozzle changer for P&P head
Page 3 / 4 19.11.2021

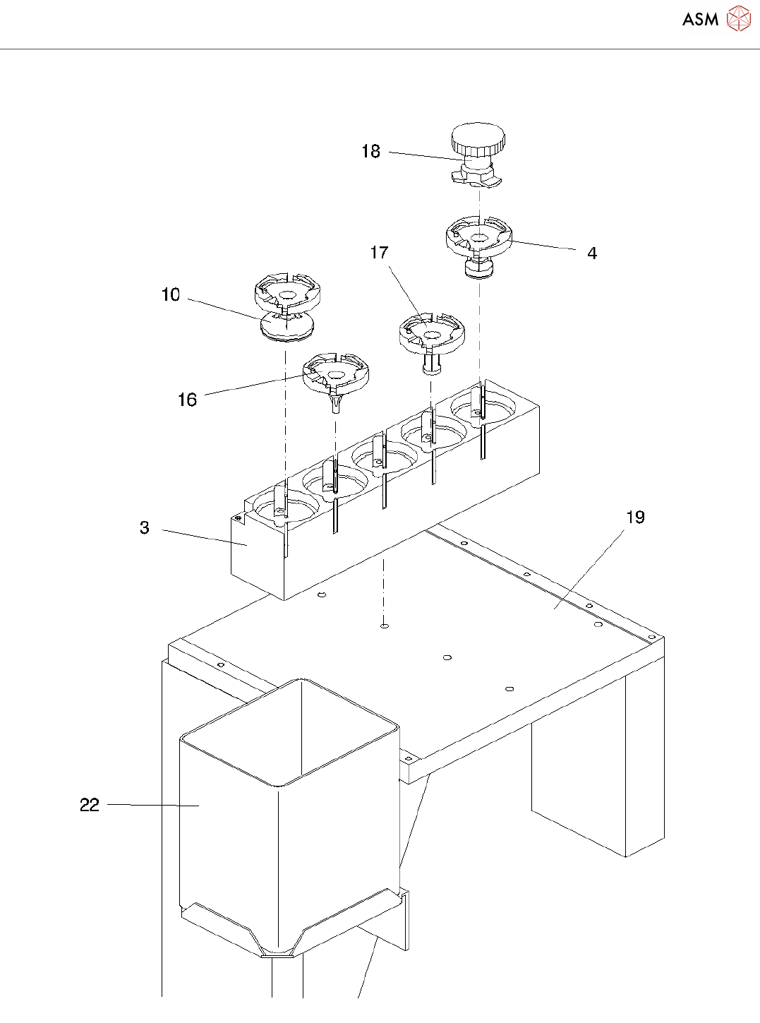
Nozzle changer for P&P head
Page 4 / 4 19.11.2021
Pos. Item no. Description Part marking
1 00116421S03 ADDITIONAL NOZZLE CHANGER
FOR IC HEAD
Spare Part
00325303-01 IC VACUUM PIPETTE MAGAZINE
3 00318002S01 IC VACUUM NOZZLE MAGAZINE SPARE PART
4 00322544-03 NOZZLE TYP 418 COMPLETE WEAR PART
5 00325259-01 PIPETTE 12.5MM, 418 NEW
6 00619815-01 DIN 6325 - 1.5M5 X 6-ST
7 00307052-03 DIAPHRAGM F.VACUUM ADAPTER
DM12,5 307051
8 00307055-03 SLEEVE
9 00309454S01 O-RING 4*1 P583 70 A WEAR PART
10 00322546-03 NOZZLE TYP 419 COMPLETE WEAR PART
11 00325261-01 PIPETTE 24MM, 419 NEW
12 00619815-01 DIN 6325 - 1.5M5 X 6-ST
13 00310569S03 DIAPHRAGM FOR VACUUM
ADAPTER DM 24,0 NR.00309456
14 00309460-02 SLEEVE
15 00309454S01 O-RING 4*1 P583 70 A WEAR PART
16 00322545-02 NOZZLE TYPE 416 COMPLT. WEAR PART
17 00322543-02 NOZZLE TYPE 417 COMPLETE WEAR PART
18 00311448-01 NOZZLE WITHDRAWING TOOL TOOL
19 00320217S03 MOUNTING SET NOZZLE CHANGER
F.IC-HEAD
Spare Part
20 00619841-01 PARALLEL PIN 3M5 X 8-ST
21 00845081-01 HEXAGON SOCKET HEAD CAP
SCREW
22 00309301S02 REJECT BOX SPARE PART
Powered by TCPDF (www.tcpdf.org)