_ built in up SN A-219_20211123_103945 - 第15页
~ built in up SN A-219 Page 15 / 25 23.11.2021

~ built in up SN A-219
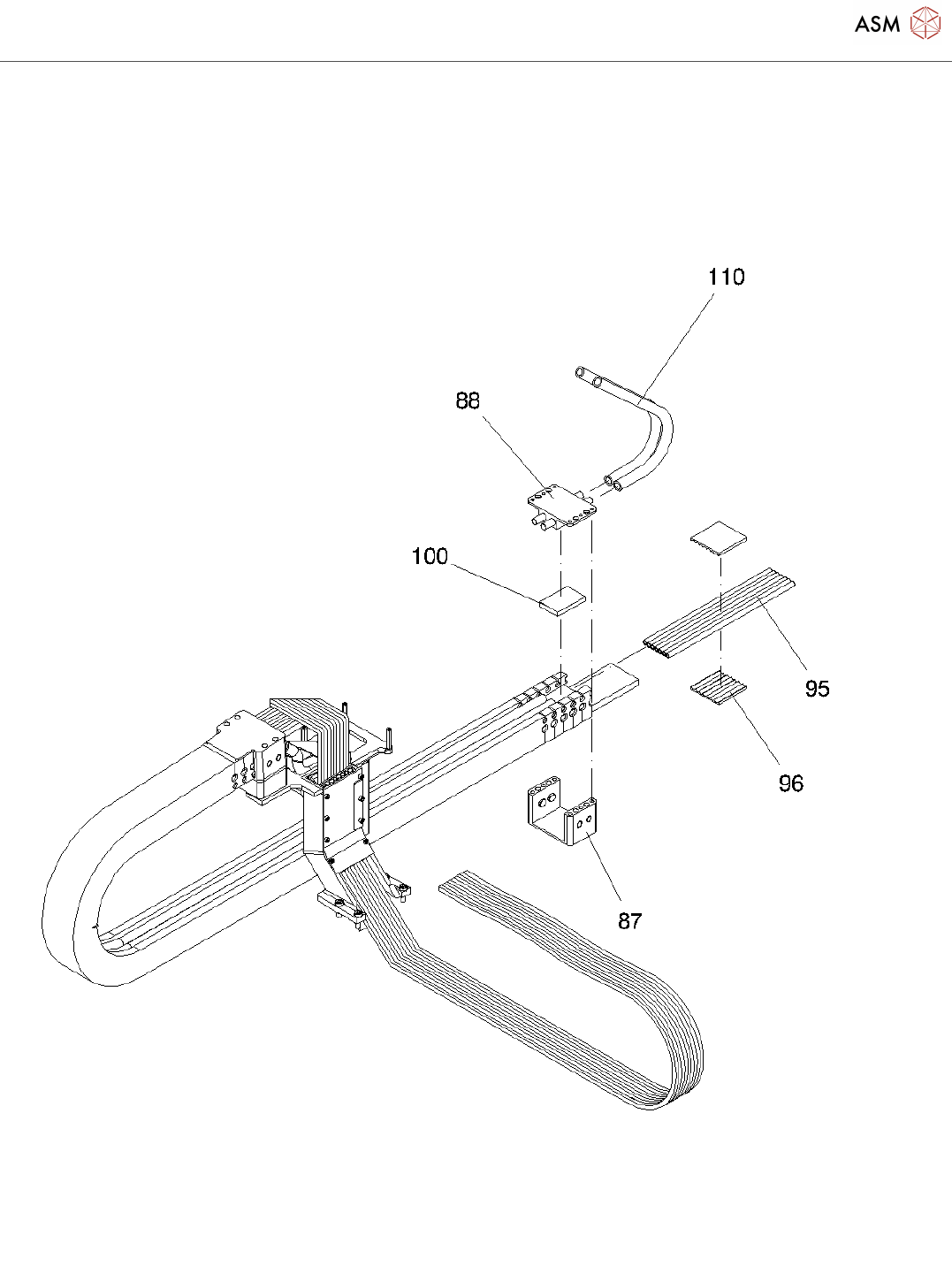
Page 14 / 25 23.11.2021

~ built in up SN A-219
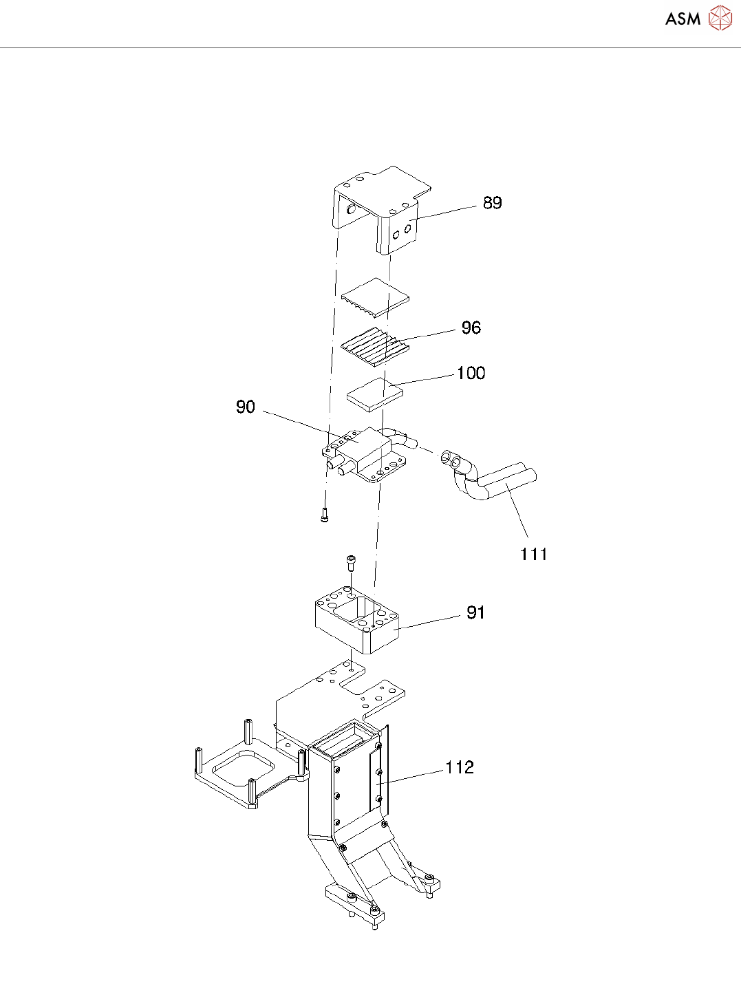
Page 15 / 25 23.11.2021

~ built in up SN A-219
Page 16 / 25 23.11.2021
~ built in up SN A-219 Page 15 / 25 23.11.2021


