P-329-006_SIGMA-G5S - 第81页
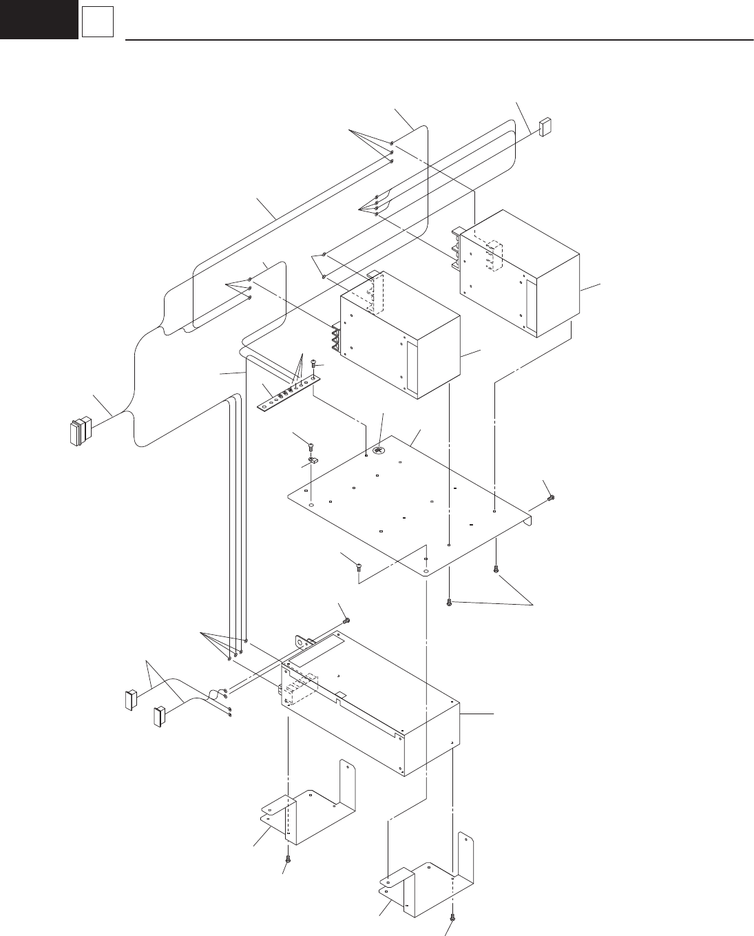
– 75 – DC PO WE R SUP PL Y SE CT ION 181 1-006 No. Part No. Part Name Qty . Detail Y amaha Hitachi 1 KYB-M656V -00 1005BA3L UNIT -POWER 1 2 KYB-M658T -00 4U200335 UNIT -POWER 1 3 KYB-M651U-00 0995IE2G UNIT -POWER 1 4 KYB…

– 75 –
DC POWER SUPPLY SECTION
1811-006
No.
Part No.
Part Name Qty. Detail
Yamaha Hitachi
1 KYB-M656V-00 1005BA3L UNIT-POWER 1
2 KYB-M658T-00 4U200335 UNIT-POWER 1
3 KYB-M651U-00 0995IE2G UNIT-POWER 1
4 KYB-M652T-00 1010BA0F COVER PS 1
5 KYB-M652S-00 1010BA0E BRACKET 2
6 KYB-M6579-00 1010BA0K EARTHBAR 1
7 90990-66J015 221DA212 SCREW,TRUSS HEAD 4 TRS M5L6
8 90990-11J017 221DA062 SCREW,PAN HEAD WW 10 PAN M4L8 SW+FW
9 KYB-M65AW-00 23N30632 WIRING 4
10 90990-11J016 221DA053 SCREW,PAN HEAD WW 4 PAN M4L6 SW+FW
11 98702-04006 221DA113 SCREW,FLAT HEAD 4 FLT M4L6
12 KYB-M6544-00 1010BC32 HNS,24VOUT-1 1
13 KYB-M6546-00 1010BC34 HNS,G2OUT-1A 2
14
KYB-M65B3-00
4J300016 CAB_JOINTTERMIN 11
15
KYB-M65BB-00
4J300207 CAB_JOINTTERMIN 6
16
KYB-M657T-00
1010BC77 CORD 1
17
KYB-M6568-00
0914B33X CORD 1
18 KYB-M6543-00 1010BC31 HNS,PSU_IN-2 1
19
KYB-M6595-00
225G1023 VINIL TUBE 1
20 KYB-M658X-00 6P450074 EARTH-MARK-SEAL 1
21 98502-05008 221DA035 SCREW,PAN HEAD 2 PAN M5L8
22 92902-05200 221HA105 WASHER,PLAIN 2 FW5

