NPM-W2--PARTS LIST - 第613页
Ref No. Remarks R 1 Q'ty 124-C 基板ホルダデュアル対応:NPM-W2 Board Holder For Dual:NPM -W 2 イラスト No. Part No. 品 名 品 番 数量 R 2 パーツリスト Kit No. キット品番 Kit Name キット名称 N610164025AA Part Nam e 備 考 セク ショ ンNo . PARTS LIST Section No. R …

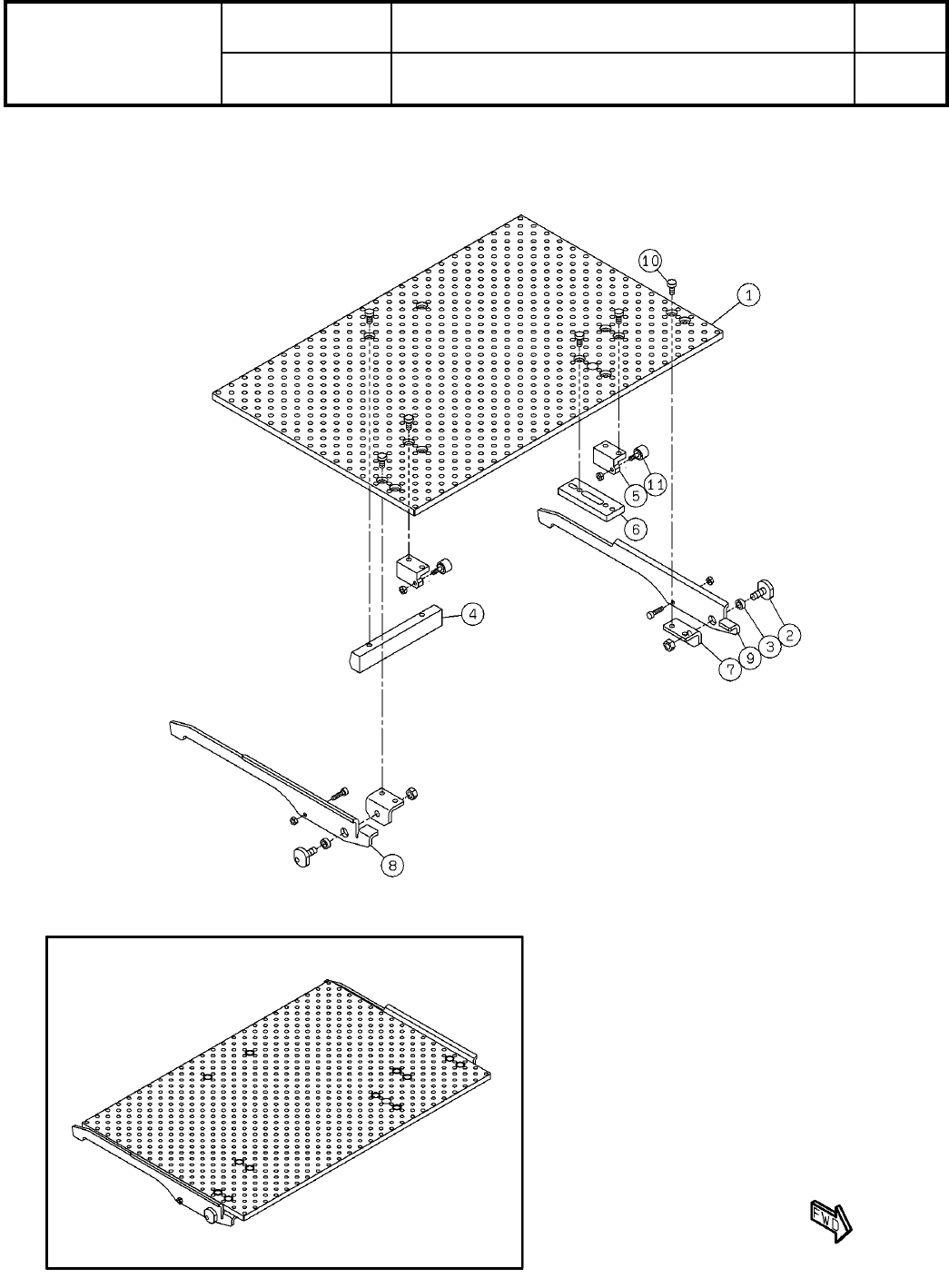
124-C
基板ホルダデュアル対応:NPM-W2
Board Holder For Dual:NPM-W2
パーツレイアウト
Kit No.
キット品番
Kit Name
キット名称
N610164025AA
セクションNo.
PARTS LAYOUT
Section No.
--
O411
( KN610164025AA-03-3 )

Ref
No.
Remarks R
1
Q'ty
124-C
基板ホルダデュアル対応:NPM-W2
Board Holder For Dual:NPM-W2
イラスト
No.
Part No.
品 名品 番 数量
R
2
パーツリスト
Kit No.
キット品番
Kit Name
キット名称
N610164025AA
Part Name
備 考
セクションNo.
PARTS LIST
Section No.
R
3
BRACKET
4
1 MTPB000908AA
COVER
8
2 N210147082AA
BRACKET
4
3 N210097322AA
COVER
4
4 N210152386AB
BRACKET
4
5 N210134081AA
BRACKET
4
6 N210159012AA
JOINT
4
7 N510066749AA KQ2E06-00NJ
VALVE
4
8 KXF0BV4AA00 SYJ514R-5LOZ-01
JOINT
4
9 N510066461AA KQ2L06-M5A
SPEED-CONTROLLER
4
10 KXF09WUAA00 ASD330F-01-06S
VALVE
4
11 N510054589AA 4GA130-M5-A2N-FL424713-3
SPEED-CONTROLLER
8
12 KXF00YVAA00 AS1211F-M5-06
SILENCER
8
13 KXF0BB2AA00 SLM-M5
JOINT
4
14 N431GWL6M5 GWL6-M5
JOINT
4
15 N510066456AA KQ2U06-00A
JOINT
4
16 N510066452AA KQ2U06-99A
O412
--
( KN610164025AA-03-3 )

125
基板下受けブロックデュアル(デュアル対応):NPM-W
Board Support Block Dual(fot Dual):NPM-W
パーツレイアウト
Kit No.
キット品番
Kit Name
キット名称
N610134595AB
セクションNo.
PARTS LAYOUT
Section No.
--
O413
( KN610134595AB-02 )