NPM-W2--PARTS LIST.pdf - 第70页
15 ヘッドカメラ:NPM Head Camera:NPM パーツレイアウト Kit No. キット 品番 Kit Name キット名称 N610041187AA セクションNo. PARTS LAYOUT Section No. - - S47 ( KN610041187AA-06 )

Ref
No.
Remarks R
1
Q'ty
14
XY軸R側配線:NPM-W2
XY-Axis Rear Side Wiring:NPM-W2
イラスト
No.
Part No.
品 名品 番 数量
R
2
パーツリスト
Kit No.
キット品番
Kit Name
キット名称
N610163823AA
Part Name
備 考
セクションNo.
PARTS LIST
Section No.
R
3
CABLE-VEYOR
1
1 N510056967AA TKR0200W50R55-TKX32LINKS PIA PKA
CABLE-VEYOR
1
2 N510057769AA TKR0200W60R55-TKX44LINKS PIU PKA
CABLE-SUPPORT
4
3 N210142601AA
CABLE-SUPPORT
4
4 N210142695AA
S46
--
( KN610163823AA-04 )

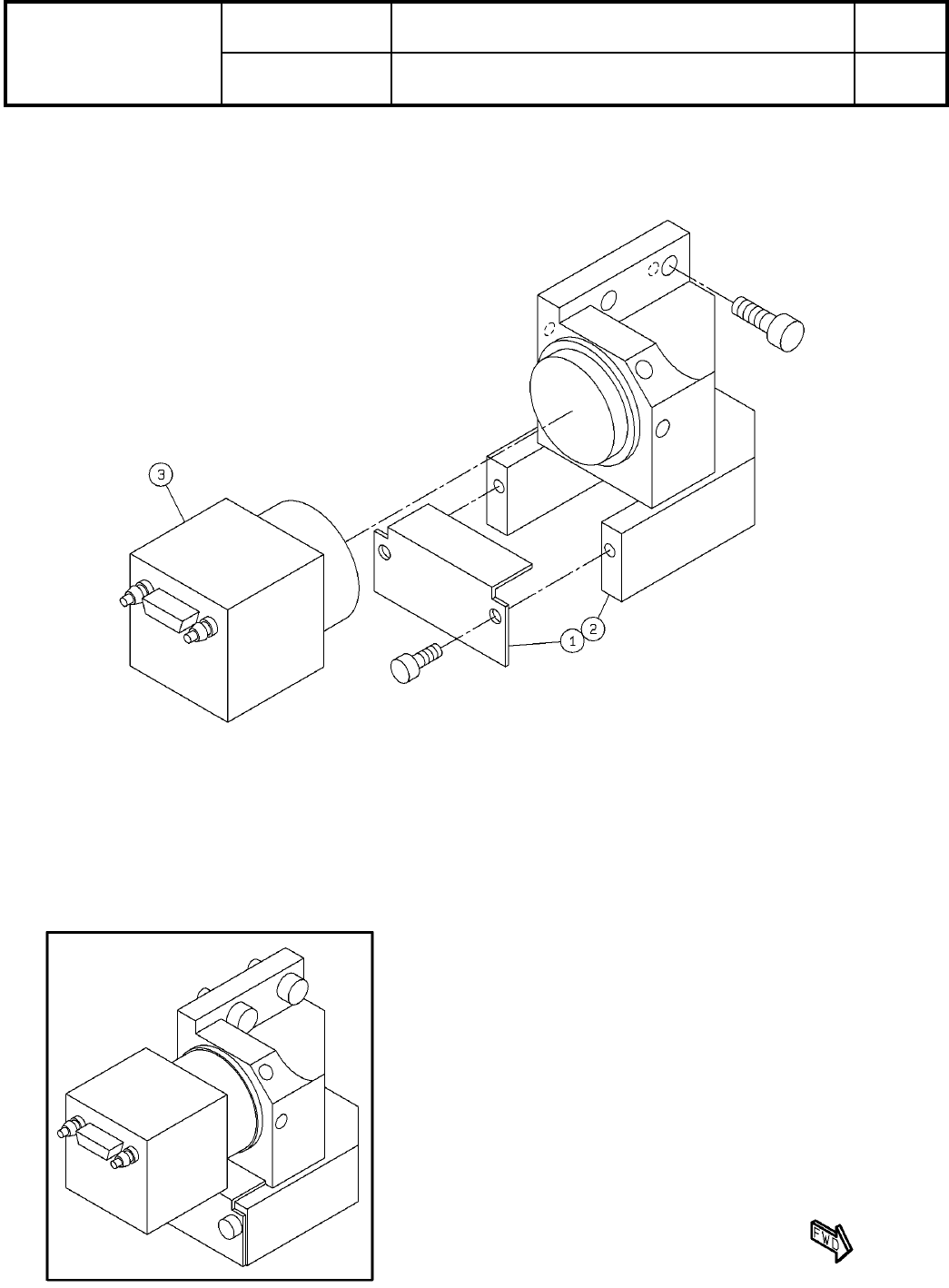
15
ヘッドカメラ:NPM
Head Camera:NPM
パーツレイアウト
Kit No.
キット品番
Kit Name
キット名称
N610041187AA
セクションNo.
PARTS LAYOUT
Section No.
--
S47
( KN610041187AA-06 )

Ref
No.
Remarks R
1
Q'ty
15
ヘッドカメラ:NPM
Head Camera:NPM
イラスト
No.
Part No.
品 名品 番 数量
R
2
パーツリスト
Kit No.
キット品番
Kit Name
キット名称
N610041187AA
Part Name
備 考
セクションNo.
PARTS LIST
Section No.
R
3
BRACKET
1
1 N210067363AA
LENS
1
2 N510027781AA OKP-46X
CAMERA
1
3 N510029003AA
S
CSCX30BC3-10
S48
--
( KN610041187AA-06 )