P-146-001e.pdf - 第117页
MODEL TPM-100F/R 0102-001 Key No . P AR T No. P AR T NAME Q’ty REMARKS NOTE 115 MM-2 10 1 630 096 7500 AIR LINE EQPT 2 748MM-1 10-101 10 2 630 089 8743 MOTOR,AC (BLOWER) 1 M001, #3-KA573 2BH1-400-1AH21SH 748MM-1 10-102 1…

MODEL TPM-100F/R
0102-001
114
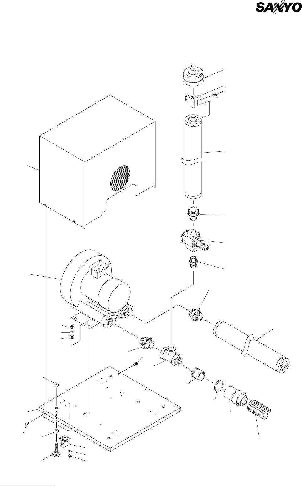
ブロアユニット部 BLOWER UNIT SECTION
Fig. MM-2 ブロア Blower
Fig.MM-2
TPM-100F/R
105
103
113
118
117
See Fig MM-3
Key No.8
163
163
166
166
111
112
168
167
161
164
165
105
101
104
106
108
101
101
114
110
116
102
115

MODEL TPM-100F/R
0102-001
Key No. PART No. PART NAME Q’ty REMARKS
NOTE
115
MM-2
101 630 096 7500 AIR LINE EQPT 2 748MM-110-101
102 630 089 8743 MOTOR,AC (BLOWER) 1 M001, #3-KA573 2BH1-400-1AH21SH
748MM-110-102
103 630 092 8525 PIPE FITTINGS 1 748MM-110-103
104 630 009 2929 PIPE FITTINGS 1 748MM-110-104
105 630 092 8372 PIPE FITTINGS 2 748MM-110-105
106 630 008 9738 AIR LINE EQPT 1 748MM-110-106
108 630 092 8396 PIPE FITTINGS 1 748MM-110-108
110 630 096 7449 MECH PARTS 1 748MM-110-110
111 630 049 3405 MECH PARTS(LEVEL ADJUSTER 4 748MM-110-111
112 630 049 3443 CASTER 4 748MM-110-112
113 630 090 9364 PIPE 1 748MM-110-113
114 630 092 1939 BRACKET 1 748MM-110-114
115 630 092 1922 BASE 1 748MM-110-115
116 630 092 1915 COVER 1 748MM-110-116
117 630 096 7494 MECH PARTS 1 748MM-110-117
118 630 009 3551 PIPE FITTINGS(BAND) 1 748MM-110-118
161 630 000 7893 BOLT,HEX-SCT 4 748MM-110-161
163 411 113 9000 SCR TRS 5X8 4 748MM-110-163
164 411 141 3001 WASHER SPR 6 4 748MM-110-164
165 630 001 0237 WASHER 4 748MM-110-165
166 411 141 1106 NUT HEX 10 8 748MM-110-166
167 411 140 4900 BOLT HEX 5X12 16 748MM-110-167
168 411 008 2109 WASHER SPR 5 16 748MM-110-168

MODEL TPM-100F/R
0102-001
116
ブロアユニット部 BLOWER UNIT SECTION
Fig. MM-3 フィルタ Filter
Fig.MM-3
TPM-100F/R
201
206
205
204
See Fig MM-2
Key No.8
203
261
204
207
208
209
263
264
262
261
266
265
205
206
206
266
265
210
263
264
262
211
262
264
263
See Fig R-3
Key No.224