P-146-001e.pdf - 第53页
MODEL TPM-100F/R 0102-001 Key No . P AR T No. P AR T NAME Q’ty REMARKS NOTE 51 F A-3 20 1 630 007 2303 PLUNGER 2 748F A-1 10-201 20 2 630 088 4364 CYLINDER 2 748F A-1 10-202 20 3 630 088 4463 PIPE FITTINGS 4 748F A-1 10-…

MODEL TPM-100F/R
0102-001
50
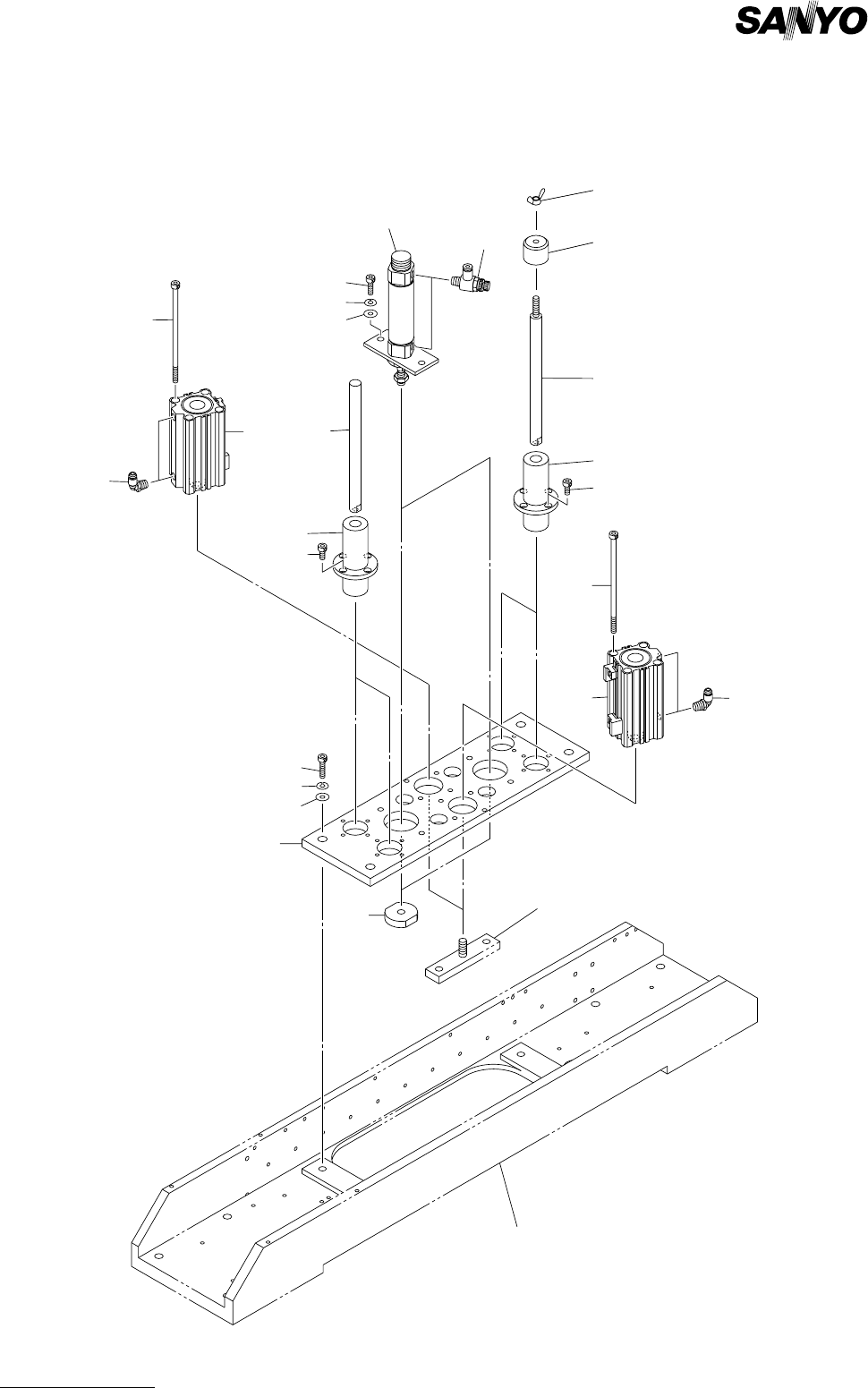
スキージヘッド部 SQUEEGEE HEAD SECTION
Fig. FA-3 スキージホルダ Squeegee Holder
270
See Fig.FA-4
Key No.306
See Fig.FA-4
Key No.306
See Fig.FA-4
Key No.308
See Fig.FA-4
Key No.308
216
206
272
215
272
273
211
213
262
210
207
209
204
214
204
209
261
213
270
216
206
272
215
272
273
211
204
212
268
213
271
272
269
208
267
266
265
202
264
201
201
264
207
262
210
203
261
202
203
213
265
266
267
208
204
268
212
272
271
269
Fig.FA-3
TPM-100F/R
264
263
264
263
205
205

MODEL TPM-100F/R
0102-001
Key No. PART No. PART NAME Q’ty REMARKS
NOTE
51
FA-3
201 630 007 2303 PLUNGER 2 748FA-110-201
202 630 088 4364 CYLINDER 2 748FA-110-202
203 630 088 4463 PIPE FITTINGS 4 748FA-110-203
204 630 001 1425 BEARING,RADIAL 4 748FA-110-204
205 630 089 2598 SENSOR 2 B001,002 748FA-110-205
206 630 002 3657 SPRING,COMP 4 748FA-110-206
207 630 088 3411 BUSH,BEARING 2 748FA-110-207
208 630 001 0220 WASHER 2 748FA-110-208
209 630 088 0229 BLOCK 2 748FA-110-209
210 630 090 7681 BOSS 2 748FA-110-210
211 630 090 7902 PLATE 2 748FA-110-211
212 630 088 0236 STAY 2 748FA-110-212
213 630 088 0250 PLATE 4 748FA-110-213
214 630 088 0243 SHAFT 2 748FA-110-214
215 630 088 0298 BLOCK 2 748FA-110-215
216 630 091 4832 SPACER 4 748FA-110-216
261 630 000 7572 BOLT,HEX-SCT 4 748FA-110-261
262 630 000 8937 SET SCREW 2 748FA-110-262
263 630 000 7633 BOLT,HEX-SCT 4 748FA-110-263
264 411 141 0307 NUT HEX 4 6 748FA-110-264
265 630 000 7749 BOLT,HEX-SCT 2 748FA-110-265
266 411 141 6705 WASHER SPR 5 2 748FA-110-266
267 411 141 4107 WASHER V 5X10X1 2 748FA-110-267
268 630 000 7886 BOLT,HEX-SCT 8 748FA-110-268
269 630 000 7909 BOLT,HEX-SCT 4 748FA-110-269
270 630 000 7930 BOLT,HEX-SCT 4 748FA-110-270
271 411 141 3001 WASHER SPR 6 4 748FA-110-271
272 411 141 4305 WASHER V 6X12.5X1.6 12 748FA-110-272
273 411 141 0703 NUT HEX 6 4 748FA-110-273

MODEL TPM-100F/R
0102-001
52
スキージヘッド部 SQUEEGEE HEAD SECTION
Fig. FA-4 スキージ上下駆動部 Squeegee Leveller Driver
304
364
363
362
302
301
306
305
361
305
308
311
307
361
362
301
310
367
366
368
309
302
See Fig.FA-1
Key No.22
See Fig.FA-3
Key No.215
365
303
Fig.FA-4
TPM-100F/R