P-146-001e.pdf - 第91页

MEMO 89

100%1 / 174
MODEL TPM-100F
0102-001
Key No. PART No. PART NAME Q’ty REMARKS
NOTE
88
379 411 040 6202 SCR PAN 3X10 2 748H--110-379
380 630 000 8692 BOLT,HEX 1 748H--110-380
382 630 000 8951 SET SCREW 2 748H--110-382
384 630 000 8012 BOLT,HEX-SCT 4 748H--110-384
385 411 141 3100 WASHER SPR 8 4 748H--110-385
386 630 001 0244 WASHER 4 748H--110-386
387 630 000 7626 BOLT,HEX-SCT 3 748H--110-387
H-4
MEMO
89
MODEL TPM-100R
0102-001
90
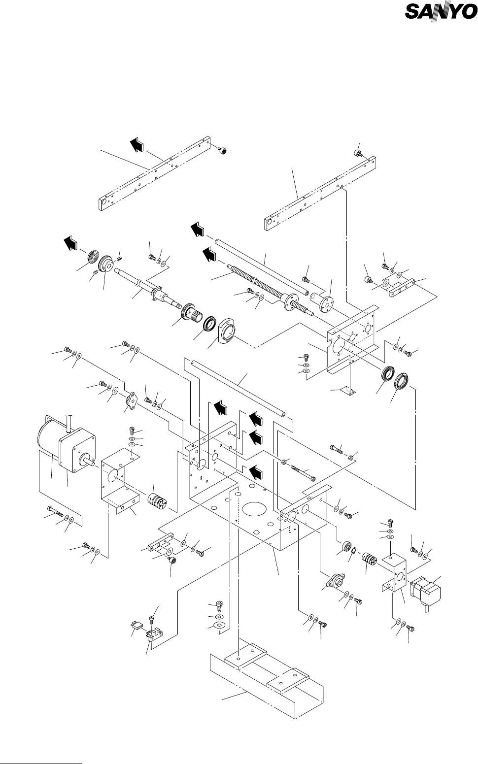
コンベア部 CONVEYOR
Fig. H-4 R コンベアフレーム R Conveyor Frame
(奥基準) Rear Reference
314
See Fig.H-3
Key No.215
375
366
374
324
311
326
303
301
314
367
325
325
328
375
364
374
314
379
310
316
380
384
371
371
315
369
370
362
370
369
362
376
376
329
318
385
386
364
375
374
305
304
327
382
313
382
A
314
365
375
374
387
375
376
309
387
375
374
362
370
369
363
373
372
320
321
368
378
377
312
311
369
370
361
370
369
362
369
370
361
369
370
361
See Fig.H-3
Key No.215
See Fig.K-1
Key No.4
Fig.H-4
TPM-100R
361
370
369
369
370
308
361
306
307
317
365
375
374
361
370
369
D
A
B
D
C
C
B
330
319
323
331
322