00195721-0102_UM_X-Serie_SR605_DE - 第454页
6 Stationserweiterungen Betriebsanleitung SIPLACE X-Serie 6.18 Koplanaritäts-Lasermodul Ab Softw areversion SR.605.xx Ausgabe 07/2008 DE 454 6.18.5 Automat mit W arnsc hild W216 kennzeichnen 6 W arnschild W2 16 "Las…

Betriebsanleitung SIPLACE X-Serie 6 Stationserweiterungen
Ab Softwareversion SR.605.xx Ausgabe 07/2008 DE 6.18 Koplanaritäts-Lasermodul
453
Der TwinHead holt das zu prüfende Bauelement ab, zentriert es optisch mit der BE-Kamera (siehe
Abschnitt 6.7
, Seite 432) und fährt es nacheinander mit allen vier Seiten über den feststehenden
Laserstrahl des Koplanaritäts-Lasermoduls. Dabei wird jedes Anschlussbeinchen von unten vom
Laserstrahl abgetastet. Das von der Unterseite der Beinchen gestreute Laserlicht wird von einem
Sensor erfasst und dient als Grundlage für die Berechnung der exakten Position der Beinchen zur
Leiterplatte. Die dabei ermittelten Positionswerte werden dann mit dem vom Anwender vorgege-
benen Grenzwert verglichen. Wird dieser Wert überschritten, wird das Bauelement entsorgt bzw.
zurückgelegt.
Das Koplanaritäts-Lasermodul wird in Kombination mit der optischen Bauelemente-Zentrierung
eingesetzt. Bauelemente mit verbogenen oder fehlenden Anschlussbeinchen werden erkannt und
ggf. entsorgt.
6.18.3 Technische Daten
6
6.18.4 Einschränkungen
– Das Bauelement soll mindestens zwei bzw. maximal vier Reihen von Gullwing-Beinchen auf-
weisen.
– Die Beinchenreihen sollen zueinander orthogonal angeordnet sein.
– Die Beinchen sollen orthogonal zur Beinchenreihe ausgerichtet sein.
– Die Beinchenenden liegen auf einer Geraden.
– Eine Messung von Bauelementen mit nur einer Beinchenreihe ist nicht möglich.
Bauelemente Gullwing
Genauigkeit ± 18,5 µm (3σ) (Referenz-BE)
± 24,7 µm (4σ)
± 30,5 µm (3σ) (BE bis 32 mm)
± 40,7 µm (4σ)
± 31,3 µm (3σ) (BE bis 55 mm)
± 41,7 µm (4σ)
Max. BE-Größe 55 x 55 mm²
Min. Beinchenabstand 300 µm
Max. BE-Höhe 25 mm
Stellmöglichkeit Stellplatz 3 an SIPLACE X2 und X3, alternativ zum 3D-Koplanaritäts-
Lasermodul
Bestückkopftyp TwinHead

6 Stationserweiterungen Betriebsanleitung SIPLACE X-Serie
6.18 Koplanaritäts-Lasermodul Ab Softwareversion SR.605.xx Ausgabe 07/2008 DE
454
6.18.5 Automat mit Warnschild W216 kennzeichnen
6
Warnschild W216 "Laserklasse 2" auf der Abdeckung neben dem Hauptschalter
Artikel-Nr. 03010316-01 (Anzahl pro Automat: 1)
HINWEIS 6
Bei Montage des Koplanaritäts-Lasermoduls muss der Automat in Laserklasse 2 eingestuft wer-
den. Das Lasermodul ist nicht in den NOT-HALT-Kreis integriert.
6
Abb. 6.18 - 3 Warnschild W216 neben dem Hauptschalter
→ Kennzeichnen Sie dazu den Automaten mit dem Warnzeichen W216 "Laserklasse 2", Artikel-
Nr. 03010316-xx.
6
6
6
6
6
6
LASERSTRAHLUNG!
Nicht in den Strahl blicken
Laserklasse 2

Betriebsanleitung SIPLACE X-Serie 6 Stationserweiterungen
Ab Softwareversion SR.605.xx Ausgabe 07/2008 DE 6.18 Koplanaritäts-Lasermodul
455
→ Kleben Sie das Warnschild W216 neben dem Hauptschalter auf die Abdeckung auf (siehe Pos.
W216 in Abb. 6.18 - 3
, Seite 454.
6.18.6 LED-Anzeigen am Controller
6
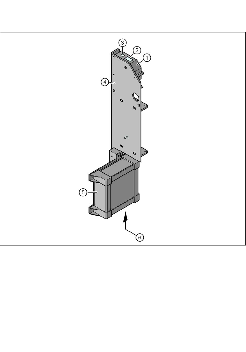
Abb. 6.18 - 4 Koplanaritäts-Lasermodul
(1) Lasersensor
(2) Detektor
(3) Laseremitter
(4) Montagewinkel
(5) Controller
(6) LED-Anzeigen, Anschlüsse am Controller
Die Zustände des Koplanaritätsmoduls werden mit LED angezeigt. Die LED befinden sich an der
Unterseite des Controllers (siehe Pos. 6 in Abb. 6.18 - 4
, Seite 455).