NXTII机械手册 - 第242页
6. 预防保养 QD145-15 218 NXT II 机械手册 6.6.4 料盘单元 -LTC 的传送带和往复臂皮带的清扫 1. 拆除料盘单元 -LTC。 (详细请参考 「5.7 料盘单元 -LTC 的拆除 / 安装」 。) 2. 用清洁的布干擦不良元件传送带和往复臂 皮带的表面。 6.6.5 贴装工作头真空过滤器的清扫 关于清洗用网笼 真空过滤器的清洗使用另售的网笼操作时比较方便 。 放入清洗用网笼的过滤器个数如下所 示。 ·H04…

QD145-15 6. 预防保养
NXT II 机械手册 217
6.6 每月 (700 小时 ) 的操作
6.6.1 元件传送带的清扫
1. 拆除排出不良元件的传送带。( 详细请参考 「8.3 元件排出传送带的更换」。)
2. 用干净的布干擦传送带的表面。
6.6.2 料盘单元 -L 的不良元件传送带和往复臂皮带的清扫
1. 拆除料盘单元 -L。(详细请参考 「5.5 料盘单元 -L 的拆除 / 安装」。)
2. 用干净的布干擦不良元件传送带和往复臂皮带的表面。
6.6.3 料盘单元 -LT 的传送带和往复臂皮带的清扫
1. 拆除料盘单元 -LT。(详细请参考 「5.6 料盘单元 -LT 的拆除 / 安装」。)
2. 用清洁的布干擦不良元件传送带和往复臂皮带的表面。
01MEC-0442S

6. 预防保养 QD145-15
218 NXT II 机械手册
6.6.4 料盘单元 -LTC 的传送带和往复臂皮带的清扫
1. 拆除料盘单元 -LTC。(详细请参考 「5.7 料盘单元 -LTC 的拆除 / 安装」。)
2. 用清洁的布干擦不良元件传送带和往复臂皮带的表面。
6.6.5 贴装工作头真空过滤器的清扫
关于清洗用网笼
真空过滤器的清洗使用另售的网笼操作时比较方便。放入清洗用网笼的过滤器个数如下所
示。
·H04(S),H08,H12(S),H12HS,V12 工作头用过滤器 : 最大 40 个。
·H01,H02 工作头用过滤器 : 最大 20 个。
〈H01 工作头〉
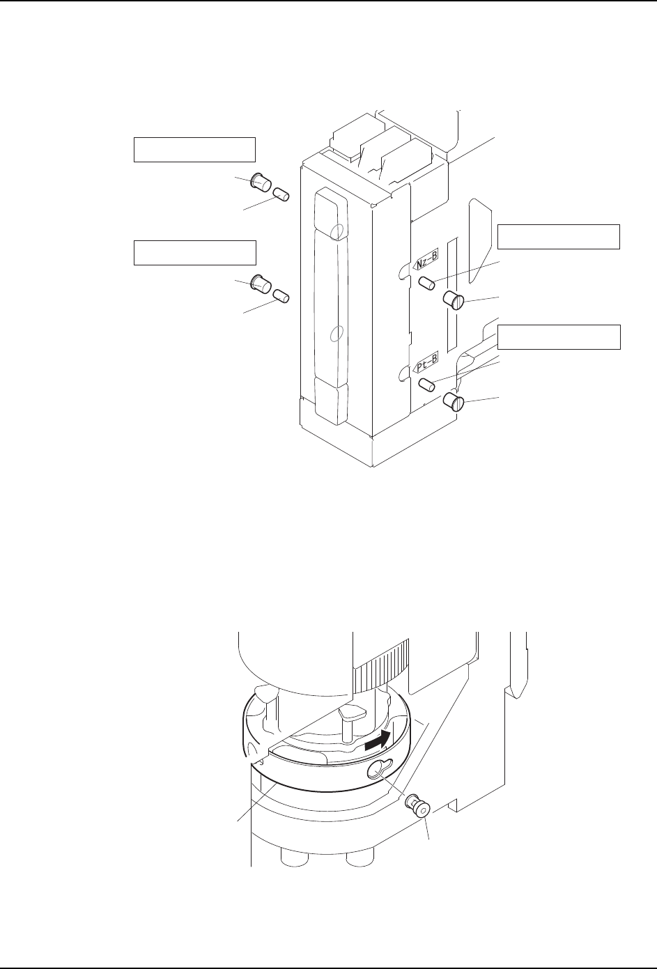
1. 拆下贴装工作头。(详细请参考 「5.8 贴装工作头的拆除 / 安装」。)
2. 使用一字型螺丝刀,松开过滤器套并卸下过滤器。
3. 将过滤器盖罩浸在中性洗涤剂溶液中进行清洗。污垢严重时,请更换新的部件。
备注 )将过滤器放入用于清洗的选项网笼中 (K1325C)。请在中性洗涤剂中浸泡 5 分钟后用
超声波清洗器清洗。
ܗӊᥦߎӴ䗕ᏺ
ᕔ㞖Ⲃᏺ
NXTPHD028
1;73+'6F
䖛Ⓒ఼
োĩ;+5HY
ĩ;+5HY
䖛Ⓒ఼༫
䖛Ⓒ఼༫

QD145-15 6. 预防保养
NXT II 机械手册 219
〈H02 工作头〉
1. 拆下贴装工作头。(详细请参考 「5.8 贴装工作头的拆除 / 安装」。)
2. 使用一字型螺丝刀,松开过滤器套并卸下过滤器。
3. 将过滤器盖罩浸在中性洗涤剂溶液中进行清洗。污垢严重时,请更换新的部件。
备注 )将过滤器放入用于清洗的选项网笼中 (K1325C)。请在中性洗涤剂中浸泡 5 分钟后用
超声波清洗器清洗。
〈H04(S) 工作头〉
1. 拆下贴装工作头。(详细请参考 「5.8 贴装工作头的拆除 / 安装」。)
2. 旋转过滤器罩环,拆下过滤器套和过滤器。
3. 将过滤器套与过滤器浸在中性洗涤剂溶液中进行清洗。污垢严重时,请更换新的部品。
备注 )将收存在过滤器套中的过滤器放入用于清洗的选项网笼中 (K1325C)。请在中性洗涤
剂中浸泡 5 分钟后用超声波清洗器清洗。
0(&6
ఈ༈%পఈ⫼
ఈ༈$পఈ⫼
ఈ༈%পܗӊ⫼
ఈ༈$পܗӊ⫼
䖛Ⓒ఼
োĩ;+
䖛Ⓒ఼༫
䖛Ⓒ఼༫
䖛Ⓒ఼༫
䖛Ⓒ఼༫
䖛Ⓒ఼
োĩ;+
䖛Ⓒ఼
োĩ;+
䖛Ⓒ఼
োĩ;+
1;73+'6D
䖛Ⓒ఼㔽⦃
䖛Ⓒ఼༫$$2$/
ݙ᳝䖛Ⓒ఼