NXTII机械手册 - 第280页
6. 预防保养 QD145-15 256 NXT II 机械手册 10.用手动将贴装工作 头 (X 轴单元 ) 进行 10 次全程往复, 使润滑油循环。 11.再次擦去从滚珠丝 杆 ·LM 轨道渗出的润滑 油。 Y 轴的加油 12.用清洁的布,擦去 从 Y 轴 LM 轨 道渗出的润滑油。 13.请使用润滑油枪将 Y 轴 LM 导 轨的油嘴 (2) 各加 0.9 cc 的 N S7 或者 SR L。 14.用清洁的布,擦去渗出的多余润滑油…

QD145-15 6. 预防保养
NXT II 机械手册 255
〈M6-2/M6-2SP 模组时〉
备注 )Fuji 润滑油枪套件的润滑油枪 1 次喷射量约 0.6cc。请作为加油的参考值。
表中的加油量是对于 1 根滚珠丝杆、1 个 LM 导轨滑块的加油量。
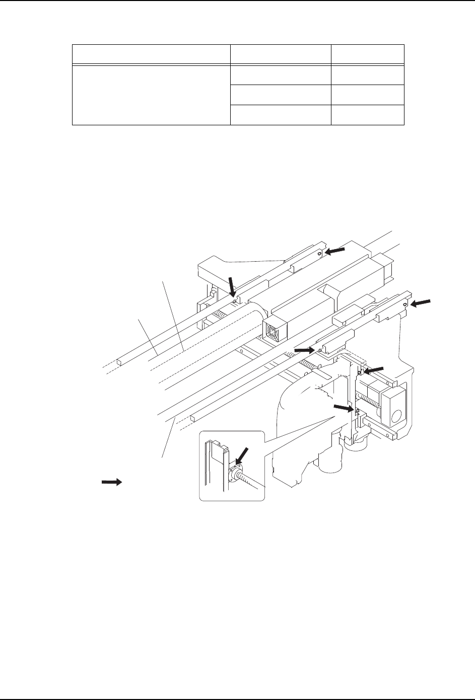
1. 拉出模组。(参考 「5.1 模组的拉出 / 插入」)
2. 将主电源开关 OFF。
3. 线性马达的轴处于常温后,请安装保护盖罩。
X 轴的加油
4. 请用清洁的布,擦去 X 轴滚珠丝杆的污垢。
5. 同样,擦去X轴LM导轨的污垢。
6. 请使用润滑油枪将 X 轴滚珠丝杆的油嘴 (1) 加 0.3cc 的 NS7 或者 SRL。
7. 用清洁的布,擦去渗出的多余润滑油。
8. 请使用润滑油枪将X轴LM导轨的油嘴(2)各加0.9cc 的 NS7 或者 SRL。
9. 用清洁的布,擦去渗出的多余润滑油。
润滑油 加油处 加油量 (cc)
NS7(NSK) 或者 SRL (协同油脂) (1) X 轴滚珠丝杆 0.3
(2) X 轴 LM 导轨 0.6
(3) Y 轴 LM 导轨 0.6
01MEC-0420Sb
2
2
1
3
3
3
3
㒓ᗻᷛሎ
Փ⫼⍺⒥⊍ᵾ
㒓ᗻ偀䖒䕈
ֱᡸⲪ㔽

6. 预防保养 QD145-15
256 NXT II 机械手册
10.用手动将贴装工作头 (X 轴单元 ) 进行 10 次全程往复,使润滑油循环。
11.再次擦去从滚珠丝杆 ·LM 轨道渗出的润滑油。
Y 轴的加油
12.用清洁的布,擦去从 Y 轴 LM 轨道渗出的润滑油。
13.请使用润滑油枪将 Y 轴 LM 导轨的油嘴 (2) 各加 0.9cc 的 NS7 或者 SRL。
14.用清洁的布,擦去渗出的多余润滑油。
15.用手动将 Y 轴单元进行 10 次全程往复,使润滑油循环。
16.再次擦去从 LM 轨道渗出的润滑油。
17.加润滑油后,请确认元件相机表面、吸嘴置放台、搬运轨道、Y 轴线性标尺、共面性传
感器用线性标尺等没有附着润滑油。如果附着润滑油,请用干净的没有线脚的干布擦
去。
注意 )擦去的时候,请不要用力过度以免损伤单元。
18.请取下线性马达轴的保护盖板。
19.插入模组。(参考 「5.1 模组的拉出 / 插入」)
注意
将 XY 机械手用手进行移动时,请抓住框架部分。抓住贴装工作头主体或者手柄时,请
不要对工作头施加压力。
请不要按压 X 轴齿轮盖罩。齿轮盖罩有可能变形。
注意
将 XY 机械手用手进行移动时,请抓住框架部分。抓住贴装工作头主体或者手柄时,请
不要对工作头施加压力。
请不要按压 X 轴齿轮盖罩。齿轮盖罩有可能变形。
01MEC-0970S
㒓ᗻ偀䖒䕈
݅䴶ᗻӴᛳ఼⫼㒓ᗻᷛሎ
㒓ᗻᷛሎ

QD145-15 6. 预防保养
NXT II 机械手册 257
6.8.7 XY 机械手平型电缆的加油
备注 )Fuji 润滑油枪套件的润滑油枪 1 次喷射量约 0.6cc。请作为加油的参考值。
以下以 M6-2(SP) 模组为例说明。
1. 拉出模组。(参考 「5.1 模组的拉出 / 插入」)
2. 将主电源 OFF。
警告
模组刚运转后,请不要直接触摸线性马达的轴和线圈部分。有可能因高温被灼伤。
模组的线性马达有强力的磁性。使用心藏起搏器的用户,请不要接近线性马达的轴或者
线圈部分 (请离开 400mm 以上进行操作)。有可能因为磁力造成心藏起搏器的误动。
注意
将 XY 机械手用手进行移动时,请抓住框架部分。抓住贴装工作头主体或者手柄时,请
不要对工作头施加压力。
请不要压住 X 轴的齿轮盖罩。因为齿轮盖罩有可能变形。
在模组的线性马达附近操作时 (55mm 以内 ),不要使用通常的金属工具,请使用非磁性
的工具。
在模组的线性马达附近 (55mm 以内 ),请不要将磁卡、手表、精密仪器等靠近。有可能
因磁力而产生故障。
在进行工作头更换和维修保养操作时,请注意不要将物品碰到线性马达上 , 会造成损
伤,如果在线性标尺上发生了伤痕或者错误时 , 有可能不能生产。那时,有必要更换
线性马达。
01MEC-0324Sb
㒓ᗻᷛሎ
;䕈啓䕂Ⲫ㔽
㒓ᗻ偀䖒㒓䚼ߚ
㒓ᗻ偀䖒䕈
润滑油 加油处 加油量 (cc)
G501( 信越化学 )
(K30315)
M3-2 (1) X 轴平型电缆和电缆承座 1.0
(2) Y 轴平型电缆 (左侧)和电缆承座 1.2
(3) Y 轴平型电缆 (右侧)和电缆承座 0.8
M6-2/
M6-2SP
(4) X 轴平型电缆和电缆承座 1.2
(5) Y 轴平型电缆和电缆承座 3