NXTII机械手册 - 第337页
QD145-15 6. 预防保养 NXT II 机械手册 313 2. 测定值超过上述的范围时请调整皮带张力 。拧松马达的固定螺栓后,旋转调 整螺栓进行 调整。 〈TZ 轴皮带张力〉( 料盘箱升降部 ) 1. 请测定皮带的张力。确认在跨距最长的皮 带中央的测定值是 60.0±3.0Hz。 2. 测定值超过上述的范围时请调整皮带张力 。 请松开张紧轮的固定螺栓后,旋转 调整螺栓进行调整。

6. 预防保养 QD145-15
312 NXT II 机械手册
驱动轴的加油
7. 用清洁的布,擦去驱动轴的污垢。
8. 取 0.375cc 的 Daphne Exponex No.2 到毛刷上。
9. 滑动驱动轴,用毛刷涂敷指定的润滑油。
10.滑动驱动轴,使润滑油循环。
11.擦去渗出的多余的润滑油。
12.安装料盘单元 -M 的盖罩。
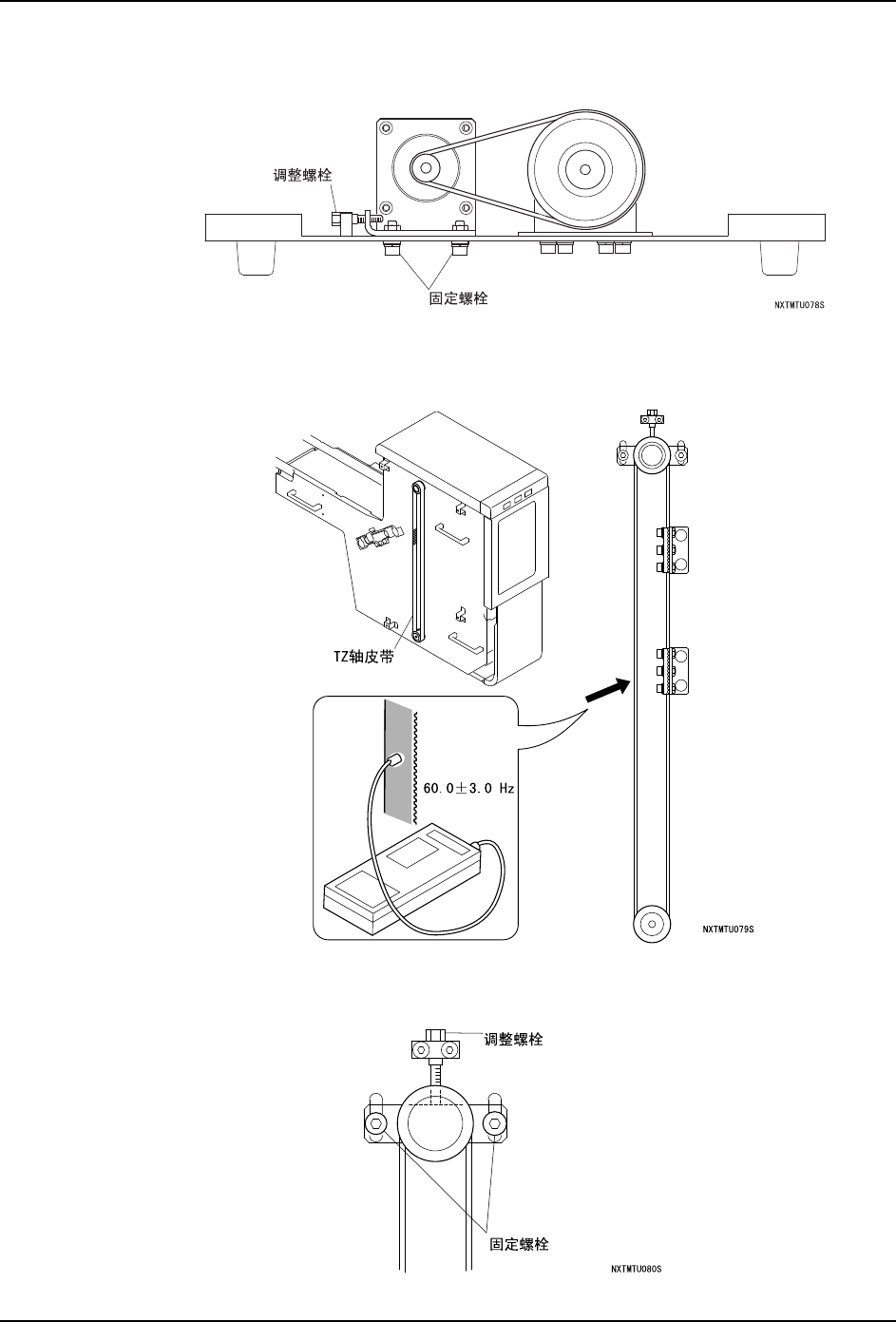
6.10.27 料盘单元 -M 皮带张力的检查 · 调整
在确认皮带张力时,请预先准备张力计。另外,请拆除料盘单元 -M。( 详细请参考 「5.11
料盘单元 -M 的安装 / 拆除」。)
〈TZ 轴皮带张力 (驱动部位)〉
1. 请测定皮带的张力。确认在跨距最长的皮带中央的测定值是 245.0±10.0Hz。
0(&6
ᅮԡ䫔
偅ࡼ䕈

QD145-15 6. 预防保养
NXT II 机械手册 313
2. 测定值超过上述的范围时请调整皮带张力。拧松马达的固定螺栓后,旋转调整螺栓进行
调整。
〈TZ 轴皮带张力〉( 料盘箱升降部 )
1. 请测定皮带的张力。确认在跨距最长的皮带中央的测定值是 60.0±3.0Hz。
2. 测定值超过上述的范围时请调整皮带张力。
请松开张紧轮的固定螺栓后,旋转调整螺栓进行调整。

6. 预防保养 QD145-15
314 NXT II 机械手册
〈TY 轴皮带张力〉( 离合器部 )
1. 请测定皮带的张力。确认在跨度最长的皮带中央的测定值是 225.0±20.0Hz。
2. 测定值超过上述的范围时请调整皮带张力。
请移动张紧轮进行调整。
r+]
7<䕈Ⲃᏺ
1;70786
1;70786
ᓴ㋻䕂