NXTII机械手册 - 第99页
QD145-15 4. 传感器配置图 NXT II 机械手册 75 4.14.4 元件搬运轨道 No. 地 址 信号名 1 IN11 不良元件排出许可确认 (中央) 2 IN12 不良元件排出许可确认 (旁侧) 3 IN13 不良元件 C/V 送料记数 4 OUT18 不良搬运轨道 ON N X T M T U021 1 3 2 4

4. 传感器配置图 QD145-15
74 NXT II 机械手册
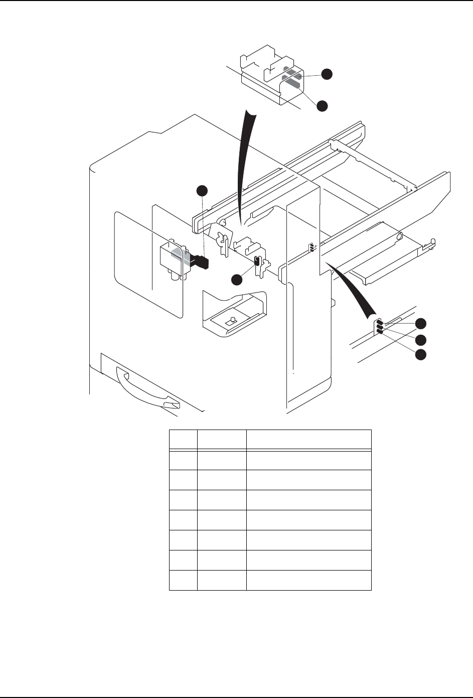
4.14.3 往复臂
No. 地址 信号名
1 IN20 往复臂后退端
2 IN21 往复臂夹紧打开确认
3 IN22 往复臂夹紧关闭确认
4 OUT22 往复臂部托架夹紧开关
5 IN18 TY 轴料盘高度监视 3
6 IN19 TY 轴料盘高度监视 2
7 IN2A TY 轴料盘高度监视 1
1
4
3
2
7
6
5
NXTMTU020a

QD145-15 4. 传感器配置图
NXT II 机械手册 75
4.14.4 元件搬运轨道
No. 地址 信号名
1 IN11 不良元件排出许可确认 (中央)
2 IN12 不良元件排出许可确认 (旁侧)
3 IN13 不良元件 C/V 送料记数
4 OUT18 不良搬运轨道 ON
NXTMTU021
1
3
2
4

4. 传感器配置图 QD145-15
76 NXT II 机械手册
4.14.5 吸取器
No. 地址 信号名
1 IN10 空料盘吸取状态确认
2 IN23 吸取器升降台上升确认
3 IN24 吸取器升降台下降确认
4 IN26 吸取器有无
5 OUT23 吸取器升降台上下
6 OUT27 吸器器真空 ON
NXTMTU105
2
3
5
6
4
1