P-0329-009_SIGMA-G5SII - 第74页
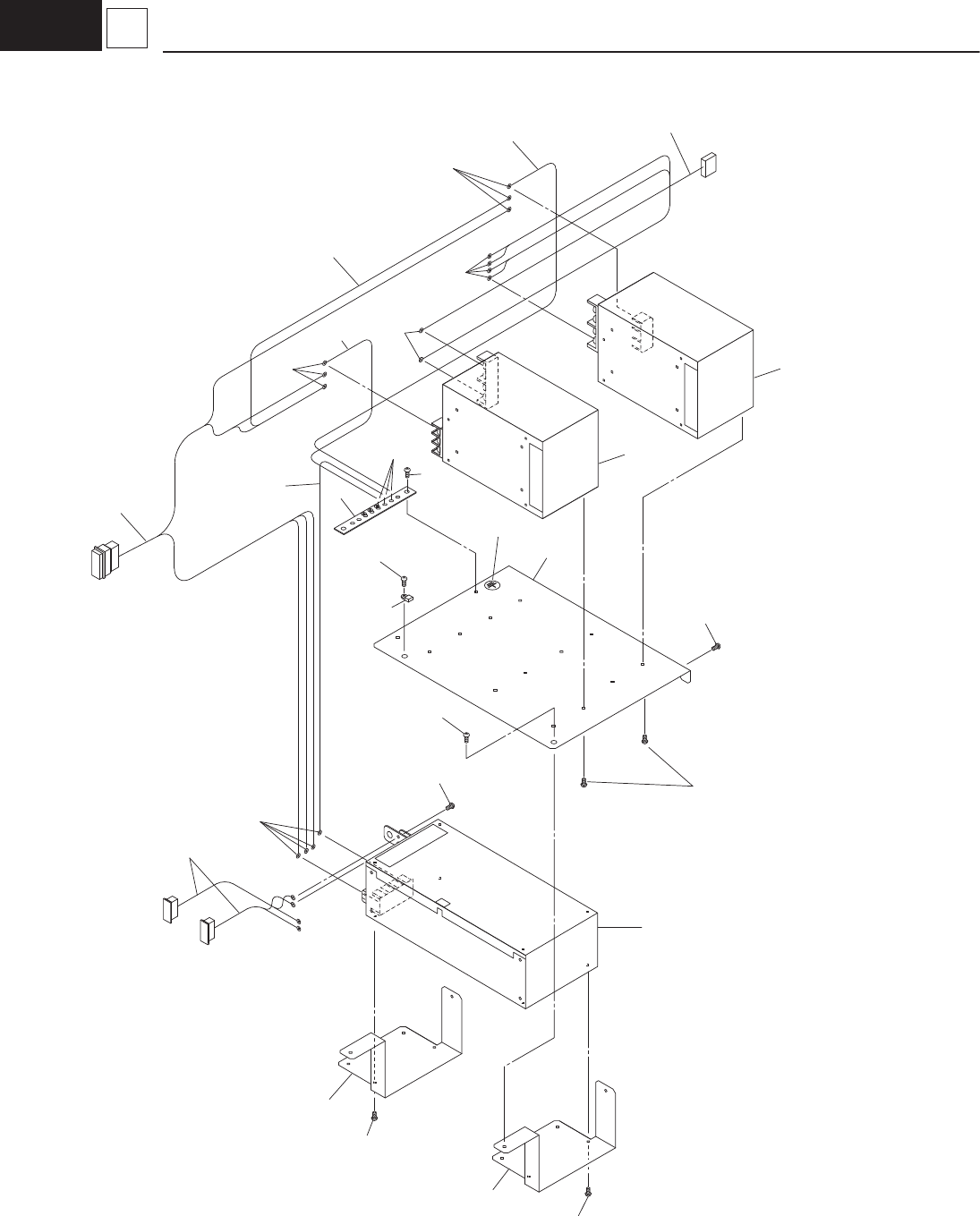
– 68 – D4 2006-009 1 DC Power D4 DC POWER SUPPL Y SECTION XG2 XG2 2 1 20 3 11 11 5 5 6 4 8 8 21 22 10 7 7 G2 14 16 12 17 18 13 16 16 19 15 19 14 19 14 19 G3 G1 9 14 19 15 19 XG1

– 67 –
ELECTRICAL SECTION 2
2006-009
A
X19404
915
914
841
907
840
841
840
915
914
915
914
913
915
914
915
914
908
909
912
910
911
915
914
915
901
902
903
915
903
915
903
904
906
905
902
U85
(UC16)
M177
U82
U81
U180
D81
U91
U92
D89
CPU2
U85
U82
U81
U91
CPU1
U92
U93
U94
A10
A63(B)
A63(F)
A63(B)
A63(F)
A10
No.
Part No.
Part Name Qty. Detail
Yamaha Hitachi
901 KU8-M66F5-20 CORD-VGA-2M 1
902 KYB-M6574-00 1005BC6S CORD-USB2M-A-A 1
903 KYB-M658H-00 23N30590 ACCESS-WIRING 2
904 KYB-M65BS-00 4W203562 LAN-CABLE-05M 1
905 KYB-M6570-00 1005BC5T LAN-CABLE-1M 1
906 KYX-M655K-00 HNS,CAMERA 1
907 KYB-M6573-00 1005BC5Z CORD-RS232C-4M 1
908 KYB-M6572-00 1005BC5Y CORD-RS232C-2M 1
909 KYB-M654E-00 1010BC6W CORD-FIBER 1
910 KYB-M654D-00 1010BC6V CORD-FIBER 1
911 KYB-M653Y-00 1010BC2V HNS,AE-LINK 1
912 KYB-M6540-00 1010BC2W HNS,AE-LINK 1
913 KYA-M656N-00 4W202695 CORD-LAN 1
914
KYB-M6588-00
23N20103 TUBE-WIRING 1
915 $AB100-W 0916D209 TIE 100MM 16

– 69 –
DC POWER SUPPLY SECTION
2006-009
No.
Part No.
Part Name Qty. Detail
Yamaha Hitachi
1 KYB-M656V-00 1005BA3L UNIT-POWER 1
2 KYB-M658T-00 4U200335 UNIT-POWER 1
3 KYB-M651U-00 0995IE2G UNIT-POWER 1
4 KYB-M652T-00 1010BA0F COVER PS 1
5 KYB-M652S-00 1010BA0E BRACKET 2
6 KYB-M6579-00 1010BA0K EARTHBAR 1
7 90990-66J015 221DA212 SCREW,TRUSS HEAD 4 TRS M5L6
8 90990-11J017 221DA062 SCREW,PAN HEAD WW 10 PAN M4L8 SW+FW
9 KYB-M65AW-00 23N30632 WIRING 4
10 90990-11J016 221DA053 SCREW,PAN HEAD WW 4 PAN M4L6 SW+FW
11 98702-04006 221DA113 SCREW,FLAT HEAD 4 FLT M4L6
12 KYB-M6544-00 1010BC32 HNS,24VOUT-1 1
13 KYB-M6546-00 1010BC34 HNS,G2OUT-1A 2
14
KYB-M65B3-00
4J300016 CAB_JOINTTERMIN 11
15
KYB-M65BB-00
4J300207 CAB_JOINTTERMIN 3
16
KYA-M6559-W0
CORD,REEL 1
17
KYC-M189X-W0
CORD,REEL 1
18 KYB-M6543-00 1010BC31 HNS,PSU_IN-2 1
19
KYB-M658B-00
23N20109 TUBE-WIRING 14
20 KYB-M658X-00 6P450074 EARTH-MARK-SEAL 1
21 98502-05008 221DA035 SCREW,PAN HEAD 2 PAN M5L8
22 92902-05200 221HA105 WASHER,PLAIN 2 FW5
