N7202A058B - 第227页
Ref No. Remark s R 1 Q'ty 11 基板下受けブロック デュアル260 mm対応:NPM-T T2 Board Suppor t Block For Dual 260mm:NPM -T T2 イラスト No. Part No. 品 名 品 番 数量 R 2 パーツリスト Kit No. キット品番 Kit Nam e キット名称 MTKA0051 37AA Part Nam e 備 考 セクションN o.…

11
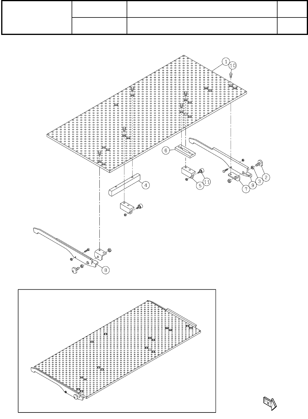
基板下受けブロックデュアル260mm対応:NPM-TT2
Board Support Block For Dual 260mm:NPM-TT2
パーツレイアウト
Kit No.
キット品番
Kit Name
キット名称
MTKA005137AA
セクションNo.
PARTS LAYOUT
Section No.
--
O43
( KMTKA005137AA-01 )

Ref
No.
Remarks R
1
Q'ty
11
基板下受けブロックデュアル260mm対応:NPM-TT2
Board Support Block For Dual 260mm:NPM-TT2
イラスト
No.
Part No.
品 名品 番 数量
R
2
パーツリスト
Kit No.
キット品番
Kit Name
キット名称
MTKA005137AA
Part Name
備 考
セクションNo.
PARTS LIST
Section No.
R
3
PLATE
1
1 MTPA008370AA
PIN
2
2 N210161075AA
COLLAR
2
3 N210156596AA
BLOCK
1
4 MTPA008371AA
BLOCK
2
5 MTPA008373AA
BLOCK
1
6 N210165840AC
BRACKET
2
7 N210156599AB
LEVER
1
8 N210161078AC
LEVER
1
9 N210161079AC
BOLT
12
10 N510067773AA Low Head Cap Screw M4X8-8.8 A2J(Trivalent)
CAM-FOLLOWER
2
11 KXF00BFAA00 CF3UU-A
O44
--
( KMTKA005137AA-01 )

12
基板下受けブロックシングル260mm対応:NPM-TT2
Board Support Block For Single 260mm:NPM-TT2
パーツレイアウト
Kit No.
キット品番
Kit Name
キット名称
MTKA005138AA
セクションNo.
PARTS LAYOUT
Section No.
--
O45
( KMTKA005138AA-01 )