N7202A058B - 第291页
Ref No. Remark s R 1 Q'ty 33 13連供給部:N PM-TT2 13-Slot Supply Part:NPM -TT2 イラスト No. Part No. 品 名 品 番 数量 R 2 パーツリスト Kit No. キット品番 Kit Nam e キット名称 MTKA0036 82AA Part Nam e 備 考 セクションN o. PARTS LIST Section No. R 3 BASE …

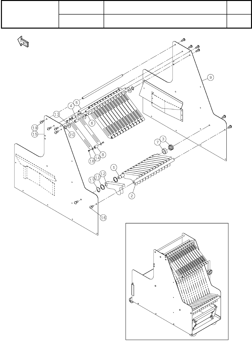
33
13連供給部:NPM-TT2
13-Slot Supply Part:NPM-TT2
パーツレイアウト
Kit No.
キット品番
Kit Name
キット名称
MTKA003682AA
セクションNo.
PARTS LAYOUT
Section No.
--
O107
( KMTKA003682AA-08 )

Ref
No.
Remarks R
1
Q'ty
33
13連供給部:NPM-TT2
13-Slot Supply Part:NPM-TT2
イラスト
No.
Part No.
品 名品 番 数量
R
2
パーツリスト
Kit No.
キット品番
Kit Name
キット名称
MTKA003682AA
Part Name
備 考
セクションNo.
PARTS LIST
Section No.
R
3
BASE
1
1 MTPA005589AB
WASHER
5
2 N210143841AB
GUIDE
14
3 MTPA021725AA
GUIDE
14
4 N210092715AB
PLATE
1
5 MTPA006702AA
BASE
1
6 N210143996AA
AIR-BLOCK
1
7 N210143997AA
STOPPER
1
8 N210129516AB
SHAFT
1
9 N210143998AA
COLLAR
13
10 KXFB02EEA00
CUSHION
1
11 MTPZ000227AA
CUSHION
1
12 MTPZ000228AA
COVER
1
13 N210143999AB
COVER
1
14 N210144000AA
BRACKET
5
15 KXFB02F4A00
GUIDE
1
16 N210144001AA
BRACKET
1
17 MTPB021313AA
COVER
1
18 N210060009AE
PIN
2
19 N510020620AA MMS6-25
PIN
56
20 KXF0CXLAA00 1017003-30010
PIN
5
21 KXF0CXHAA00 1017003-40008
PIN
2
22 KXF0CXJAA00 1017003-50010
SPACER
14
23 KXF0CTQAA00 BRU-309S
COUPLER
13
24 N510044684AA 103C-M5-KK01
SPACER
4
25 N510017064AA ASF-425E
SCREW
4
26 N510018283AA
Cross recessed Truss head machine screw M4X8-4.8 A2S (Trivalent)
JOINT
1
27 N510066794AA KQ2L06-01NS
PLUG
1
28 N42201S PT1/8
SCREW
2
29 N510018104AA
Cross recessed Pan head machine screw for precision devicesM2X4Type
CLIP
5
30 KXF0BLPAA00 TA1S8-M
BOLT
5
31 N510017534AA
SSS 003 Hexagon socket button head screw M4X6-10.9 A2J (Trivalent)
O108
--
( KMTKA003682AA-08 )

34-A
13連供給リールホルダ部:NPM-TT2
13-Slot Supply Reel Holder Part:NPM-TT2
パーツレイアウト
Kit No.
キット品番
Kit Name
キット名称
MTKA008019AB
セクションNo.
PARTS LAYOUT
Section No.
--
O109
( KMTKA008019AB-00-1 )