N7202A058B.pdf - 第529页
Ref No. Remark s R 1 Q'ty 120 交換台車支持部( 切替仕様):N PM-W2 Feeder cart support(1 7-Slot_S Tray Feeder):N PM-W2 イラスト No. Part No. 品 名 品 番 数量 R 2 パーツリスト Kit No. キット品番 Kit Nam e キット名称 MTKA0044 24AA Part Nam e 備 考 セクションN o. P…

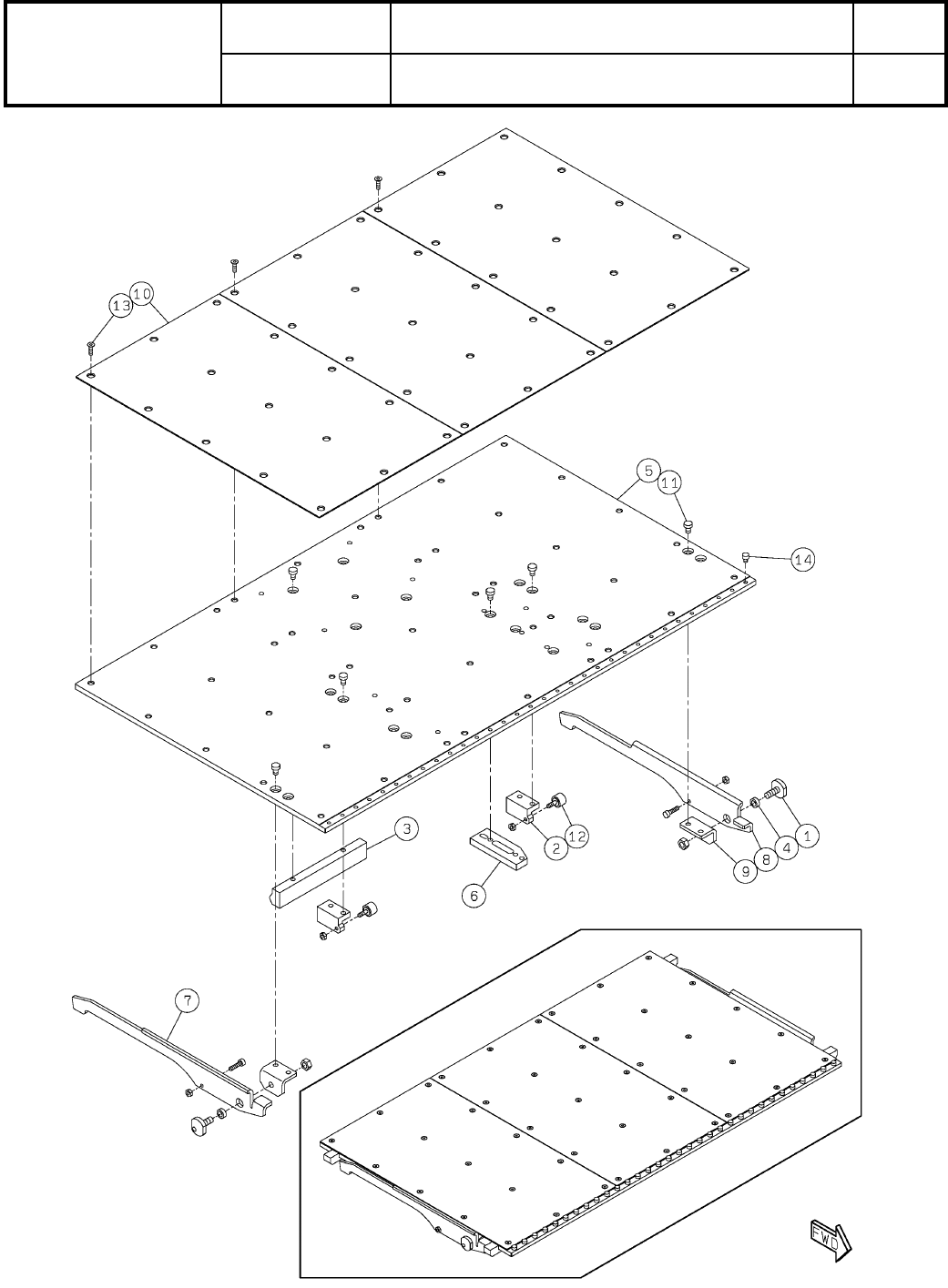
120
交換台車支持部(切替仕様):NPM-W2
Feeder cart support(17-Slot_S Tray Feeder):NPM-W2
パーツレイアウト
Kit No.
キット品番
Kit Name
キット名称
MTKA004424AA
セクションNo.
PARTS LAYOUT
Section No.
--
O345
( KMTKA004424AA-03 )

Ref
No.
Remarks R
1
Q'ty
120
交換台車支持部(切替仕様):NPM-W2
Feeder cart support(17-Slot_S Tray Feeder):NPM-W2
イラスト
No.
Part No.
品 名品 番 数量
R
2
パーツリスト
Kit No.
キット品番
Kit Name
キット名称
MTKA004424AA
Part Name
備 考
セクションNo.
PARTS LIST
Section No.
R
3
PLATE
1
1 N210109720AA
PLATE
1
2 N210091010AB
GUIDE
1
3 N210091012AC
WASHER
3
4 MTPA016132AA
BOLT
3
5 MTPA007066AB
PLATE
1
6 N210091013AA
WASHER
3
7 MTPB004070AB
CAM-FOLLOWER
1
8 N510032929AA CF12VBUUR
STOPPER
1
9 N510029795AA SPM-M8
SPACER
2
10 N510020062AA 3382330-50050
C-RING
3
11 KXF0BWNAA00 STW-4
O346
--
( KMTKA004424AA-03 )

122
基板下受けブロック(自動交換用):NPM-TT(Front側)
Board Support Block(Automatic Change):NPM-TT(Front Side)
パーツレイアウト
Kit No.
キット品番
Kit Name
キット名称
N610144183AD
セクションNo.
PARTS LAYOUT
Section No.
--
O347
( KN610144183AD-03 )