KE-3010_KE-3020V_KE-3020VR-Rev05 - 第149页
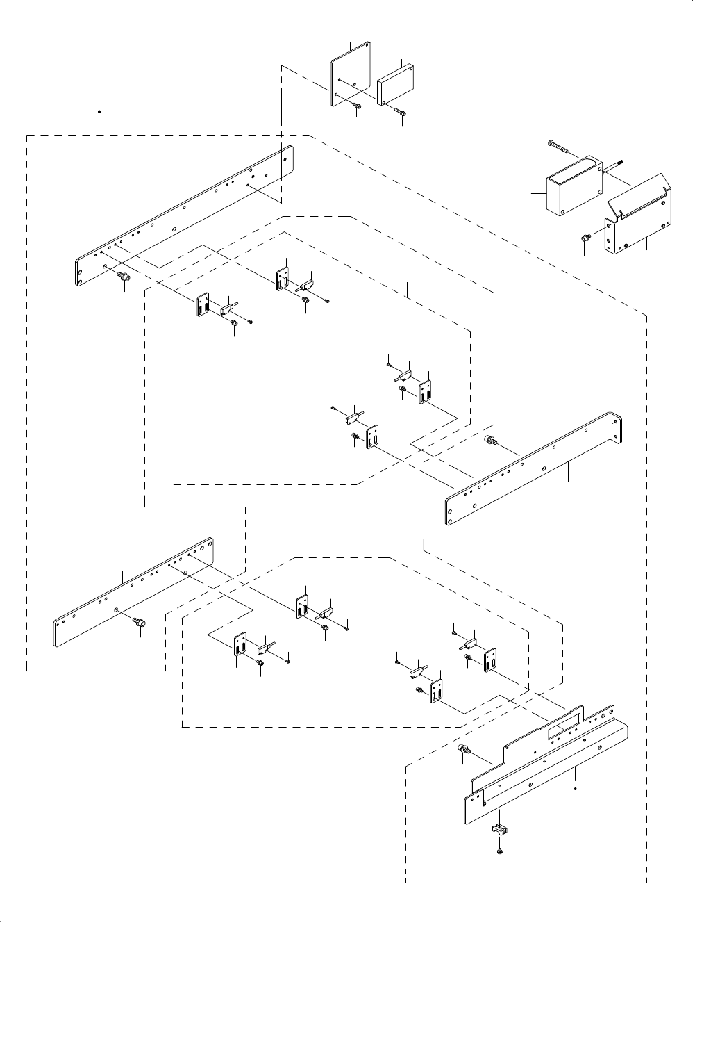
- 140 - REF.NO NOTE PART NO D E S C R I P T I O N 品 名 Qty 1 401-14461 BANK UNIT FMSRMS バンクユニットFMSR MS 1 2 401-14138 BANK SUPPORT UNIT バンクサポートユニット (1) 3 401-09098 BANK SUP A バンクサポートA (2) 4 SL-6083092-TN SCREW 座金付き六角穴ボルト (…

- 139 -
70.FEEDER BANK COMPONENTS(2)
フィーダバンク関係(2)
53
65
66
67
71
68
70
69
59
60
61
57
56
63
62
64
58
50
54
54
55
55
51
52
7
6
4
8
48
49
46
47
10
9
2
16
17
15
13
14
4
11
3
42
37
33
24
23
21
40
34
34
39
26
25
27
19
41
29
36
20
35
41
29
32
31
38
30
22
40
43
45
44
43
45
44
28
34
34
25
39
27
26
18
1
16
17
15
12
5

- 140 -
REF.NO NOTE PART NO D E S C R I P T I O N
品 名
Qty
1 401-14461 BANK UNIT FMSRMS
バンクユニットFMSRMS
1
2 401-14138 BANK SUPPORT UNIT
バンクサポートユニット
(1)
3 401-09098 BANK SUP A
バンクサポートA
(2)
4 SL-6083092-TN SCREW
座金付き六角穴ボルト
(16)
5 WP-1052001-SC WASHER 10
平座金みがき丸 M10
(8)
6 401-14139 BANK SUP B L ASM
バンクサポートB L組
(2)
7 401-09099 BANK SUP B L
バンクサポートB L
(1)
8 E2623-721-000 BANK LOCATE BUSH B
バンクロケートブッシュB
(1)
9 401-14140 BANK SUP B R ASM
バンクサポートB R組
(2)
10 401-09100 BANK SUP B R
バンクサポートB R
(1)
11 E2623-721-000 BANK LOCATE BUSH B
バンクロケートブッシュB
(1)
12 SL-6104042-TN BOLT
座金付き六角穴ボルト
(8)
13 HX-0029400-00 FIXED BASE
固定ベース
(4)
14 SM-4040801-SC SCREW M4X0.7 L=8
なべ小ねじ M4X0.7 L=8
(4)
15 400-93849 SENSOR PLATE
センサプレート
(4)
16 400-92511 SWITCH D3DC-3
スイッチD3DC−3
(4)
17 SM-3040652-TN SCREW M4 L=6
丸ねじ M4 L=6
(8)
18 401-14142 M FIXED BANK UNIT
M固定バンクユニット
(2)
19 E2501-729-AA0 FEEDER BANK ASM
フィーダバンク組
(1)
20 E2501-729-0B0 FEEDER BANK (30) COMPL.
フィーダバンク結合
(1)
21 E2502-729-000 PLATE STAND L
プレートスタンドL
(1)
22 E2503-729-000 PLATE STAND R
プレートスタンドR
(1)
23 E2515-729-000 FIXING PLATE
フィクシングプレート
(1)
24 E2516-729-000 NUMBER PLATE
ナンバプレート
(1)
25 E2505-729-0A0 MARK ASM.
マーク組
(2)
26 E2601-725-000 MARK
マーク
(1)
27 E2505-729-000 MARK BASE
マークベース
(1)
28 E2504-729-000 LOCK SHAFT
ロックシャフト
(1)
29 E2513-729-000 FIXING PLATE B
フィクシングプレートB
(4)
30 E2608-721-000 PLATE SUPPORT
プレートサポート
(4)
31 E2609-721-000 BANK LOCATE PIN A
バンクロケートピンA
(1)
32 E2610-721-000 BANK LOCATE PIN B
バンクロケートピンB
(1)
33 400-98252 POSITION LABEL
ポジションラベル
(1)
34 SM-8041402-TP SCREW M4X0.7 L=14
止めねじ M4X0.7 L=14
(4)
35 SM-6040802-TN SCREW M4X0.7 L=8
六角穴ボルト M4X0.7 L=8
(17)
36 SL-6031292-TN SCREW M3 L=12
座金付き六角穴ボルト M3 L=12
(12)
37 SL-6041292-TN SCREW M4 L=12
座金付き六角穴ボルト M4 L=12
(5)
38 SL-6041692-TN SCREW M4 L=16
座金付き六角穴ボルト M4 L=16
(8)
39 SL-6041292-TN SCREW M4 L=12
座金付き六角穴ボルト M4 L=12
(4)
40 SL-6052092-TN SCREW M5 L=20
座金付き六角穴ボルト M5 L=20
(4)
41 SM-4040655-SN SCREW M4X0.7 L=6
なべ小ねじ M4 L=6
(8)
42 SM-6030552-KS SCREW
平ねじ M3 L=5
(9)
43 NM-6080003-SC NUT M8X1.25 TYPE3
六角ナット M8X1.25 3種
(2)
44 WP-0841601-SC WASHER M8
平座金みがき丸 M8
(2)
45 WS-0820002-KN SPRING WASHER M8
ばね座金 M8
(2)
46 SL-6084092-TN SCREW M8 L=40
座金付き六角穴ボルト M8 L=40
(2)
47 SM-6085002-TN SCREW
六角穴ボルト
(2)
48 WP-0841601-SC WASHER M8
平座金みがき丸 M8
(2)
49 WS-0820002-KN SPRING WASHER M8
ばね座金 M8
(2)
50 400-93831 DRIVE CYLINDER UNIT
ドライブシリンダユニット
(2)
51 400-93843 DRIVER SUPPORT
ドライバサポート
(1)
52 400-00575 DRIVE CYLINDER L
ドライブシリンダL
(1)
53 400-00576 DRIVE CYLINDER R
ドライブシリンダR
(1)
54 SL-6051292-TN SCREW M5 L=12
座金付き六角穴ボルト M5 L=12
(2)
55 SL-6052592-TN SCREW M5 L=25
座金付き六角穴ボルト M5 L=25
(6)
56 PJ-3080600-03 UNION Y
ユニオンワイ
(1)
57 BT-0600400-EC URETHANE TUBE BLUE 6X4
ポリウレタンチューブ 青 6X4
(0.8)
58 E2634-721-0A0 DRIVER BRACKET SUPPORT A ASM.
ドライバブラケットサポートA組
(2)
59 E2634-721-000 DRIVER BRACKET SUPPORT A
ドライバブラケットサポートA
(2)
60 SL-6052092-TN SCREW M5 L=20
座金付き六角穴ボルト M5 L=20
(4)
61 SL-6053592-TN SCREW M5 L=35
座金付き六角穴ボルト M5 L=35
(4)
62 400-26804 DS CONNECTOR BRACKET
DSコネクタブラケット
(2)
63 SM-4861001-SC SCREW M2.6 L=10
なべ小ねじ M2.6 L=10
(8)
64 SL-6051092-TN SCREW M5 L=10
座金付き六角穴ボルト M5 L=10
(2)
65 400-93832 DC AIR PARTS
ドライブシリンダエアパーツ
(2)
66 PJ-3080600-03 UNION Y
ユニオンワイ
(2)
67 PJ-3010651-06 FEMALE UNION
メスユニオン
(1)
68 E2904-700-000 SOCKET
ソケット
(1)
69 PJ-3040600-01 REDUCER ELBOW
レデューサエルボ
(1)
70 PJ-3080600-03 UNION Y
ユニオンワイ
(1)
71 BT-0600400-EC URETHANE TUBE BLUE 6X4
ポリウレタンチューブ 青 6X4
(4)

- 141 -
71.FEEDER BANK COMPONENTS(3)
フィーダバンク関係(3)
32
31
30
29
28
27
34
33
1
2
19
11
3
4
9
5
10
6
23
20
22
24
23
21
22
24
24
24
22
25
22
23
26
23
16
14
16
14
16
13
15
14
12
15
18
15
14
17
16
15
8
7
6
6
6