SIPLACE-SX4-DX4-用户手册 - 第31页
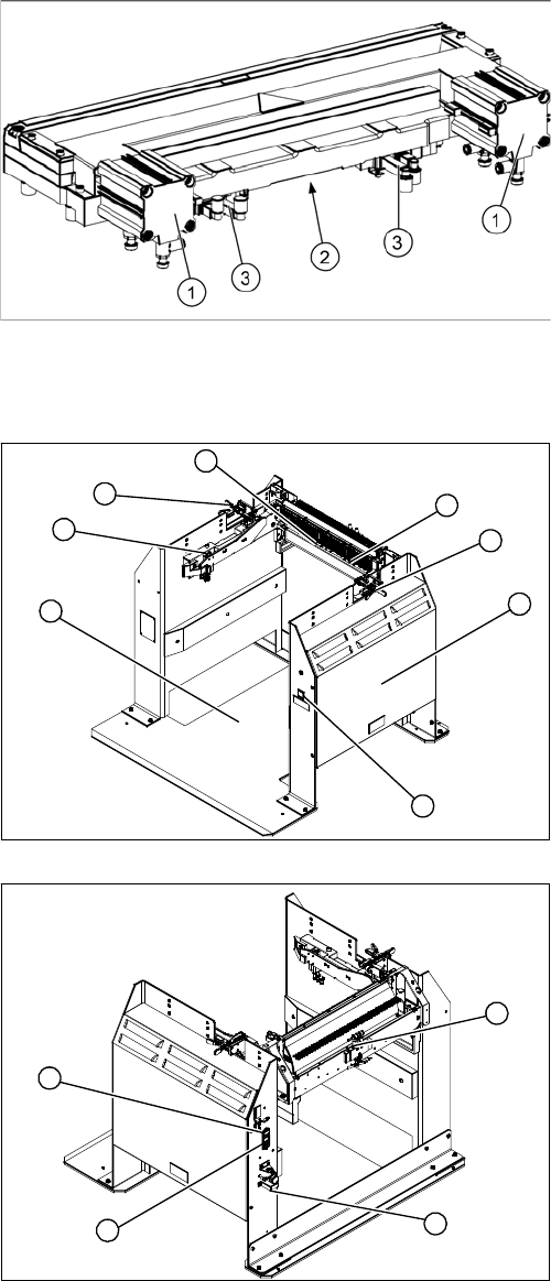
Service Work 3.1.1 Replacing the Gas Pressure Shock Absorber on the Cover [0 3086743-xx] Basic Machine Service Manual SIPLACE SX4/DX4 31 3 3 S e r v ic e W o r k Service Work 3.1 3 . 1 B a s ic M a c h in e Basic Machine…

Overview of the Modules
Cutter 2.9.4 Width Adjustment
30 Service Manual SIPLACE SX4/DX4
2.13
2.13 Cutter
Cutter
2.14
2.14 Docking Station for X-Series Component Trolley
Docking Station for X-Series Component Trolley
1. Pneumatic cylinder
2. Electrical connection
3. Solenoid valves.
1. Docking station – assembly [00116933-xx]
2. Unlocking pushbutton [00334095-xx]
3. Cover (with power pack behind [03025938-XX] and
pressure control valve for locking cylinder)
4. Locking lever [03025104-xx]
5. Feeder unlock device 40-fold [03011582-XX]
6. Feeder Control Unit (FCU)
Prior to FS04: [03020068-xx]
From FS04: [03066685-xx]
7. Short-stroke cylinder for locking unit [03034831-xx]
1. Control valve [03003489-xx]
2. ON/OFF switch
3. Microfuse [03033387-xx]
4. Pressure control valve for bulkcase feeder and main
connection (5.5 bar)
3
4
1
7
6
5
4
2
1
4
3
2

Service Work
3.1.1 Replacing the Gas Pressure Shock Absorber on the Cover [03086743-xx] Basic Machine
Service Manual SIPLACE SX4/DX4 31
3
3 Service Work
Service Work
3.1
3.1 Basic Machine
Basic Machine
3.1.1
3.1.1 Replacing the Gas Pressure Shock Absorber on the Cover [03086743-xx]
Replacing the Gas Pressure Shock Absorber on the Cover [03086743-xx]
Parts, equipment and tools
▪ Gas pressure spring D3D3B90-135-430-004/230N [03086743-xx]
▪ Loctite 638 [00317731-xx], if required (for loose screwed fixtures)
Overview
Removal
► Release and remove the circlip on the top holder of the gas pressure shock absorber.
► Remove the gas pressure shock absorber from the spherical head on the top and bottom holder.
NOTICE
Loose screwed fixtures
► Also observe section "3.1.1.1 Troubleshooting – Loose Screwed Fixtures on the Gas
Springs" [ ➙ 32].
1. Gas pressure spring on the cover
(two x per cover)
► Switch off the machine, disconnect it from the power
supply and secure it to prevent unauthorized reacti-
vation. Observe the instructions in section "1.2 Pre-
paratory Work..." [ ➙ 12].
► Open the cover and fix it in a position which gives you
best access for working and which ensures that it
cannot close itself on its own.
► Release and remove the circlip (1) on the bottom
holder of the gas pressure shock absorber.
CAUTION!
As soon as one circlip is released, the cover can fall down
if not sufficiently fixed.

Service Work
Basic Machine 3.1.1 Replacing the Gas Pressure Shock Absorber on the Cover [03086743-xx]
32 Service Manual SIPLACE SX4/DX4
Installation
► Follow the removal instructions in reverse order for installation. Also observe the following instruc-
tions:
See also
3.1.2 Replacing the Cover Switch [03055263-xx] [ ➙ 34]
3.1.1.1
3.1.1.1 Troubleshooting – Loose Screwed Fixtures on the Gas Springs
Troubleshooting – Loose Screwed Fixtures on the Gas Springs
Problem
Due to loosened screwed fixtures on the gas springs, there is a risk of a gantry crash.
Cause of Hazard
CAUTION
Installation instructions
► Observe the correct installation direction for the gas pressure shock absorber.
► You may have to compress the gas pressure shock absorber slightly when installing it.
In older gas spring versions with FS01, the screwed
fixtures (1) between the gas springs and the end pieces
could loosen.
SX1/SX2/DX1/DX2:
Gas springs 08/19 175N [03057763-01]
SIPLACE SX4/DX4/X-Series S:
Gas springs D3D3B90-135-430-004/230N
[03086743-01]
Machines affected:
SX1/SX2, DX1/DX2: K001G- to K800G-,
L001G- to L059G-, L200G- to L499G-
SX4/DX4: F001- to F186-
X-Series S: G001- to G102-
NOTICE!
This problem no longer exists in machines manufactured
since week 30/2013 or in newer versions of the gas
springs with FS02.