KE-3020_KE-3020R-Rev07PDFA - 第95页
- 88 - NOTE( 注記 ) #01....FOR FRONT・LEFT-RIGHT 手前・左右用 #02....FOR FRONT・RIGHT-L EFT 手前・右左用 *INSTALLATION POSIT ION AND DIRECT ION VARY IF THE PWB T RANSFER REFERENCE IS DIFFE RENT. 基板搬送基準が異なると取付位置、方向が変わります。 REF.NO NOTE PAR…

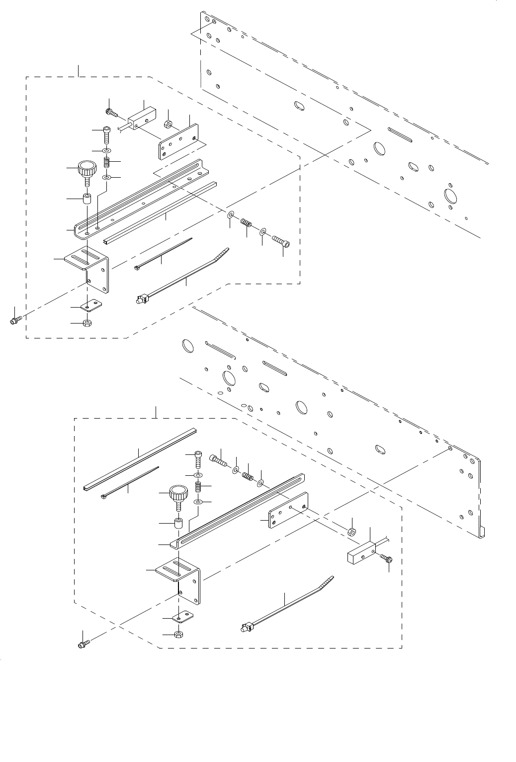
- 87 -
44.PWB CONVEYOR COMPONENTS(8)
基板搬送関係(8)
5
24
23
22
25
18
21
A
17
20
20
A
15
19
1
2
3 4
16
6
7
8
9
10
11
12
13
26
27
B
B
14

- 88 -
NOTE( 注記 ) #01....FOR FRONT・LEFT-RIGHT 手前・左右用
#02....FOR FRONT・RIGHT-LEFT 手前・右左用
*INSTALLATION POSITION AND DIRECTION VARY IF THE PWB TRANSFER
REFERENCE IS DIFFERENT.
基板搬送基準が異なると取付位置、方向が変わります。
REF.NO NOTE PART NO D E S C R I P T I O N
品 名
Qty
1
#02
400-94888 STOPPER_L_ASM_L
ストッパL組L
1
2
#01
400-93938 STOPPER_R_ASM_L
ストッパR組L
1
3
#02
400-93922 STOPPER_FRAME_L_L
ストッパフレーム_L_L
(1)
4
#01
400-93921 STOPPER_FRAME_R_L
ストッパフレームR_L
(1)
5 SL-6030842-TN SCREW M3 L=8
座金付き六角穴ボルト
(1)
6 400-00910 STOPPER PIN
ストッパピン
(1)
7 RE-0200000-K0 E-RING 2
E形止め輪 2
(1)
8 WP-0320501-SC WASHER M3
平座金 3.2X7X0.5
(1)
9 400-00911 STOPER CONNECT
ストッパコネクト
(1)
10 PA-1002008-A0 AIR CYLINDER
エアシリンダ
(1)
11 SM-6031402-TN SCREW M3X0.5 L=8
六角穴ボルト
(2)
12 PC-0105080-00 SPEED CONTROLLER
スピードコントローラ
(1)
13 PJ-3040405-11 ELBOW UNION
エルボユニオン
(1)
14 SL-6041292-TN SCREW
座金付き六角穴ボルト
(2)
15 E2169-721-000 HOLD PLATE
ホールドプレート
(1)
16 400-00909 STOPER
ストッパ
(1)
17 E2233-725-000 STOPPER CHIP
ストッパチップ
(1)
18 SM-1030401-SE SCREW M3 L=4
皿ねじ M3X0.5 L=4
(1)
19 SM-1031201-SC SCREW M3X0.5 L=12
皿小ねじ M3X0.5 L=12
(1)
20 E2039-721-000 WASHER A
スラストワッシャA
(2)
21 E2038-721-000 STOPPER COLLAR
ストッパカラー
(1)
22 WP-0330516-SC WASHER 3.3X8X0.5
平座金 3.3X8X0.5
(1)
23 WS-0310002-KN SPRING WASHER M3
ばね座金 3.1X5.9X0.7
(1)
24 NM-6030001-SC NUT M3X0.5 TYPE1
六角ナット M3X0.5 1種
(1)
25 400-23788 STOPER SPACER
ストッパスペーサ
(1)
26 PC-0124010-00 SPEED CONTROLLER
スピード コントローラ
(1)
27 BT-0400251-EA TUBE HOSE, BLUE
ウレタンホース 青
(0.5)

- 89 -
45.PWB CONVEYOR COMPONENTS(9)
基板搬送関係(9)
2
4
6
8
7
9
22
10
10
11
11
26
12
21
20
22
23
24
25
26
26
27
19
18
27
7
11
11
26
25
12
13
28
29
14
30
15
16
31
33
33
1
5
17
3
32