00190973-02 - 第323页
5 Funzioni Vision Istruzioni per l’uso SIPLACE 80S-20/F4/F4-6 5.7 Breve guida descrittiva delle f orme involucro Edizione 07/97 V ersione software dalla SR.403.xx 5 - 116 Preparato re Fig. 5.7.4 Diagram ma a blocchi ’Pr …

Istruzioni per l’uso SIPLACE 80S-20/F4/F4-6 5 Funzioni Vision
Edizione 07/97 Versione software dalla SR.403.xx 5.7 Breve guida descrittiva delle forme involucro
Preparatore 5 - 115
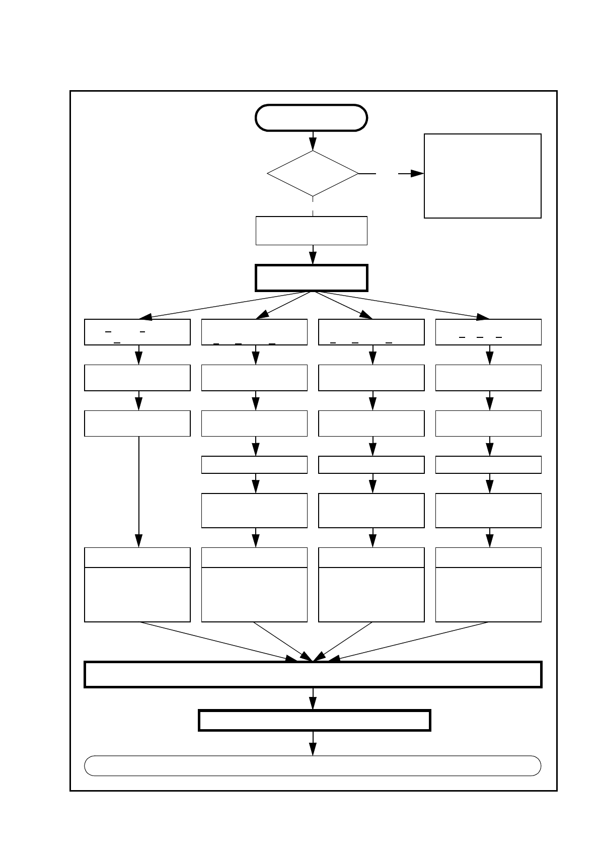
Fig. 5.7.3 Diagramma a blocchi ’Programmazione e controllo di una forma involucro (GF)’, Parte 1 - calcolatore di linea
Fate attenzione al fatto che
nel caso degli FI standard si
può modificare il riconosci-
mento del CO con TESTA
CO (se necessario copiare
il file FI trasformandolo in
un altro file [_file.SST ] )
Si
File
GF disponi-
bile?
Programmare il file FI
con il n. >1499
No
Selezione tipo involucro
FDC irregolari
F
ully Defined Comp.
FDC
regolari
F
ully Defined Comp.
Partially defined
C
omponent
Ball Grid Array
Inserire
commento utente
Inserire
commento utente
Inserire
commento utente
Inserire
commento utente
Misure nominali GF e
valori di tolleranza
Misure nominali GF e
valori di tolleranza
Misure nominali GF e
valori di tolleranza
Misure nominali GF e
valori di tolleranza
Dimensioni dei corpiDimensioni dei corpi Dimensioni dei corpi
Programm. gruppi
di piedini e
dati modelli piedini
Programm. gruppi
di piedini e
dati modelli piedini
Programm. griglia ball
e dati modello ball
Nuovo componente
Dati di lavorazione
tipo pipette (telecamera)/
tipo sistema sensori/
controlli vuoto/ parametri
di lavor./ ridurre acceler.
Dati di lavorazione
tipo pipette (telecamera)/
tipo sistema sensori/
controlli vuoto/ parametri
di lavor./ ridurre acceler.
Dati di lavorazione
tipo pipette (telecamera)/
tipo sistema sensori/
controlli vuoto/ parametri
di lavor./ ridurre acceler.
Dati di lavorazione
tipo pipette (telecamera)/
tipo sistema sensori/
controlli vuoto/ parametri
di lavor./ ridurre acceler.
SALVARE
Continuazione della programmazione nella stazione (vedi Fig. 5.7.4)
Programmare informazioni supplementari file

5 Funzioni Vision Istruzioni per l’uso SIPLACE 80S-20/F4/F4-6
5.7 Breve guida descrittiva delle forme involucro Edizione 07/97 Versione software dalla SR.403.xx
5 - 116 Preparatore
Fig. 5.7.4 Diagramma a blocchi ’Programmazione e controllo di una forma involucro (GF)’, Parte 2 - calcolatore della stazione
No
Inviare ed allestire programma ed allestimento con questa forma involucro nella stazione
Nel „Visionsystem“ „Testa CO“ modificare GF se necessario
Testa a revolver
preleva GF (CO)
Testa montaggio IC
preleva GF (CO)
Raffigura CO Misura CO
Controlla GF (CO)
Return per il ciclo di misura succ.
Raffigura CO
Controlla GF (CO)
Return per ciclo di mis. succ.
Misura GF (CO)
Si è
presentato un
messaggio
Sì
Ripeti più volte misurazione
(spostare CO sulla pipetta simula il
prelievo di diversi CO) e controlla
risultati
Sempre uguale?
Sì
Monta più volte !
Importante:
la manipolazione di
componenti nella stazione
deve rimanere un‘eccezione.
In generale si devono
modificare solo
pochi componenti.
8. Programma contrasto
(programma tavolo)
7. Modifica dimensioni pin/ball
6. Modifica contrasto pin/ball
5. Modifica dimensioni componenti
4. Modifica modalità e parametri
misura
3. Modifica illuminazione
2. Raffigura componente
1. Errore di manipol.: angolo prel.,
tipo pipetta, CO a pipetta, ecc...
No

Istruzioni per l’uso SIPLACE 80S-20/F4/F4-6 5 Funzioni Vision
Edizione 07/97 Versione software dalla SR.403.xx 5.7 Breve guida descrittiva delle forme involucro
Preparatore 5 - 117
5.7.3 Componenti e metodi di misura possibili per il centraggio
approssimato (A) e di precisione (P)
*) La modalità LEAD, con finestre di analisi combinate per ogni fila di PIN sostituisce il metodo di misura
CORNER. La misurazione della divisione viene sostituita da una misurazione della differenza dei piedini
(omologata).
Se uno o più valori dei risultati sono al di fuori della tolleranza
il componente non verrà montato.
Se il componente viene centrato correttamente si può rinunciare a metodi di misura supplementari. Eseguite
tuttavia tutti i cicli di centraggio approssimati dato che essi riducono le finestre di misura.
–
Nel menu „Testa CO“ viene eseguito il centraggio ottico dei componenti con la funzione ‚Controlla CO‘ nei
singoli cicli di misura senza l‘emissione dei risultati della misurazione.
–
Nel menu „Testa CO“ viene eseguito il centraggio ottico dei componenti con la funzione ‚Controlla CO‘ in
tutti i cicli di misura con l‘emissione dei risultati della misurazione.
Componente
SIZE
ROW
CORNER
Lead *)
combinate
Lead finestre
di analisi separata
Grid
Ball
Risultato dell‘ultimo ciclo di misura
PDC senza piedini A/P
∆
X,
∆
Y, (
∆φ
), lunghezza CO
larghezza, (qualità)
PDC a raffigurazione
rotonda
A/P tolleranza degli angoli
FDCs piccoli, p.es.
2 piedini
A/P
∆
X,
∆
Y, (
∆φ
), lunghezza CO
larghezza, (qualità)
FDC regolare con file
PIN brevi
A P (P)
Diff. mass. della divisione:
∆
X,
∆
Y,
∆φ,
(qualità)
FDC regolare con file
PIN lunghe
A P (P)
Diff. mass. della divisione:
∆
X,
∆
Y, (
∆φ
),
qualità
FDC irregolare con file
PIN brevi
A (A) P (P)
∆
X,
∆
Y, numero dei PINs (qualità)
diff. mass. della divisione
FDC irregolare con file
PIN lunghe
A (A) P (P)
∆
X,
∆
Y, numero dei PINs (qualità)
diff. mass. dalla divisione
FDC irregolare con una
fila PIN, più modelli PIN
o divisione
AAP
∆
X,
∆
Y, (
∆φ
), differenza omologata dei
piedini (qualità)
numero dei PINs offset secondario
FDCs con file di PIN a
forma di segmento cir-
colare
(A) G P
∆
X,
∆
Y, (
∆φ
), differenza omologata dei
piedini (qualità)
numero dei PINs offset secondario
BGA, Flip-Chip A A P
∆
X,
∆
Y, (
∆φ
), divisione,
angolo,
qualità)
Tab. 5.7.1 Metodi di misura per componenti