00190973-02 - 第596页
Istruzioni per l’uso SIPLACE 80S -20/F4/F4-6 11 Aggiunte alla stazione/opzioni Edizione 07/97 Versione software dalla SR.403.xx 11.6 Centraggio del substrato in ceramica 11 - 31 Fig. 11.6.2 Centraggio del substrato in ce…

11 Aggiunte alla stazione/opzioni Istruzioni per l’uso SIPLACE 80S-20/F4/F4-6
11.6 Centraggio del substrato in ceramica Edizione 07/97 Versione software dalla SR.403.xx
11 - 30
Fig. 11.6.1 Raffigurazione complessiva (vista dall’alto)

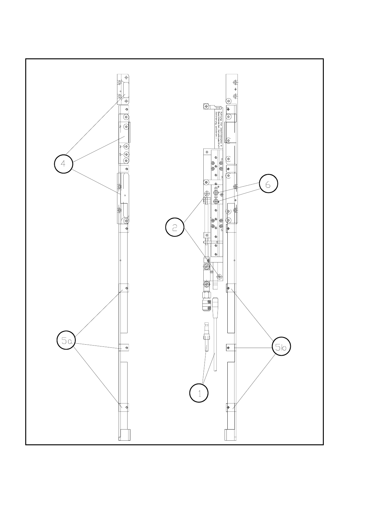
Istruzioni per l’uso SIPLACE 80S-20/F4/F4-6 11 Aggiunte alla stazione/opzioni
Edizione 07/97 Versione software dalla SR.403.xx 11.6 Centraggio del substrato in ceramica
11 - 31
Fig. 11.6.2 Centraggio del substrato in ceramica (vista di lato)
-
Didascalia della Fig. 11.6.2
➀
Substrato in ceramica
➁
Vedi sezione Sezione 11.6.3.2
11.6.3.3 Manutenzione
-
La guida rotante delle sfere nel centraggio X deve essere pulita ed ingrassata.
-
All’occorrenza controllare il funzionamento dell’azionamento pneumatico.
-
La manutenzione del trasporto deve essere eseguita come descritto nella Sezione 9.3.2 Trasporto dei cir-
cuiti scheda.

11 Aggiunte alla stazione/opzioni Istruzioni per l’uso SIPLACE 80S-20/F4/F4-6
11.6 Centraggio del substrato in ceramica Edizione 07/97 Versione software dalla SR.403.xx
11 - 32
11.6.4 Dati tecnici
11.6.5 Centraggio ottico con illuminazione a luci oblique
11.6.5.1 In generale
Per quanto riguarda il centraggio ottico del substrato in ceramica è necessario rispettare le caratteristiche par-
ticolari del substrato in ceramica. Il contrasto è in stretta relazione con il tipo di pasta impiegato per la struttura
di regolazione, dall’ambiente libero della struttura di regolazione e dal tipo di illuminazione.
L’illuminazione a luci oblique si trova nella parte anteriore della videocamera UP (videocamera sotto al por-
tale).
Fig. 11.6.3 Illuminazione a luci oblique per la videocamera sotto al portale
- Didascalia della Fig. 11.6.3
➀
Veduta frontale dell’unità di illuminazione a luci oblique
➁
Veduta laterale dell’unità di illuminazione a luci
oblique
Centraggio del substrato in ceramica
Misure di substrato utilizzabili 50 mm x 50 mm (2“ x 2“) fino a mass. 4“ x 7“
(altre misure su richiesta)
Alimentazione pneumatica 5 bar