F5 HMpart list - 第112页
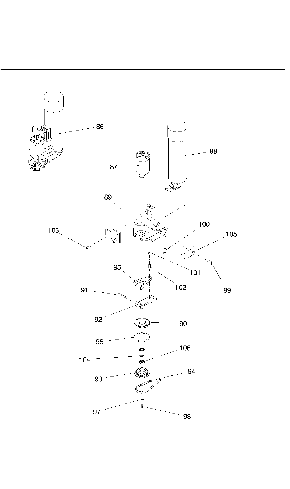
Teilekatalog (Parts Catalog) Bebilderte Teileliste (Illustrated Parts) Bildtafel (Figure) 6 Ausgabe (Edition) 11-03 Revolverkopf SP12 / DLM1 Collect & place head SP12 / DLM1 61 2 -

Teilekatalog (Parts Catalog) Bebilderte Teileliste (Illustrated Parts)
Bildtafel (Figure) 6
A
usgabe (Edition) 11-03
Revolverkopf SP12 / DLM1
Collect & place head SP12 / DLM1
611 -

Teilekatalog (Parts Catalog) Bebilderte Teileliste (Illustrated Parts)
Bildtafel (Figure) 6
Ausgabe (Edition) 11-03
Revolverkopf SP12 / DLM1
Collect & place head SP12 / DLM1
612 -

Teilekatalog (Parts Catalog) Bebilderte Teileliste (Illustrated Parts)
Bildtafel (Figure) 6
A
usgabe (Edition) 11-03
Revolverkopf SP12 / DLM1
Collect & place head SP12 / DLM1
613 -