F5 HMpart list - 第168页
Teilekatalog (Parts Catalog) Bebilderte Teileliste (Illustrated Parts) Bildtafel (Figure) 10 Ausgabe (Edition) 11-03 BE-Wechseltisch 80 fahrbar Components table 80 mobile 10 2 -

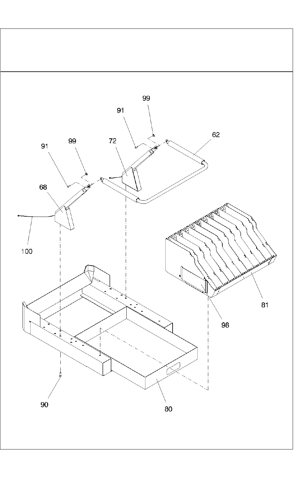
Teilekatalog (Parts Catalog) Bebilderte Teileliste (Illustrated Parts)
Bildtafel (Figure) 10
A
usgabe (Edition) 11-03
BE-Wechseltisch 80 fahrbar
Components table 80 mobile
10 1 -

Teilekatalog (Parts Catalog) Bebilderte Teileliste (Illustrated Parts)
Bildtafel (Figure) 10
Ausgabe (Edition) 11-03
BE-Wechseltisch 80 fahrbar
Components table 80 mobile
10 2 -

Teilekatalog (Parts Catalog) Bebilderte Teileliste (Illustrated Parts)
Bildtafel (Figure) 10
A
usgabe (Edition) 11-03
BE-Wechseltisch 80 fahrbar
Components table 80 mobile
10 3 -