F5 HMpart list - 第183页
Teilekatalog (Parts Catalog) Bebilderte Teileliste (Illustrated Parts) Bildtafel (Figure) 11 A usgabe (Edition) 11-03 BE-Wechseltisch fahrbar Produktivity-Lift Components changeover table mobile productivity lift 11 3 -

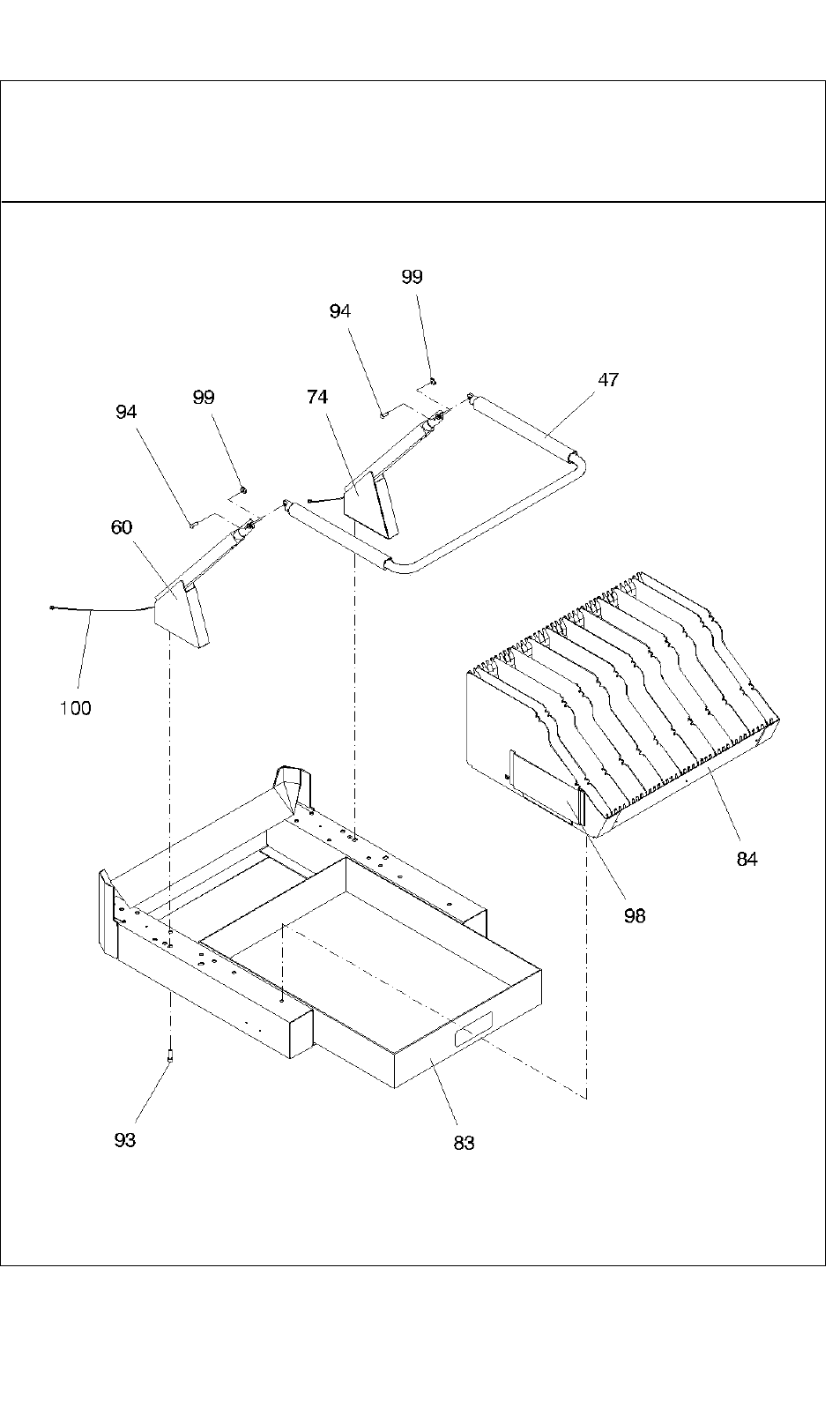
Teilekatalog (Parts Catalog) Bebilderte Teileliste (Illustrated Parts)
Bildtafel (Figure) 11
Ausgabe (Edition) 11-03
BE-Wechseltisch fahrbar Produktivity-Lift
Components changeover table mobile productivity lift
11 2 -

Teilekatalog (Parts Catalog) Bebilderte Teileliste (Illustrated Parts)
Bildtafel (Figure) 11
A
usgabe (Edition) 11-03
BE-Wechseltisch fahrbar Produktivity-Lift
Components changeover table mobile productivity lift
11 3 -

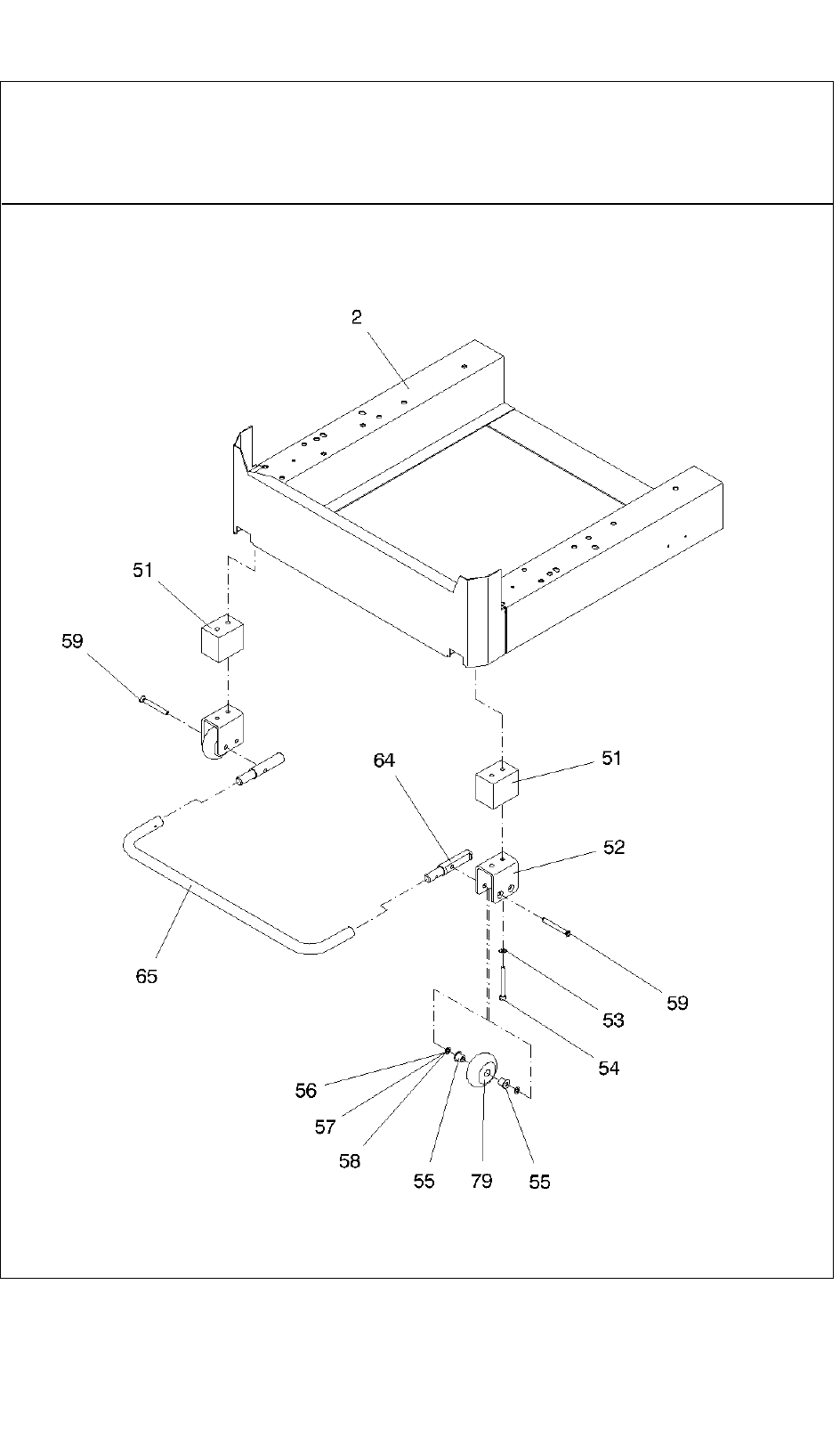
Teilekatalog (Parts Catalog) Bebilderte Teileliste (Illustrated Parts)
Bildtafel (Figure) 11
Ausgabe (Edition) 11-03
BE-Wechseltisch fahrbar Produktivity-Lift
Components changeover table mobile productivity lift
11 4 -