F5 HMpart list - 第221页
Teilekatalog (Parts Catalog) Bebilderte Teileliste (Illustrated Parts) Bildtafel (Figure) 14 A usgabe (Edition) 11-03 Steuereinschub F5-HM Control unit F5-HM 14 7 -

Teilekatalog (Parts Catalog) Bebilderte Teileliste (Illustrated Parts)
Bildtafel (Figure) 14
Ausgabe (Edition) 11-03
Steuereinschub F5-HM
Control unit F5-HM
14 6 -

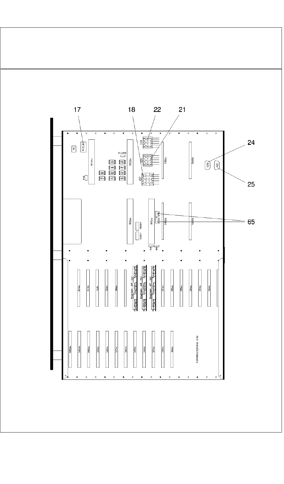
Teilekatalog (Parts Catalog) Bebilderte Teileliste (Illustrated Parts)
Bildtafel (Figure) 14
A
usgabe (Edition) 11-03
Steuereinschub F5-HM
Control unit F5-HM
14 7 -

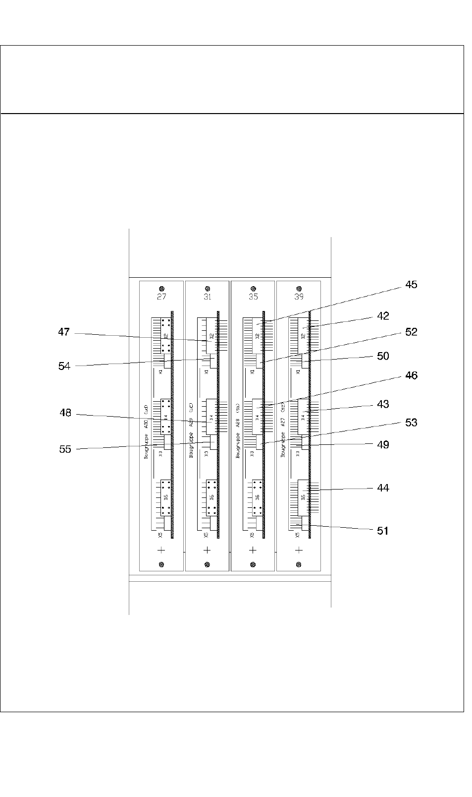
Teilekatalog (Parts Catalog) Bebilderte Teileliste (Illustrated Parts)
Bildtafel (Figure) 14
Ausgabe (Edition) 11-03
14 8 -