F5 HMpart list - 第28页
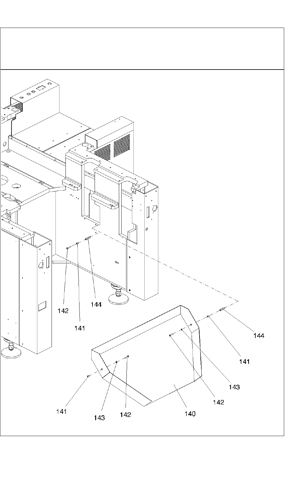
Teilekatalog (Parts Catalog) Bebilderte Teileliste (Illustrated Parts) Bildtafel (Figure) 3 Ausgabe (Edition) 11-03 Maschinengestell SIPLACE F5-HM Machine frame SIPLACE F5-HM 32 0 -

Teilekatalog (Parts Catalog) Bebilderte Teileliste (Illustrated Parts)
Bildtafel (Figure) 3
A
usgabe (Edition) 11-03
Maschinengestell SIPLACE F5-HM
Machine frame SIPLACE F5-HM
319 -

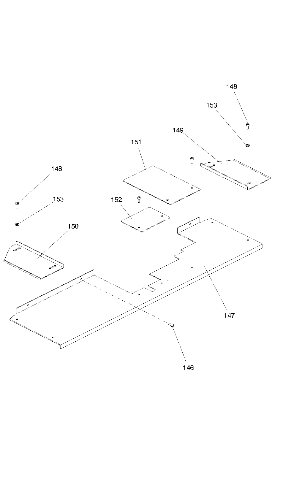
Teilekatalog (Parts Catalog) Bebilderte Teileliste (Illustrated Parts)
Bildtafel (Figure) 3
Ausgabe (Edition) 11-03
Maschinengestell SIPLACE F5-HM
Machine frame SIPLACE F5-HM
320 -

Teilekatalog (Parts Catalog) Bebilderte Teileliste (Illustrated Parts)
Bildtafel (Figure) 3
A
usgabe (Edition) 11-03
Maschinengestell SIPLACE F5-HM
Machine frame SIPLACE F5-HM
321 -