F5 HMpart list - 第497页
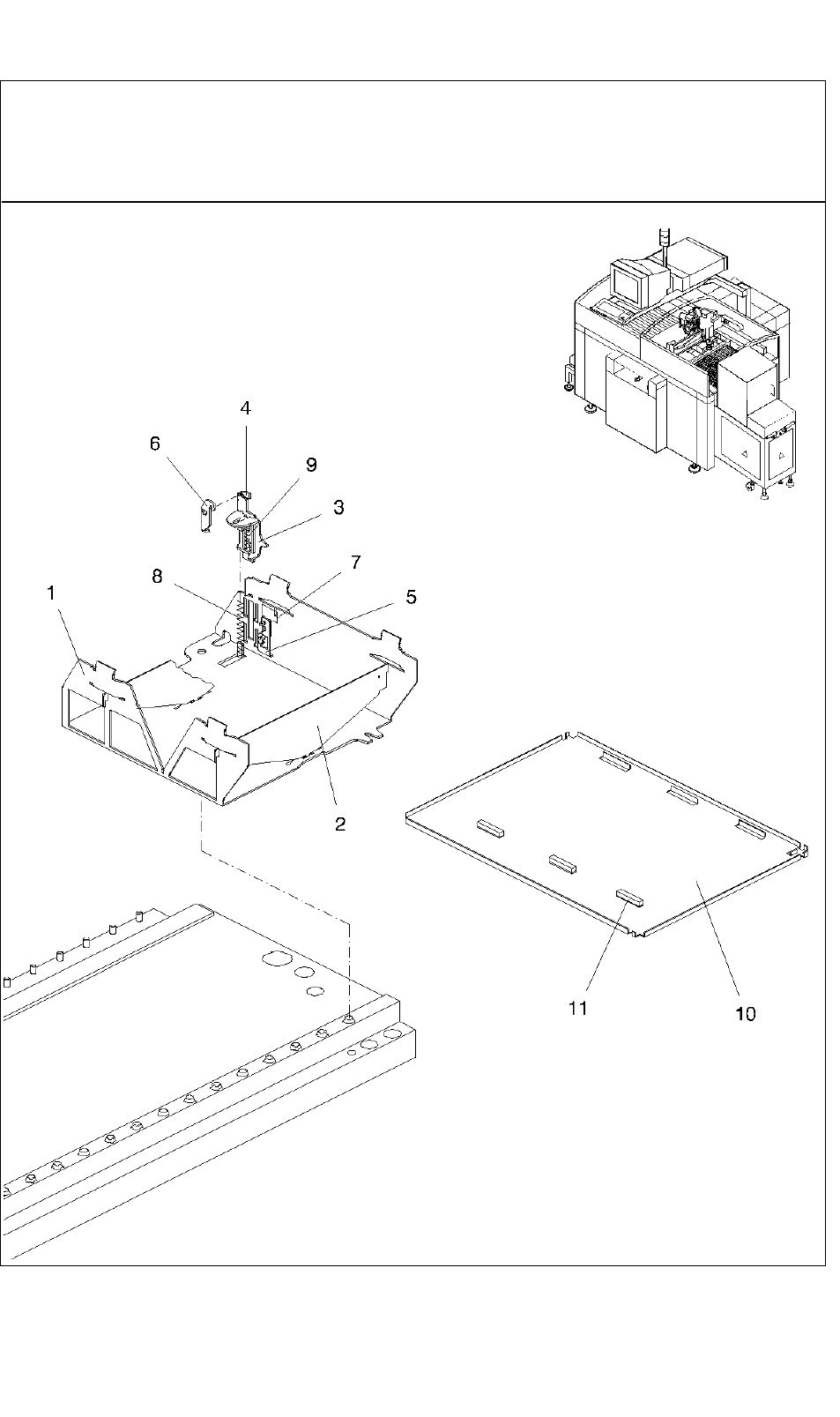
Teilekatalog (Parts Catalog) Bebilderte Teileliste (Illustrated Parts) Bildtafel (Figure) 32 A usgabe (Edition) 11-03 Halterung für Flächenmagazine Mount for tray magazines 32 1 -

Teilekatalog (Parts Catalog) Bebilderte Teileliste (Illustrated Parts)
Bildtafel (Figure) 31
Ausgabe (Edition) 11-03
Stamm Nr.
Master Code
Bezeichnung / Designation
Stck.
Qty.
Pos.-Nr.
Pos. No.
Seiten-Nr.
Page No.
A
rtikel-Nr.
Item No.
FS
FS
WPW 80F/3 / WPW 80F/3
Order
212
00328753-03
1
31-14
EKABEL: STEUERSIGNALE BE-TISCH SMD
CABLE:CONTROL SIGNALS, COMPONENTS-TABLE
213
00320150-02
1
31-14
EANDOCKLEISTE
CONNECTION STRIP
214
00307282-02
1
31-5
EGURTABFALLBEHAELTER KLEIN
TAPE WASTE CONTAINER SMALL
215
00321781-01
1
31-5
EGURTCONTAINER SIPLACE-WPW
TAPE CONTAINER SIPLACE 80
216
00335102S03
1
31-14
ELEERGURTLEITKANAL KOMPL. 15MM KURZ
EMPTY TAPE GUIDE DUCT COMPL.15MM
217
00335098-02
1
31-15
LEITBLECH INNEN COMPL. 15MM KURZ
BAFFLE INSIDE 15MM SHORT
218
00335100-01
1
31-15
LEITBLECH AUSSEN 15MM KURZ
GUIDE METAL OUTSIDE 15MM SHORT
219
00308062-01
1
31-15
SPURLINEAL
TRACK RULER
220
00320321-02
1
31-14
ELEITBLECH WPW
GUIDE RAIL, WPC
31 26 -

Teilekatalog (Parts Catalog) Bebilderte Teileliste (Illustrated Parts)
Bildtafel (Figure) 32
A
usgabe (Edition) 11-03
Halterung für Flächenmagazine
Mount for tray magazines
32 1 -

Teilekatalog (Parts Catalog) Bebilderte Teileliste (Illustrated Parts)
Bildtafel (Figure) 32
Ausgabe (Edition) 11-03
Halterung für Flächenmagazine
Mount for tray magazines
32 2 -