F5 HMpart list - 第574页
Teilekatalog (Parts Catalog) Bebilderte Teileliste (Illustrated Parts) Bildtafel (Figure) 45 Ausgabe (Edition) 11-03 Kabelliste Cable list 45 8 -

Teilekatalog (Parts Catalog) Bebilderte Teileliste (Illustrated Parts)
Bildtafel (Figure) 45
A
usgabe (Edition) 11-03
Kabelliste
Cable list
45 7 -

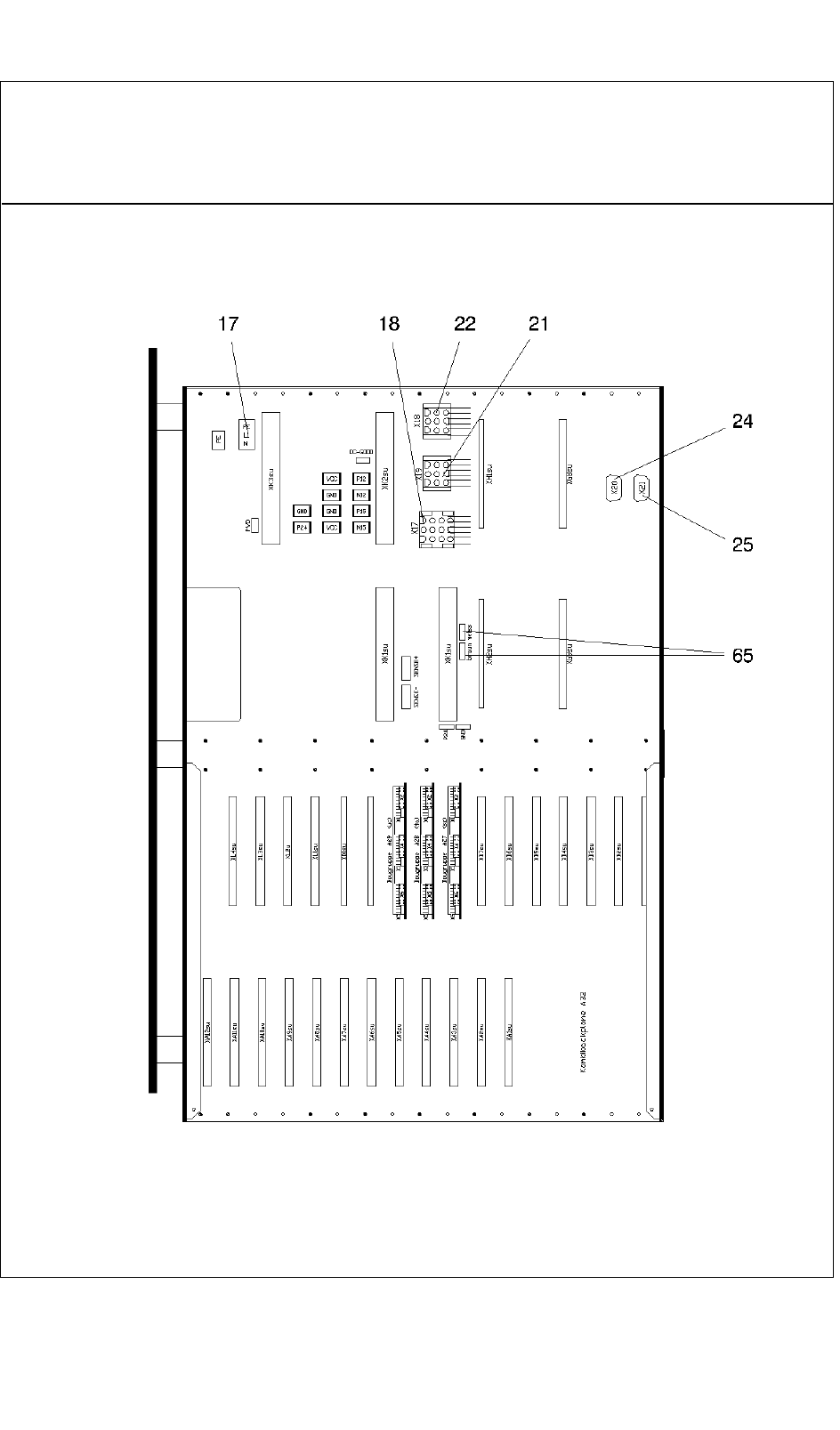
Teilekatalog (Parts Catalog) Bebilderte Teileliste (Illustrated Parts)
Bildtafel (Figure) 45
Ausgabe (Edition) 11-03
Kabelliste
Cable list
45 8 -

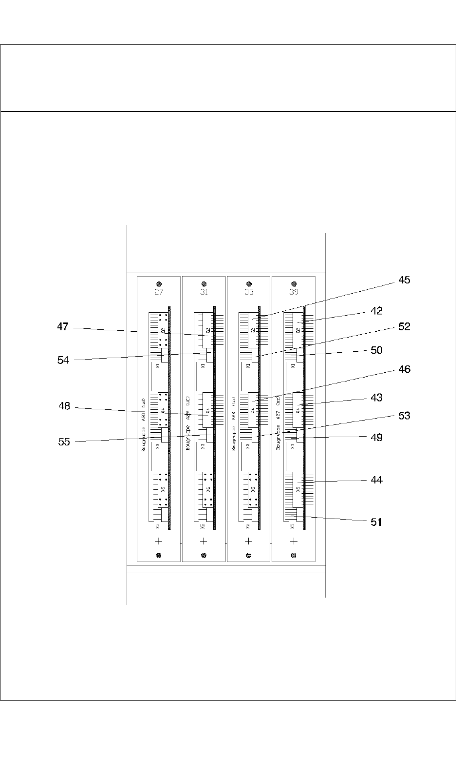
Teilekatalog (Parts Catalog) Bebilderte Teileliste (Illustrated Parts)
Bildtafel (Figure) 45
A
usgabe (Edition) 11-03
Kabelliste
Cable list
45 9 -