F5 HMpart list - 第84页
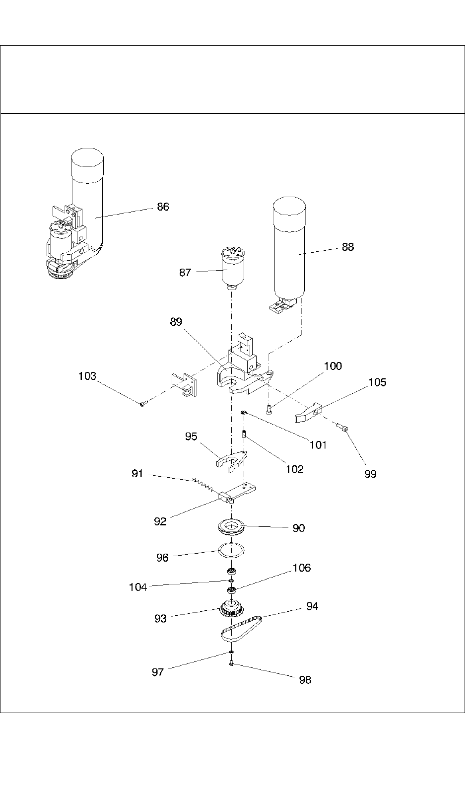
Teilekatalog (Parts Catalog) Bebilderte Teileliste (Illustrated Parts) Bildtafel (Figure) 5 Ausgabe (Edition) 11-03 Revolverkopf SP6 / DLM1 Collect & place head SP6/DLM1 51 4 -

Teilekatalog (Parts Catalog) Bebilderte Teileliste (Illustrated Parts)
Bildtafel (Figure) 5
A
usgabe (Edition) 11-03
Revolverkopf SP6 / DLM1
Collect & place head SP6/DLM1
513 -

Teilekatalog (Parts Catalog) Bebilderte Teileliste (Illustrated Parts)
Bildtafel (Figure) 5
Ausgabe (Edition) 11-03
Revolverkopf SP6 / DLM1
Collect & place head SP6/DLM1
514 -

Teilekatalog (Parts Catalog) Bebilderte Teileliste (Illustrated Parts)
Bildtafel (Figure) 5
A
usgabe (Edition) 11-03
Revolverkopf SP6 / DLM1
Collect & place head SP6/DLM1
515 -