CX200-4(Maint) - 第21页
1.3.2 Understanding of Maintenance Items on Each Section Clarified in this session are each individual spots of the machine to be maintained. Refer to “1.5 Checklist for Maintenance” for periodic maintenance. View of Ins…

Fig. 4A7 Front View of Machine
Fig. 4A8 Rear View of Machine
1.3 Maintenance Spots
01 10-003 1-9 AFO01ETRP
(15) Nozzle Change
Section
(5) Component
Receiving Box
(14) Placement Change
Correction Section
(21) Placement
Up/Down Section
(11) Main Body
Driving Section
(9) Head Section
(23) Nozzle Guide Section
(4) Component Recognition Section
(25) Control Box Section
(24) Head Up/Down Section
(1) Air Source
(10) Linear Measure
Detection Section
(6) Cutter Section
Com
p
onent Dro
p
Prevantion Cover
(12) Cutter Section
(19) Pick-Up
Up/Down Section
(16) Nozzle
Change/Return
Section

1.3.2 Understanding of Maintenance Items on Each Section
Clarified in this session are each individual spots of the machine to be
maintained.
Refer to “1.5 Checklist for Maintenance” for periodic maintenance.
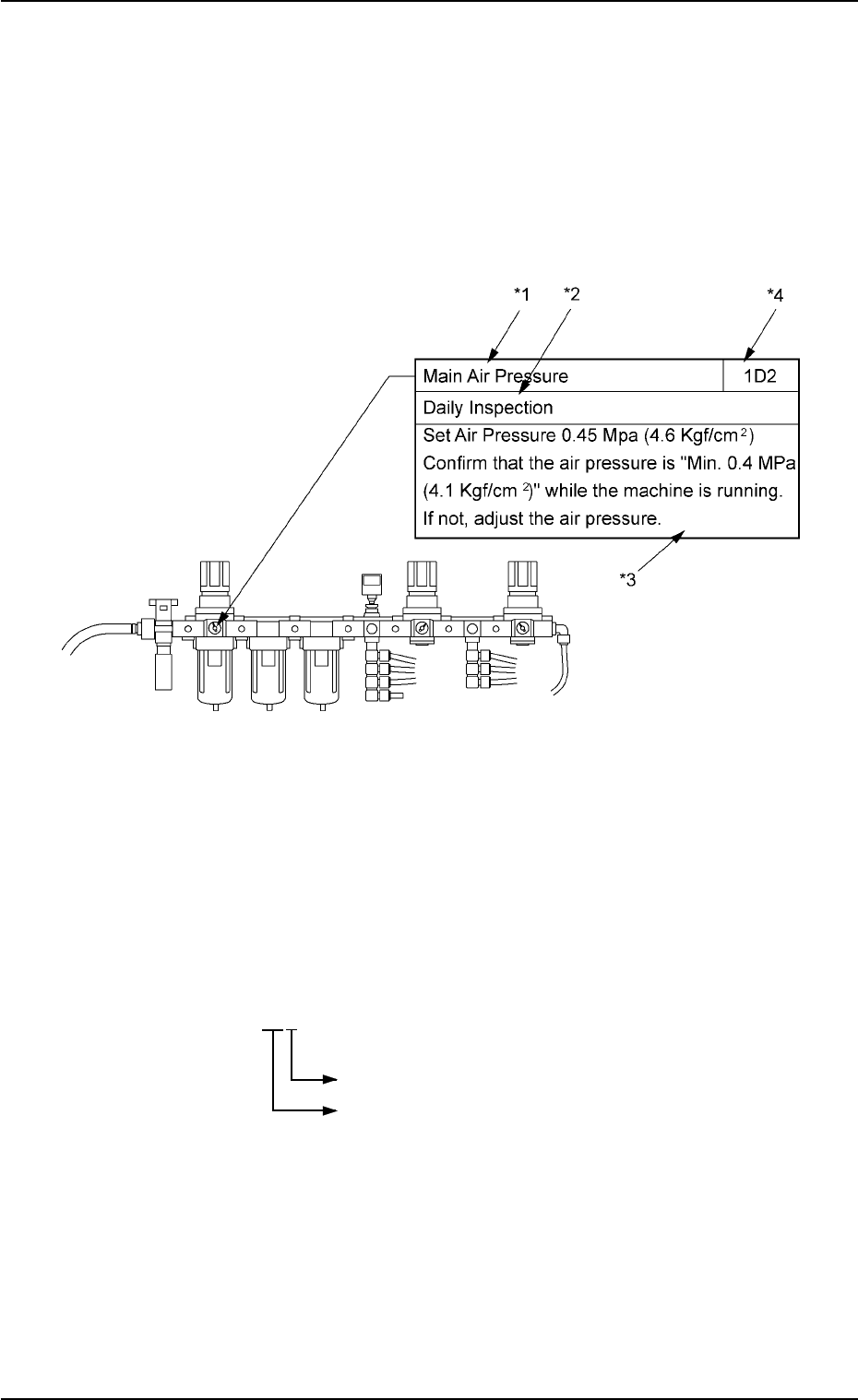
View of Inspection, Cleaning, and Lubrication Spots
(Example of Identification)
Fig. 4A9
*1: Maintenance Spot
*2: Cycle and Contents of Maintenance
*3: Details of Maintenance
*4: Maintenance Spot No.
These are used in “1.5 Maintenance Check List”.
Display 1D2
Number (0, 1, 2 …)
Cycle of Maintenance
1D : Daily
1W : Every Week
1M : Every Month
3M : Every 3 Months
6M : Every 6 Months
1Y : Every Year
1.3 Maintenance Spots
0110-003 1-10 AFO01ETRP

1.3.3 Inspection, Cleaning, and Lubrication Spots
(1) Air Source
1.3 Maintenance Spots
01 10-003 1-11 AFO01ETRP
Fig. 4A10