CX200-4(Maint) - 第54页
(26) Filters and Fans in Each Section 1.3 Maintenance Spots 01 10-003 1-43 AFO01ETRP Fans on T op of Machine 3M30 Every 3 Months Cleaning Remove the filters from the cooling fans on the top of the main body and clean the…

(25) Control Box Section
1.3 Maintenance Spots
0110-003 1-42 AFO01ETRP
Fig. 4A50

(26) Filters and Fans in Each Section
1.3 Maintenance Spots
0110-003 1-43 AFO01ETRP
Fans on Top of Machine 3M30
Every 3 Months Cleaning
Remove the filters from the cooling fans on the top
of the main body and clean them with a vacuum
cleaner.
After cleaning, put the filters back in place.
Filter of Main Body Driving Section 3M31
Every 3 Months Cleaning
Clean the filter with a vacuum cleaner.
Cooling Fans of Feeder Carriage Sections 3M33
Every 3 Months Cleaning
Remove the filters of the cooling fans and clean
them with a vacuum cleaner.
After cleaning, put the filters back in place.
Filter of Oil Cooler 3M32
Every 3 Months Cleaning
Detach the filter and clean it with a vacuum cleaner.
After cleaning, put the filter back in place.
Fig. 4A55
Fig. 4A56
Fig. 4A57 Top View of Machine

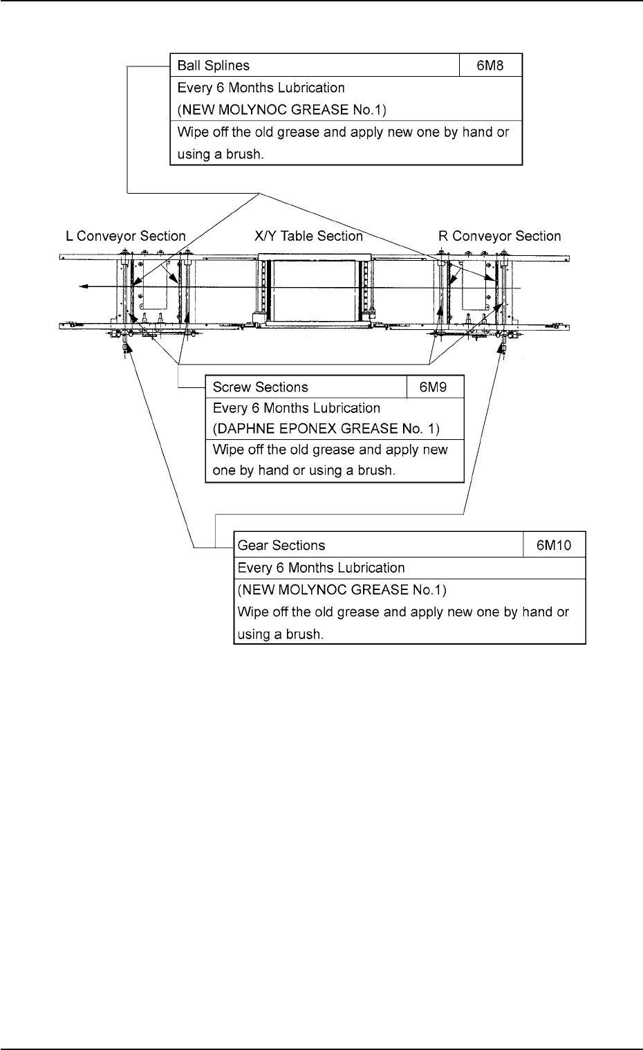
(27) L/R Conveyor Sections
1.3 Maintenance Spots
0110-003 1-44 AFO01ETRP
Fig. 4A58