CX-1-Rev10PDFA - 第86页
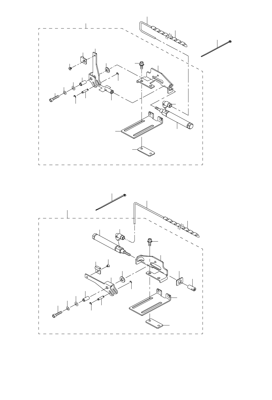
- 81 - 41 . P W B CO NVE Y O R CO MP ON E NT S ( 1 1) 基板搬送関係(11) 23 10 19 18 9 8 7 5 6 2 20 3 13 17 15 19 11 16 14 4 21 1 26 27 28 31 30 29 32 36 37 35 38 33 39 40 34 42 41 42 43 24 22 25 12

- 80 -
NOTE( 注記 ) *INSTALLATION POSITION AND DIRECTION VARY IF THE PWB TRANSFER
REFERENCE IS DIFFERENT.
基板搬送基準が異なると取付位置、方向が変わります。
REF.NO NOTE PART NO D E S C R I P T I O N
品 名
Qty
1 400-00915 CONVEYOR OTHER PARTS
コンベアアザーパーツ
1
2 E2057-721-000 HANDLE SHAFT A
ハンドルシャフト A
(1)
3 400-00916 MANIFOLD VALVE A ASM
コンベアバルブ組
(1)
4 PV-9150050-00 SOLENOID VALVE INSTALLING BASE
電磁弁取付ベース
(1)
5 PV-1502093-00 5 PORT ELECTROMAGNETIC VALVE
5ポート電磁弁
(3)
6 PX-0500030-00 SILENCER
サイレンサ
(1)
7 SL-6041092-TN SCREW
座金付き六角穴ボルト
(2)
8 400-00903 REGULATOR ASM
レギュレータ組
(1)
9 PF-0200040-00 REGULATOR
レギュレータ
(2)
10 400-00904 REGULATOR BRACKET
レギュレータブラケット
(1)
11 SM-4033001-SC SCREW M3 L=30
なべ小ねじ M 3 X 0.5 L =30
(4)
12 SL-6040892-TN BOLT
座金付き六角穴ボルト
(2)
13 PC-0124010-00 SPEED CONTROLLER
スピード コントローラ
(2)
14 BT-0400251-EA TUBE HOSE, BLUE
ウレタンホース 青
(4)
15 PX-5000140-00 PLUG
止栓
(3)
16 400-02212 WAIT SENSOR ASM
ウェイトセンサ組
(1)
17 SL-6030642-TN SCREW M3 L=6
座金付き六角穴ボルト
(2)
18 SL-6041092-TN SCREW
座金付き六角穴ボルト
(1)
19 E4114-729-000 BU SENSOR DOG
BU センサードグ
(1)
20 SL-6051292-TN BOLT
座金付き六角穴ボルト
(2)
21 SL-6104042-TN BOLT
座金付き六角穴ボルト
(4)
22 WP-1052001-SC WASHER 10,5X21X2
平座金みがき丸 M 10
(4)
23 CM-3003000-02 LABEL2 (25)
高温注意シール2(25)
(1)
24 E2076-721-000 BU HAND KNOB
BU ハンドノブ
(1)
25 E2141-725-000 BU HAND KNOB S
BU ハンドノブ S
(1)
26 CM-3002000-03 ATTENTION LABEL
指けが注意シール(31.5)
(2)
27 EA-9500B01-00 CABLE BAND
束線バンド
(20)
28 400-13197 CONVEYOR COUPLING
コンベアカプリング
(1)
29 SM-8050502-TP SCREW M5 L=5
止めねじ
(4)
30 400-00981 BU HOME SENSOR BRACKET ASM
BU ホームセンサブラケット組
(1)
31 400-02124 BU ORG SENSOR ASM
バックアップテーブル原点センサ組
(1)
32 E4115-729-000 BU SENSOR BRACKET
BU センサーブラケット
(1)
33 EA-9500B01-00 CABLE BAND
束線バンド
(1)
34 SL-6082592-TN BOLT
座金付き六角穴ボルト
(4)

- 81 -
41.PWB CONVEYOR COMPONENTS (11)
基板搬送関係(11)
23
10
19
18
9
8
7
5
6
2
20
3
13
17
15
19
11
16
14
4
21
1
26
27
28
31
30
29
32
36
37
35
38
33
39
40
34
42
41
42
43
24
22
25
12

- 82 -
NOTE( 注記 ) *INSTALLATION POSITION AND DIRECTION VARY IF THE PWB TRANSFER
REFERENCE IS DIFFERENT.
基板搬送基準が異なると取付位置、方向が変わります。
REF.NO NOTE PART NO D E S C R I P T I O N
品 名
Qty
1 EA-9500B01-00 CABLE BAND
束線バンド
1
2 E2281-725-0A0 PUSHER XL ASM.
プッシャ XL 組
1
3 E2280-725-000 PUSHER X
プッシャ X
(1)
4 E2173-715-000 THRUST WASHER
スラストワッシャ
(1)
5 E2172-715-000 PUSHER SHAFT
プッシャ シャフト
(1)
6 WP-0430801-SC WASHER 4.3X9X0.8
平座金 4.3 X 9 X 0.8
(1)
7 WS-0410002-KN SPRING WASHER
ばね座金 M 4
(1)
8 SM-6041802-TN SCREW M4X0.7 L=18
六角穴ボルト M 4 X 0.7 L =18
(1)
9 E2233-725-000 STOPPER CHIP
ストッパチップ
(1)
10 SM-1030401-SE SCREW M3 L=4
皿ねじ M 3 X 0.5 L =4
(1)
11 E2281-725-000 PUSHER CYLINDER BRACKET XL
プッシャシリンダブラケット XL
(1)
12 E2284-725-000 HOLD PLATE B
ホールドプレート B
(1)
13 E2283-725-000 PUSHER CYLINDER SUPPER
プッシャシリンダサポート
(1)
14 SL-6041042-TN BOLT
座金付き六角穴ボルト
(2)
15 PA-1002101-A0 AIR CYLINDER
エアシリンダ
(1)
16 PJ-3040405-11 ELBOW UNION
エルボユニオン
(1)
17 E2177-715-000 CYLINDER ARM X
シリンダアーム X
(1)
18 E4843-760-000 CYLINDER PIN
シリンダ−ピン
(1)
19 RE-0250000-K0 E-RING 2.5
E 形止め輪 2.5
(2)
20 HX-0031400-00 SPIRAL TABE
スパイラル チューブ
0.6
21 BT-0400251-EA TUBE HOSE, BLUE
ウレタンホース 青
1.8
22 BT-0400251-EA TUBE HOSE, BLUE
ウレタンホース 青
1.8
23 EA-9500B01-00 CABLE BAND
束線バンド
1
24 HX-0031400-00 SPIRAL TABE
スパイラル チューブ
0.6
25 E2282-725-0A0 PUSHER XR ASM.
プッシャ XR 組
1
26 E2280-725-000 PUSHER X
プッシャ X
(1)
27 E2173-715-000 THRUST WASHER
スラストワッシャ
(1)
28 E2172-715-000 PUSHER SHAFT
プッシャ シャフト
(1)
29 WP-0430801-SC WASHER 4.3X9X0.8
平座金 4.3 X 9 X 0.8
(1)
30 WS-0410002-KN SPRING WASHER
ばね座金 M 4
(1)
31 SM-6041802-TN SCREW M4X0.7 L=18
六角穴ボルト M 4 X 0.7 L =18
(1)
32 E2233-725-000 STOPPER CHIP
ストッパチップ
(1)
33 SM-1030401-SE SCREW M3 L=4
皿ねじ M 3 X 0.5 L =4
(1)
34 E2282-725-000 PUSHER CYLINDER BRACKET XR
プッシャシリンダブラケット XR
(1)
35 E2284-725-000 HOLD PLATE B
ホールドプレート B
(1)
36 E2283-725-000 PUSHER CYLINDER SUPPER
プッシャシリンダサポート
(1)
37 SL-6041042-TN BOLT
座金付き六角穴ボルト
(2)
38 PA-1002101-A0 AIR CYLINDER
エアシリンダ
(1)
39 PJ-3040405-11 ELBOW UNION
エルボユニオン
(1)
40 E2177-715-000 CYLINDER ARM X
シリンダアーム X
(1)
41 E4843-760-000 CYLINDER PIN
シリンダ−ピン
(1)
42 RE-0250000-K0 E-RING 2.5
E 形止め輪 2.5
(2)
43 E2116-725-000 PUSHER STOPPER PLATE
プッシャストッパプレート
(1)