JM-10-Rev05 - 第32页
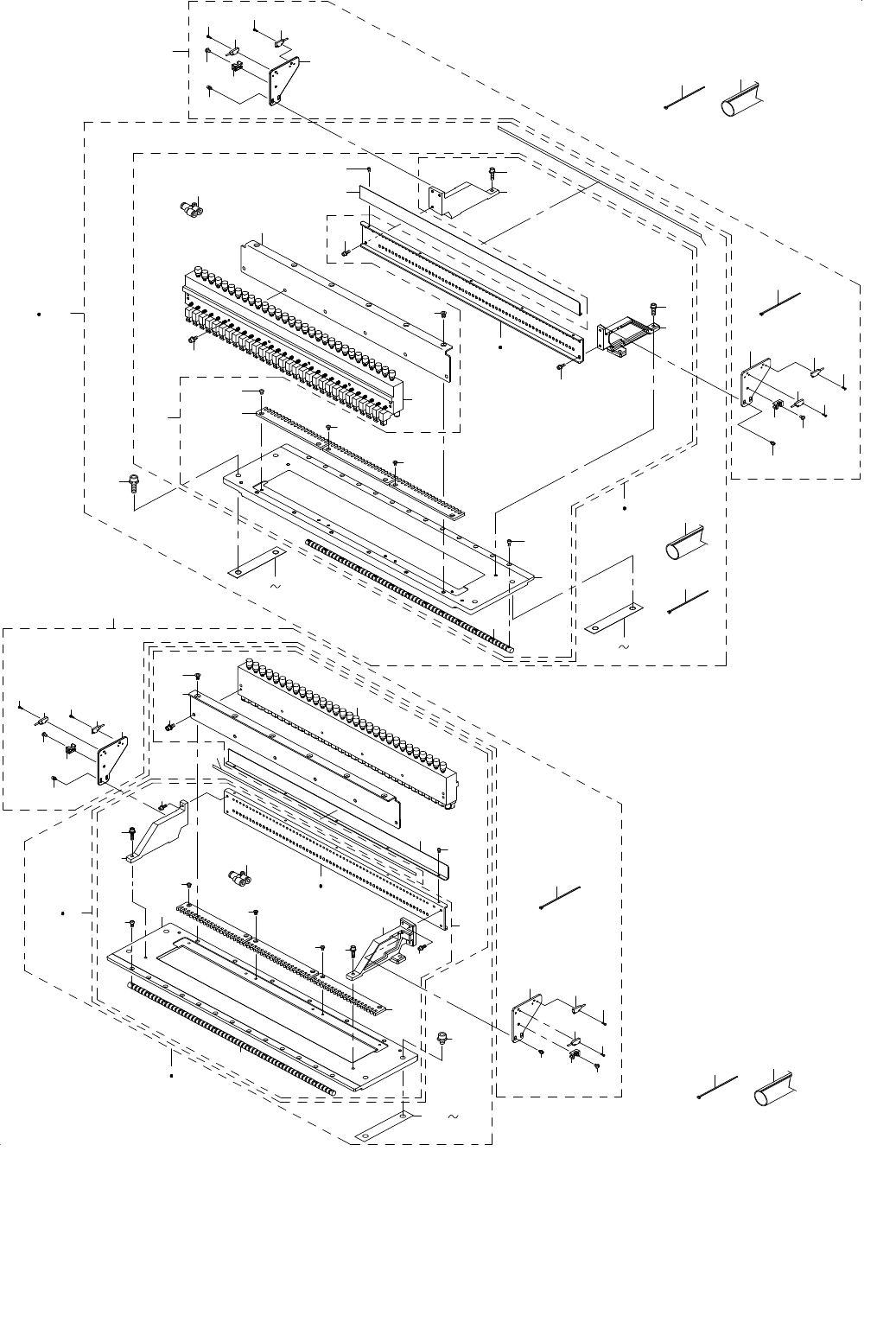
- 27 - 14. FEEDER BANK COMPONENTS フィーダバンク関係 12 6 6 14 14 9 10 20 21 22 23 15 16 16 16 18 25 26 29 24 7 8 30 35 32 33 37 36 40 36 38 33 32 37 36 34 31 36 39 11 17 13 39 3 4 19 41 42 66 82 79 82 77 81 80 45 84 75 58 71 67 …

- 26 -
REF.NO NOTE PART NO D E S C R I P T I O N
品 名
Qty
1 400-77234 XY PLASTIC RAIL BR
XYプラスチックレールブラケット
1
2 HX-0009600-0A BUSH
エッジングブッシュ
0.06
3 SL-6040892-TN BOLT
座金付き六角穴ボルト
4
4 HX-0029400-00 FIXED BASE
固定ベース
1
5 SM-4040601-SC SCREW M4X0.7 L=6
なべ小ねじ M4X0.7 L=6
1
6 400-77235 XY PLASTIC RAIL
XYプラスチックレール
1
7 400-77236 X PLASTIC RAIL SUPPORT
Xプラスチックレールサポート
1
8 SM-6041002-TN BOLT
六角穴ボルト
4
9 L153E-221-000 FC SUPPORT
FC サポート
1
10 L153E-321-000 FC RUBBER
FC ルーバー
3
11 SL-6051092-TN BOLT
座金付き六角穴ボルト
2
12 400-77237 X FRAME
Xフレーム
1
13 PH-0500122-C0 PIN
平行ピン
4
14 SL-6042092-TN SCREW M4 L=20
座金付き六角穴ボルト
12
15 400-02227 X PLUS LMT SENSOR ASM
X軸プラスリミットセンサ組
1
16 400-02228 X MINUS LMT SENSOR ASM
X軸マイナスリミットセンサ組
1
17 400-02229 X ORG RANGE SENSOR ASM
X軸原点周囲センサ組
1
18 SM-6850802-TN SCREW M2.5 L=8
六角穴ボルト M2.5 L=8
3
19 400-82805 Y BS COVER R
Y BSカバーR
1
20 HX-0029400-00 FIXED BASE
固定ベース
22
21 SM-4040601-SC SCREW M4X0.7 L=6
なべ小ねじ M4X0.7 L=6
22
22 401-07748 X CARRIER L
XキャリアL
1
23 SL-6062592-TN SCREW
座金付き六角穴ボルト
8
24 WP-0641601-SC WASHER
平座金みがき丸 M6
8
25 400-49671 COVER CUSHION
カバークッション
1
26 SM-4030601-SC SCREW M3 X 6
なべ小ねじ M3X0.5 L=6
1
27 400-77239 X CARRIER R
Xキャリア R
1
28 PH-0500122-C0 PIN
平行ピン
2
29 SL-6062592-TN SCREW
座金付き六角穴ボルト
8
30 400-49671 COVER CUSHION
カバークッション
1
31 SM-4030601-SC SCREW M3 X 6
なべ小ねじ M3X0.5 L=6
1
32 E6003-723-000 HANDLE
ハンドル
1
33 SM-6062002-TN SCREW M6 L=20
六角穴ボルト M6 L=20
2
34 HX-0029400-00 FIXED BASE
固定ベース
1
35 SM-4040601-SC SCREW M4X0.7 L=6
なべ小ねじ M4X0.7 L=6
1
36 400-77240 X LINER GUIDE
Xリニアガイド
2
37 SM-6041202-TN SCREW M4X0.7 L=12
六角穴ボルト M4X0.7 L=12
28
38 400-77241 X MOTOR FRAME
Xモータフレーム
1
39 SL-6052092-TN SCREW
座金付き六角穴ボルト
4
40 400-68913 SERVO MOTOR 400W
サーボモーター 400W
1
41 SM-6051402-TN HEXAGONAL-HOLE BOLT M5 L=14
六角穴ボルト M5 L=14
4
42 400-77243 X MOTOR COUPLING
Xモータカップリング
1
43 400-77244 X BALL SCREW
Xボールスクリュウ
1
44 SL-6051642-TN BOLT
座金付き六角穴ボルト
4
45 400-77245 X BALL SCREW FRAME
Xボールスクリュウフレーム
1
46 PH-0300082-C0 PIN
平行ピン
2
47 SL-6042592-TN SCREW
座金付き六角穴ボルト
2
48 400-77246 X BALL SCREW SUPPORT L
XボールスクリュウサポートL
1
49 SL-6042092-TN SCREW M4 L=20
座金付き六角穴ボルト
2
50 SL-6043092-TN BOLT
座金付き六角穴ボルト
2
51 400-77247 X BALL SCREW SUPPORT R
XボールスクリュウサポートR
1
52 SM-6041202-TN SCREW M4X0.7 L=12
六角穴ボルト M4X0.7 L=12
4
53 400-77248 X SENSOR DOG
Xセンサドグ
1
54 SL-6051292-TN BOLT
座金付き六角穴ボルト
2
55 EA-9500B02-00 CABLE BAND 150
結束バンド 150
5
56 HX-0006500-0B CABLE BAND
束線バンド
5
57 400-77235 XY PLASTIC RAIL
XYプラスチックレール
1
58 400-77402 Y PLASTIC RAIL SUPPORT
Yプラスチックレールサポート
1
59 SM-6041002-TN BOLT
六角穴ボルト
4
60 L153E-221-000 FC SUPPORT
FC サポート
1
61 L153E-321-000 FC RUBBER
FC ルーバー
3
62 SL-6051092-TN BOLT
座金付き六角穴ボルト
2
63 400-45554 INSULATION TAPE
絶縁テープ
0.5
64 EA-9500B01-00 CABLE BAND
束線バンド
25

- 27 -
14.FEEDER BANK COMPONENTS
フィーダバンク関係
12
6
6
14
14
9
10
20
21
22
23
15
16
16
16
18
25
26
29
24
7
8
30
35
32
33
37
36
40
36
38
33
32
37
36
34
31
36
39
11
17
13
39
3
4
19
41
42
66
82
79
82
77
81
80
45
84
75
58
71
67
70
72
65
58
57
63
54
64
82
78
83
82
84
75
81
80
76
51
46
47
58
67
70
61
62
56
55
54
51
50
49
52
53
59
73
74
43
44
1 2
5
60
48
86
85

- 28 -
NOTE( 注記 ) #01....BEFORE M/C REV.D マシン REV.D 以前
#02....AFTER M/C REV.E マシン REV.E 以降
#03....OPTIONAL PARTS オプション部品
REF.NO NOTE PART NO D E S C R I P T I O N
品 名
Qty
1
#01
400-77376 FEEDER BANK UNIT F
フィーダバンク組F
1
2
#02
401-48052 FEEDER BANK F
フィーダバンクF
1
3
#01
400-77377 FEEDER BANK ASM
フィーダバンク組
(1)
4
#02
401-48051 FEEDER BANK UNIT
フィーダバンクユニット
(1)
5
#02
401-48029 FEEDER_BANK_ASSY
フィーダバンク組
(1)
6 SL-6052092-TN SCREW
座金付き六角穴ボルト
(4)
7
#01
400-77285 FIXING PLATE
フィクシングプレート
(1)
8
#02
401-48030 FIXING_PLATE
フィクシングプレート
(1)
9 400-77286 LOCK SHAFT
ロックシャフト
(1)
10 SM-6040802-TN SCREW
六角穴ボルト M4X0.7 L=8
(13)
11 400-77283 FEEDER BANK BASE
フィーダバンクベース
(1)
12 E2602-727-000 PLATE STAND L
プレートスタンド L
(1)
13 E2603-727-000 PLATE STAND R
プレートスタンド R
(1)
14 SL-6041292-TN SCREW
座金付き六角穴ボルト
(5)
15 E2513-729-000-A FIXING PLATE B
フィクシングプレートB
(3)
16 SM-4040655-SN SCREW M4X0.7 L=6
なべ小ねじ M4 L=6
(6)
17 400-77397 NUMBER PLATE
ナンバープレート
(1)
18 SM-6030552-KS SCREW
平ねじ M3 L=5
(9)
19 PJ-3080600-03 Y UNION
ユニオンY
(1)
20 400-77287 DRIVE CYLINDER BR
ドライブシリンダブラケット
(1)
21 SM-1051052-TN SCREW
皿ねじ M5 L=10
(6)
22 400-63859 DRIVE CYLINDER
ドライブシリンダー
(1)
23 SL-6051292-TN BOLT
座金付き六角穴ボルト
(6)
24 400-77282 POSITION LABEL F
ポジションラベルF
(1)
25 SL-6082592-TN BOLT
座金付き六角穴ボルト
(4)
26 400-77278 FEEDER BANK SHIM 0.2
フィーダバンクシム 0.2
(4)
27 400-77279 FEEDER BANK SHIM 0.1
フィーダバンクシム 0.1
(4)
28 400-77280 FEEDER BANK SHIM 0.05
フィーダバンクシム 0.05
(4)
29 400-77281 FEEDER BANK SHIM 0.02
フィーダバンクシム 0.02
(4)
30
#03
401-08119 FEEDER FROAT SENSOR ASSY F
フィーダ浮きセンサ組F
1
31 401-07229 FD-FLOAT(FF) SENS ASM
FD−FLOAT(FF)投光センサ組
(1)
32 SM-4040601-SC SCREW M4X0.7 L=6
なべ小ねじ M4X0.7 L=6
(2)
33 HX-0029400-00 FIXED BASE
固定ベース
(2)
34 401-07228 FD-FLOAT(FR)RECEIVE SENS ASM
FD−FLOAT(FR)受光センサ組
(1)
35 EA-9500B01-00 CABLE BAND
束線バンド
(4)
36 SL-4020881-SC SCREW M2 X 8
なべねじセムス M2 L=8
(8)
37 SL-6030892-TN SCREW M3 L=8
座金付き六角穴ボルト M3 L=8
(4)
38 401-07226 FD-FLOAT(FR) SENS ASM
FD−FLOAT(FR)投光センサ組
(1)
39 401-07828 FSD BRACKET
FSDブラケット
(2)
40 401-07225 FD-FLOAT(FF)RECEIVE SENS ASM
FD−FLOAT(FF)受光センサ組
(1)
41 E9632-715-F00 ZIPPER TUBE (GPJ-50)
ジッパーチューブ(GPJ−50)
0.25
42 EA-9500B01-00 CABLE BAND
束線バンド
2
43
#01
401-08096 FEEDER BANK UNIT R
フィーダバンク組R
1
44
#02
401-48053 FEEDER BANK R
フィーダバンクR
1
45
#01
E9632-715-F00 ZIPPER TUBE (GPJ-50)
ジッパーチューブ(GPJ−50)
(0.25)
46 400-77377 FEEDER BANK ASM
フィーダバンク組
(1)
47
#02
401-48051 FEEDER BANK UNIT
フィーダバンクユニット
(1)
48
#02
401-48029 FEEDER_BANK_ASSY
フィーダバンク組
(1)
49 E2602-727-000 PLATE STAND L
プレートスタンドL
(1)
50 E2603-727-000 PLATE STAND R
プレートスタンドR
(1)
51 SL-6052092-TN SCREW
座金付き六角穴ボルト
(4)
52
#01
400-77285 FIXING PLATE
フィキシングプレート
(1)
53
#02
401-48030 FIXING_PLATE
フィキシングプレート
(1)
54 SL-6041292-TN SCREW
座金付き六角穴ボルト
(5)
55 400-77286 LOCK SHAFT
ロックシャフト
(1)
56 SM-6040802-TN SCREW
六角穴ボルト M4X0.7 L=8
(13)
57 E2513-729-000-A FIXING PLATE B
フィクシングプレートB
(3)
58 SM-4040655-SN SCREW M4X0.7 L=6
なべ小ねじ M4 L=6
(6)
59 400-77283 FEEDER BANK BASE
フィーダバンクベース
(1)
60 400-77287 DRIVE CYLINDER BR
ドライブシリンダブラケット
(1)
61 SM-1051052-TN SCREW
皿ねじ M5 L=10
(6)
62 400-63859 DRIVE CYLINDER
ドライブシリンダ
(1)
63 SL-6051292-TN BOLT
座金付き六角穴ボルト
(6)
64 400-77397 NUMBER PLATE
ナンバープレート
(1)
65 SM-6030552-KS SCREW
平ねじ M3 L=5
(9)
66 PJ-3080600-03 Y UNION
ユニオンY
(1)
67 400-77278 FEEDER BANK SHIM 0.2
フィーダバンクシム 0.2
(4)
68 400-77279 FEEDER BANK SHIM 0.1
フィーダバンクシム 0.1
(4)
69 400-77280 FEEDER BANK SHIM 0.05
フィーダバンクシム 0.05
(4)
70 400-77281 FEEDER BANK SHIM 0.02
フィーダバンクシム 0.02
(4)
71 EA-9500B01-00 CABLE BAND
束線バンド
(3)
72 SL-6082592-TN BOLT
座金付き六角穴ボルト
(4)
73 400-77349 POSITION LABEL R
ポジションラベル R
(1)
74
#03
401-08120 FEEDER FROAT SENSOR ASSY R
フィーダ浮きセンサ組R
1
75 401-07828 FSD BRACKET
FSDブラケット
(2)
76 EA-9500B01-00 CABLE BAND
束線バンド
(4)
77 401-07231 FD-FLOAT(RR)RECEIVE SENS ASM
FD−FLOAT(RR)受光センサ組
(1)
78 401-07234 FD-FLOAT(RF)RECEIVE SENS ASM
FD−FLOAT(RF)受光センサ組
(1)
79 401-07232 FD-FLOAT(RF) SENS ASM
FD−FLOAT(RF)投光センサ組
(1)
80 SM-4040601-SC SCREW M4X0.7 L=6
なべ小ねじ M4X0.7 L=6
(2)
81 HX-0029400-00 FIXED BASE
固定ベース
(2)
82 SL-4020881-SC SCREW M2 X 8
なべねじセムス M2 L=8
(8)
83 401-07235 FD-FLOAT(RR) SENS ASM
FD−FLOAT(RR)投光センサ組
(1)
84 SL-6030692-TN SCREW M3 L=6
座金付き六角穴ボルト M3 L=6
(4)
85
#02
E9632-715-F00 ZIPPER TUBE (GPJ-50)
ジッパーチューブ(GPJ−50)
0.25
86
#02
EA-9500B01-00 CABLE BAND
束線バンド
2