00192661-01 - 第410页
7 Was ist zu tun ... Betriebsanleitung SIPLACE F5/F5 HM 7.9 Was Sie beachten sollten, um S purfehler zu ver meiden Softwareversion SR.407.xx Ausgabe 01/ 2001 DE 410 7.9 W as Sie beachten sollten, um S p urfehler zu verme…

Betriebsanleitung SIPLACE F5/F5 HM 7 Was ist zu tun ...
Softwareversion SR.407.xx Ausgabe 01/2001 DE 7.8 BE-Wechseltisch, fahrbar
409
7.8.3 BE-Wechseltisch andocken
WARNUNG 7
Überprüfen Sie, dass sich der Bestückkopf außerhalb des BE-Wechseltischbereichs befindet. 7
VORSICHT 7
Achten Sie beim Andocken des BE-Wechseltisches darauf, dass sich die BE-Tischplatte in ihrer
oberen Endstellung befindet und der Bügel (Pos. 7) nach oben geklappt ist. 7
Å Kürzen Sie die Leergurte der Förderer.
Å Kontrollieren Sie, dass die Auflagefläche (Pos. 10) für die BE-Tischplatte sauber ist.
Å Schieben Sie den BE-Wechseltisch vorsichtig in den Automaten ein.
Å Stecken Sie den Stecker der Druckluftversorgung (Pos. 3) an.
Å Schließen Sie das Steuerkabel (Pos. 1) an.
Å Schließen Sie das Stromversorgungskabel (Pos. 2) für den BE-Wechseltisch an.
Å Ziehen Sie gleichzeitig beide Betätigungsrohre (Pos. 6) in Ihre Richtung und klappen Sie da-
nach den Bügel (Pos. 7) des BE-Wechseltisches nach unten, um die BE-Wechseltischplatte
absenken zu können.
Å Prüfen Sie, ob sich die Zentrierbohrungen der BE-Tischplatte genau über den Zentrierbolzen
des Automaten befinden.
Å Drücken Sie den Taster (Pos. 5) so lange, bis sich die BE-Tischplatte in ihrer oberen Endstel-
lung befindet.
Å Lassen Sie den Taster los. Die BE-Tischplatte senkt sich ab.
Å Achten Sie darauf dass die Zentrierstifte in die Zentrierbohrungen der BE-Tischplatte greifen
und sich die BE-Tischplatte vollständig abgesenkt hat.
Å Klappen Sie den Bügel (Pos. 7) des BE-Wechseltisches nach oben.
Å Arretieren Sie beide Horizontalspanner (Pos. 11).
Å Schließen Sie die Seitenscheiben und die Schutzhaube.
Å Starten Sie den Automaten mit der Starttaste.

7 Was ist zu tun ... Betriebsanleitung SIPLACE F5/F5 HM
7.9 Was Sie beachten sollten, um Spurfehler zu vermeiden Softwareversion SR.407.xx Ausgabe 01/2001 DE
410
7.9 Was Sie beachten sollten, um Spurfehler zu
vermeiden
7.9.1 Allgemein
Å Achten Sie darauf, dass die Fördererbereiche sauber sind und sich keine losen Bauelemente
im Förderbereich bzw. unter den Förderern befinden.
Å Sorgen Sie dafür, dass die Stellflächen der Förderer und insbesondere die Magnetleiste der
BE-Tische sauber und eben sind.
Å Füllen Sie Bauelemente rechtzeitig nach.
Å Spleißen Sie die Gurte rechtzeitig. In der Regel bedeutet dies, dass Sie das Anspleißmaterial
vorbereiten, wenn noch ca. 1,5 m Gurt auf der Rolle sind.
Å Gehen Sie vorsichtig mit den Förderern um, wenn Sie diese auf den BE-Tisch einsetzen oder
von dort entfernen, da es sich um Präzisionsgeräte handelt.
Å Achten Sie beim Einsetzen der Förderer darauf, dass Sie nicht versehentlich die Programmtas-
ten betätigen. Dadurch könnte sich beispielsweise bei 8mm S-Förderern der Takt von 4 mm auf
2 mm verstellen.
Å Schließen Sie die Klappen an den Förderern, da diese im offenen Zustand leichter beschädigt
werden können.
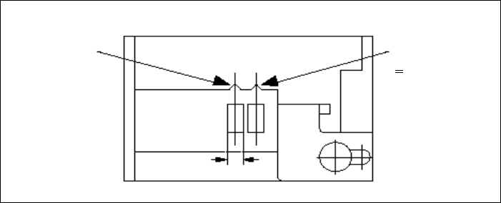
Å Überprüfen Sie, ob bei den S-Förderern alle BE abhängig von ihrer Größe von der richtigen
Position aus abgeholt werden (siehe nachfolgendes Beispiel).
Beispiel für 8mm S-Förderer 7
7
Å Prüfen Sie, ob die Stecker der Förderer an den richtigen Buchsen angeschlossen sind.
Abholposition für
Abholposition für
> 3 mm
Bauelemente
<
3 mm
Bauelemente
Breite

Betriebsanleitung SIPLACE F5/F5 HM 7 Was ist zu tun ...
Softwareversion SR.407.xx Ausgabe 01/2001 DE 7.9 Was Sie beachten sollten, um Spurfehler zu vermeiden
411
7.9.2 ... beim 8mm-S Förderer
Å Öffnen Sie nie die Abdeckklappe, ohne zuvor den Abdeckfolienabzug zu entlasten.
Å Stellen Sie die Abholposition und die Teilung des Gurts anhand der Kurzanleitung ein, die je-
dem Förderer beigefügt ist.
Å Führen Sie das Gurtmaterial über die Feder in das Förderer ein.
7.9.3 ... beim Gurtcontainer
Å Setzen Sie die Teilungsbleche richtig ein (siehe Abb. 7.5 - 2).
Å Versehen Sie große Gurtrollen mit Steckachsen.