00192661-01 - 第530页
11 Stationserweiterungen/Hardware Betriebsanleitung SIPLACE F5/F5 HM 11.9 Dispens-Flussm ittelauftrag Softwareversion S R.407.xx Ausgab e 01/2001 DE 530 Å Dr ü ck en Sie de n Flus smittelau ftrag an den seitl ichen An sc…

Betriebsanleitung SIPLACE F5/F5 HM 11 Stationserweiterungen/Hardware
Softwareversion SR.407.xx Ausgabe 01/2001 DE 11.9 Dispens-Flussmittelauftrag
529
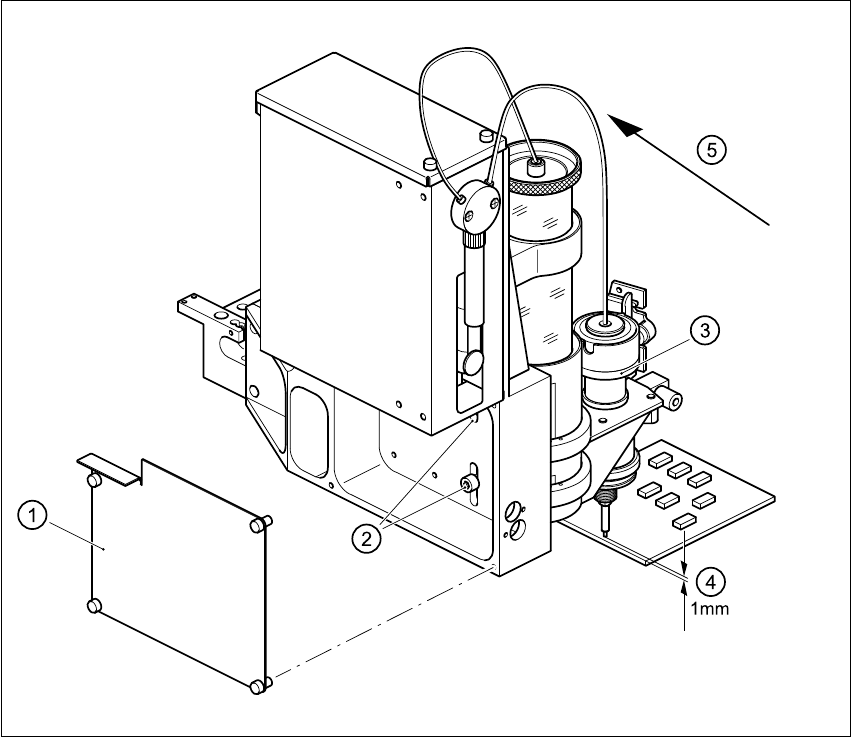
11.9.6.1 Abstand der Dosiernadel zur Leiterplatte einstellen
Abb. 11.9 - 5 Abstand Dosiernadel zur Leiterplatte einstellen
Å Lösen Sie die 4 Befestigungsschrauben für die hintere Abdeckung am Flussmittelauftrag und
entfernen Sie diese Abdeckung.
Å Lockern Sie die beiden Befestigungsschrauben an den Langlöchern.
Å Drücken Sie den Hubkolben nach unten und justieren Sie den Flussmittelauftrag so, dass der
Abstand zwischen Dosiernadelspitze und Leiterplatte 1 mm beträgt.
(1) Hintere Abdeckung mit vier Befestigungsschrauben
(2) Zwei Befestigungsschrauben des Flussmittelauftrags
(3) Hubkolben
(4) Abstand von 1 mm zur Leiterplatte einstellen
(5) Flussmittelauftrag auf Anschlag drücken komplett

11 Stationserweiterungen/Hardware Betriebsanleitung SIPLACE F5/F5 HM
11.9 Dispens-Flussmittelauftrag Softwareversion SR.407.xx Ausgabe 01/2001 DE
530
Å Drücken Sie den Flussmittelauftrag an den seitlichen Anschlag und ziehen Sie die Befesti-
gungsschrauben fest.
Å Montieren Sie die hintere Abdeckung.
11.9.7 Bedienoberfläche
HINWEIS
Damit das Flip-Chip-Bauelement bestückt und mit Flussmittelauftrag versehen werden kann,
muss ein Bestückprogramm mit Flip-Chip-Bauelementen am Linienrechner beschrieben und an
den Stationsrechner geschickt werden. Siehe Betriebsanleitung UNIX.
Die Option Flussmittelauftrag muss in den Maschinenoptionen, am Stationsrechner aktiviert
sein. Siehe Abschnitt 3.3.2.3 Menü "Optionen" der Betriebsanleitung. 11
11.9.7.1 GF-Liste und Parameter
Um Flussmittel zur Flip -Chip Bestückung auf eine Leiterplatte aufzubringen, müssen Prozess-
daten zum Flip- Chip in eine Liste und allgemeine Parameter über den Flussmittelauftrag, am
Stationsrechner eingetragen werden.
Å Wählen Sie in der Menüzeile des Menüs Optionen das Untermenü Flussmittelauftrag.
11
Abb. 11.9 - 6 Option Flussmittelauftrag

Betriebsanleitung SIPLACE F5/F5 HM 11 Stationserweiterungen/Hardware
Softwareversion SR.407.xx Ausgabe 01/2001 DE 11.9 Dispens-Flussmittelauftrag
531
11.9.7.2 GF-Liste bearbeiten
Å Wählen Sie das Menü „GF-Liste“, um Daten für das zu bestückende Flip-Chip- Bauelement
bearbeiten zu können.
Å Sie können in diesem Menü Flip-Chip-Bauelemente mit einer zugehörigen GF-Nr. hinzufügen
und editieren. Siehe Abb. 11.9 - 7
und 11.9 - 8.
11
Abb. 11.9 - 7 Flussmittelauftrag GF-Liste
(1) Schaltfläche ’Hinzufügen’
(2) Eingabefelder
Å Klicken Sie die Schaltfläche Hinzufügen um ein neues Bauelement für Flussmittelauftrag zu
beschreiben und geben Sie die Daten in die Eingabefelder ein.
Å Folgende Daten müssen Sie eingeben:
GF-Nr:
– Die Gehäuseformnummer des jeweiligen Bauelements.
– Sie können Gehäuseformnummern von 1 bis 32000 eingeben.
11
2 1