文档中心
/
Pipettes changer_20211124_033343
Pipettes changer_20211124_033343 - 第6页
Pipettes changer Page 6 / 9 24.11.2021
目录
100%
显示:宽度
宽度
1 / 9
回到旧版
旧版
?
Pipettes changer
Page 5 / 9
24.11.2021
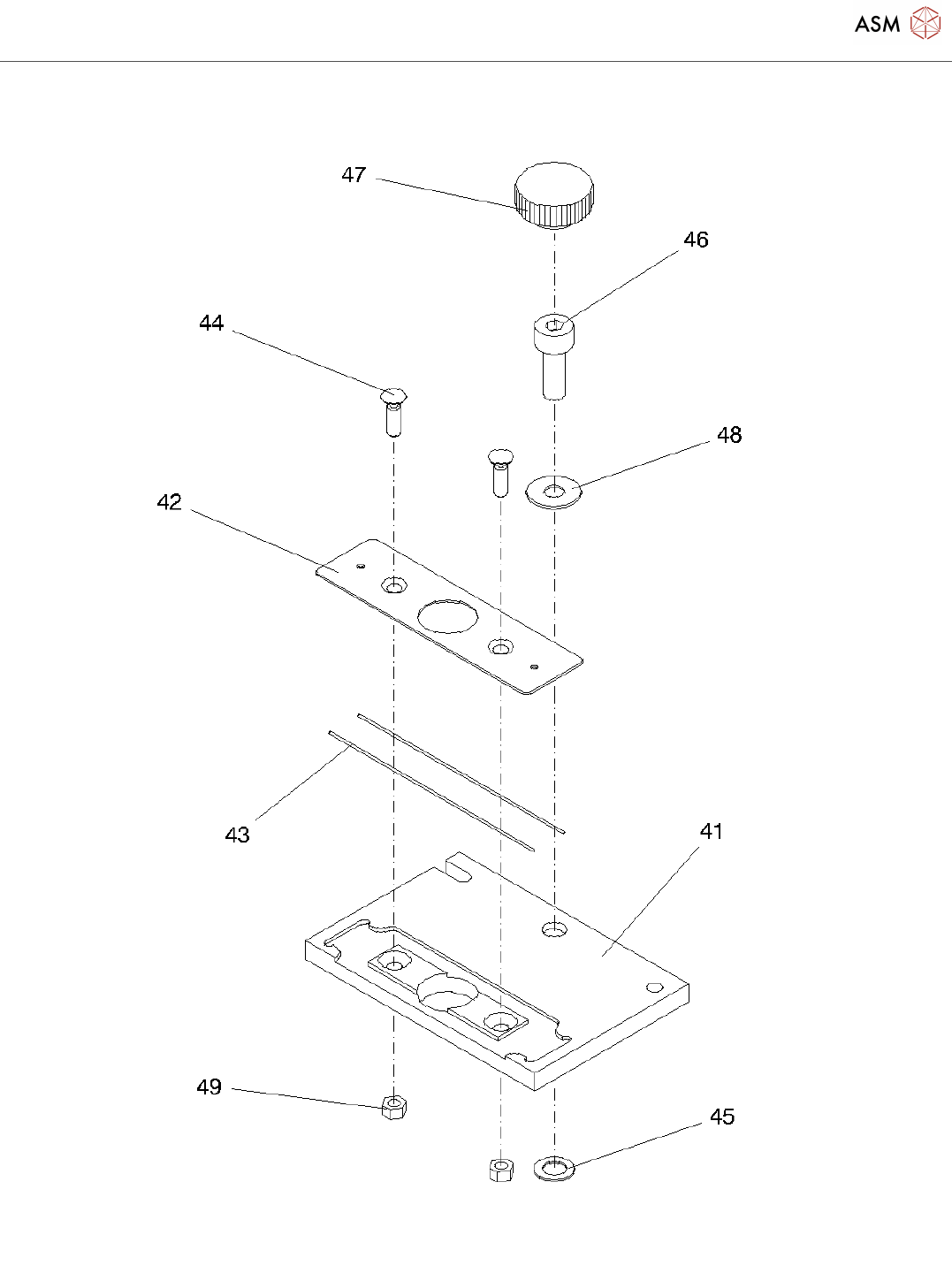
Pipettes changer
Page 6 / 9
24.11.2021
Pipettes changer
Page 7 / 9
24.11.2021
该页面需要启用 JavaScript 才能进行交互式预览。